TOP
|
特許
|
意匠
|
商標
特許ウォッチ
Twitter
他の特許を見る
10個以上の画像は省略されています。
公開番号
2025123591
公報種別
公開特許公報(A)
公開日
2025-08-25
出願番号
2024019090
出願日
2024-02-13
発明の名称
コネクタ
出願人
矢崎総業株式会社
代理人
弁理士法人虎ノ門知的財産事務所
主分類
H01R
13/52 20060101AFI20250818BHJP(基本的電気素子)
要約
【課題】止水部材の組み付けが円滑に行えるコネクタを提供することを目的とする。
【解決手段】コネクタ1は、相手方コネクタ90と嵌合するハウジング2と、ハウジング2に装着され相手方コネクタ90とハウジング2の間の止水を行う止水部材3と、を備え、ハウジング2は、相手方コネクタ90に対向する対向面2Aを嵌合方向に沿って窪ませた筒状の組付空間23を形成し、組付空間23の外周側の壁部から突出する係止突起4を有し、止水部材3は、組付空間23に配置され、環状の本体部31から外周側に突出する抜止め部32を有し、止水部材3の本体部31は、抜止め部32の基端部分の先端側に空洞部313を形成するように構成されている。
【選択図】図6
特許請求の範囲
【請求項1】
相手方コネクタと嵌合するハウジングと、
前記ハウジングに装着され前記相手方コネクタとハウジングの間の止水を行う止水部材と、を備え、
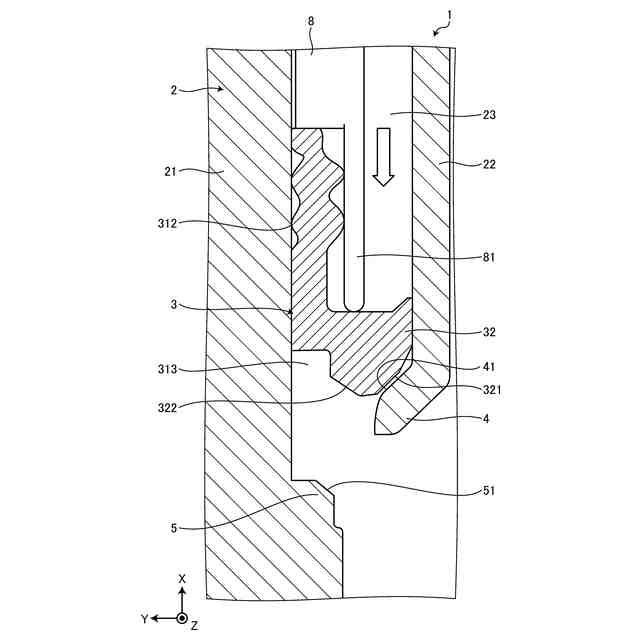
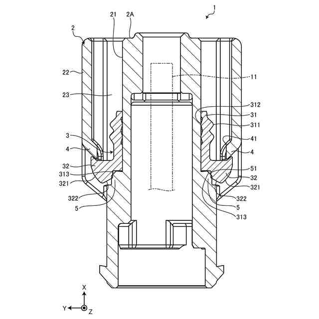
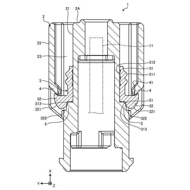
前記ハウジングは、相手方コネクタに対向する対向面を嵌合方向に沿って窪ませた筒状の組付空間を形成し、前記組付空間の外周側の壁部から突出する係止突起を有し、
前記止水部材は、前記組付空間に配置され、環状の本体部から外周側に突出する抜止め部を有し、
前記止水部材の前記本体部は、前記抜止め部の基端部分の先端側に空洞部を形成している、
コネクタ。
続きを表示(約 290 文字)
【請求項2】
前記抜止め部は、前記止水部材が前記組付空間へ装着される状態で前記係止突起と当接する角部分に湾曲面を形成している、
請求項1に記載のコネクタ。
【請求項3】
前記ハウジングは、前記組付空間の内周側の壁部から外周側へ突出し前記抜止め部と当接する突部を形成し、
前記突部は、入口側の角部分を面取りしたテーパ面を形成している、
請求項1又は2に記載のコネクタ。
【請求項4】
前記抜止め部は、前記組付空間へ装着される状態で前記テーパ面と当接する角部分にテーパ部を形成している、
請求項3に記載のコネクタ。
発明の詳細な説明
【技術分野】
【0001】
本発明は、コネクタに関する。
続きを表示(約 1,600 文字)
【背景技術】
【0002】
従来、コネクタとして、例えば、特許文献1に記載されるように、端子収容部の周りに環状の組付空間を形成するコネクタが知られている。このコネクタは、組付空間に止水部材を装着し、止水部材により嵌合される相手方コネクタとの止水を行っている。
【先行技術文献】
【特許文献】
【0003】
特開2006-147474号公報
【発明の概要】
【発明が解決しようとする課題】
【0004】
このコネクタにあっては、止水部材の装着が容易でない点で改善の余地がある。例えば、止水部材は、組付空間に装着された状態で組付空間から容易に抜け外れないように係止する必要がある。このため、止水部材を組付空間に対し係止した状態で装着するには止水部材の装着力が大きくなり、止水部材の組付空間への装着が困難となることがある。
【0005】
そこで、本発明は、止水部材の組み付けが円滑に行えるコネクタを提供することを目的とする。
【課題を解決するための手段】
【0006】
すなわち、本発明に係るコネクタは、相手方コネクタと嵌合するハウジングと、前記ハウジングに装着され前記相手方コネクタとハウジングの間の止水を行う止水部材と、を備え、前記ハウジングは、相手方コネクタに対向する対向面を嵌合方向に沿って窪ませた筒状の組付空間を形成し、前記組付空間の外周側の壁部から突出する係止突起を有し、前記止水部材は、前記組付空間に配置され、環状の本体部から外周側に突出する抜止め部を有し、前記止水部材の前記本体部は、前記抜止め部の基端部分の先端側に空洞部を形成するように構成されている。
【発明の効果】
【0007】
本発明に係るコネクタによれば、止水部材の組み付けを円滑に行うことができる。
【図面の簡単な説明】
【0008】
図1は、実施形態に係るコネクタの分解斜視図である。
図2は、実施形態に係るコネクタのハウジングを示す図である。
図3は、図2のIII-IIIにおけるハウジングの断面図である。
図4は、実施形態に係るコネクタの止水部材の斜視図である。
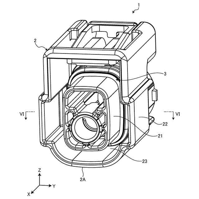
図5は、実施形態に係るコネクタの斜視図である。
図6は、図5のVI-VIにおけるコネクタの断面図である。
図7は、実施形態に係るコネクタの組付の説明図である。
図8は、実施形態に係るコネクタの組付の説明図である。
図9は、実施形態に係るコネクタの組付の説明図である。
図10は、実施形態に係るコネクタの組付の説明図である。
【発明を実施するための形態】
【0009】
以下に、本発明に係る実施形態を図面に基づいて詳細に説明する。なお、この実施形態により本発明が限定されるものではない。また、下記実施形態における構成要素には、当業者が置換可能かつ容易なもの、あるいは実質的に同一のものが含まれる。
【0010】
[実施形態]
本実施形態は、コネクタに関する。以下の説明では、互いに交差する第一方向、第二方向、及び、第三方向のうち、第一方向を「接続方向X」といい、第二方向を「幅方向Y」といい、第三方向を「高さ方向Z」という。ここでは、接続方向Xと幅方向Yと高さ方向Zとは、相互に直交する。接続方向Xは、コネクタと相手方コネクタの接続方向及び嵌合方向に相当する。幅方向Yと高さ方向Zとは、接続方向Xと交差する交差方向に相当する。また、以下の説明で用いる各方向は、特に断りのない限り、各部が相互に組み付けられた状態での方向を表すものとする。なお、ここでいう直交は、ほぼ直交を含む。
(【0011】以降は省略されています)
この特許をJ-PlatPat(特許庁公式サイト)で参照する
関連特許
APB株式会社
蓄電セル
13日前
東ソー株式会社
絶縁電線
15日前
マクセル株式会社
電源装置
7日前
ローム株式会社
半導体装置
14日前
株式会社東芝
端子台
7日前
日新イオン機器株式会社
イオン源
23日前
株式会社GSユアサ
蓄電装置
今日
株式会社GSユアサ
蓄電装置
8日前
株式会社GSユアサ
蓄電装置
8日前
株式会社ホロン
冷陰極電子源
21日前
トヨタ自動車株式会社
バッテリ
13日前
トヨタ自動車株式会社
蓄電装置
8日前
日新イオン機器株式会社
基板処理装置
10日前
トヨタ自動車株式会社
冷却構造
15日前
北道電設株式会社
配電具カバー
13日前
日本特殊陶業株式会社
保持装置
16日前
甲神電機株式会社
変流器及び零相変流器
1日前
住友電装株式会社
コネクタ
15日前
株式会社トクヤマ
シリコンエッチング液
21日前
ローム株式会社
半導体装置
15日前
日本無線株式会社
レーダアンテナ
1日前
トヨタ自動車株式会社
電池パック
20日前
株式会社トクヤマ
シリコンエッチング液
21日前
トヨタ自動車株式会社
密閉型電池
9日前
日亜化学工業株式会社
半導体レーザ素子
10日前
株式会社デンソー
電子装置
10日前
トヨタ自動車株式会社
電池パック
20日前
株式会社半導体エネルギー研究所
二次電池
20日前
富士電機株式会社
半導体モジュール
2日前
太陽誘電株式会社
コイル部品
23日前
株式会社村田製作所
二次電池
21日前
エイブリック株式会社
半導体集積回路装置
23日前
三協立山株式会社
バッテリーケース
14日前
マクセル株式会社
扁平形電池
14日前
株式会社東芝
高周波回路
16日前
株式会社デンソー
熱交換部材
1日前
続きを見る
他の特許を見る