TOP
|
特許
|
意匠
|
商標
特許ウォッチ
Twitter
他の特許を見る
10個以上の画像は省略されています。
公開番号
2025117289
公報種別
公開特許公報(A)
公開日
2025-08-12
出願番号
2024012046
出願日
2024-01-30
発明の名称
バスバ
出願人
矢崎総業株式会社
代理人
弁理士法人虎ノ門知的財産事務所
主分類
H01M
50/503 20210101AFI20250804BHJP(基本的電気素子)
要約
【課題】公差吸収構造を好適な場所に配置すること。
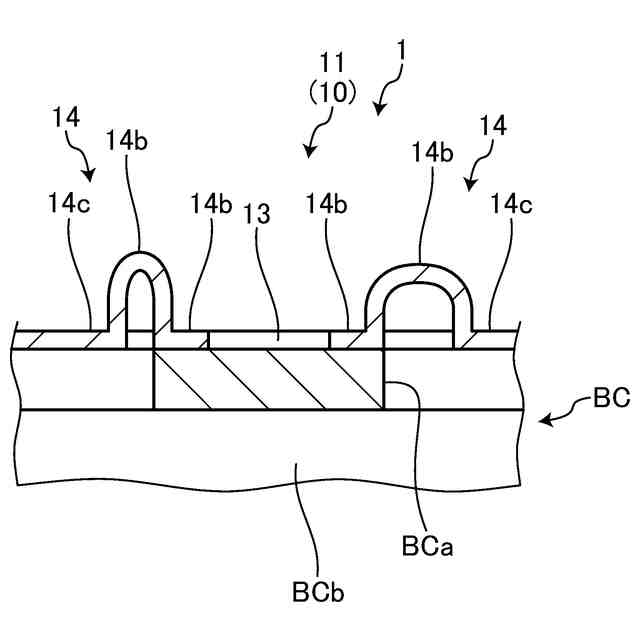
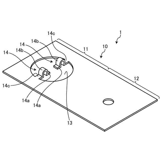
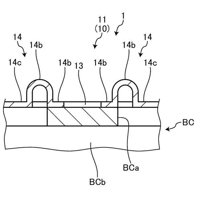
【解決手段】平板状に成形され、かつ、複数の電池セルBCが配列された電池モジュールBMにおける隣り合う一方の電池セルと他方の電池セルとの間に亘って配置されるバスバ本体10を備え、バスバ本体は、一方の電池セルの第1電極端子BCaを溶接対象とする第1端子接続体11と、他方の電池セルの第2電極端子BCaを溶接対象とする第2端子接続体12と、に二分され、第1端子接続体と第2端子接続体の内の少なくとも一方は、溶接対象の電極端子を露出させる貫通孔13と、貫通孔の外周縁部から孔中央に向けて突出させ、かつ、可撓性を持たせた可撓部14と、を有し、可撓部は、溶接対象の電極端子に溶接する端子溶接部14aと、端子溶接部と貫通孔の外周縁部側の固定端との間に設け、自身の突出方向及びその逆方向に弾性変形可能なバネ部14bと、を有すること。
【選択図】図1
特許請求の範囲
【請求項1】
平板状に成形され、かつ、複数の電池セルが配列された電池モジュールにおける隣り合う一方の前記電池セルと他方の前記電池セルとの間に亘って配置されるバスバ本体を備え、
前記バスバ本体は、一方の前記電池セルの第1電極端子を溶接対象とする第1端子接続体と、他方の前記電池セルの第2電極端子を溶接対象とする第2端子接続体と、に二分され、
前記第1端子接続体と前記第2端子接続体の内の少なくとも一方は、溶接対象の電極端子を露出させる貫通孔と、前記貫通孔の外周縁部から孔中央に向けて突出させ、かつ、可撓性を持たせた可撓部と、を有し、
前記可撓部は、溶接対象の電極端子に溶接する端子溶接部と、前記端子溶接部と前記貫通孔の外周縁部側の固定端との間に設け、自身の突出方向及びその逆方向に弾性変形可能なバネ部と、を有することを特徴としたバスバ。
続きを表示(約 2,400 文字)
【請求項2】
前記可撓部は、複数の前記電池セルの配列方向に対する直交方向で前記貫通孔の外周縁部から孔中央に向けて突出させた片持ち梁形状に形成され、
前記端子溶接部は、前記可撓部の自由端に設けることを特徴とした請求項1に記載のバスバ。
【請求項3】
前記可撓部は、複数の前記電池セルの配列方向で前記貫通孔の外周縁部から孔中央に向けて突出させた片持ち梁形状に形成され、
前記端子溶接部は、前記可撓部の自由端に設けることを特徴とした請求項1に記載のバスバ。
【請求項4】
前記第1端子接続体は、前記貫通孔としての第1貫通孔と、前記可撓部としての第1可撓部と、を有し、
前記第2端子接続体は、前記貫通孔としての第2貫通孔と、前記可撓部としての第2可撓部と、を有し、
前記第1可撓部は、複数の前記電池セルの配列方向に対する直交方向で前記第1貫通孔の外周縁部から孔中央に向けて突出させた片持ち梁形状に形成され、
前記第1可撓部の前記端子溶接部は、前記第1可撓部の自由端に設けて、前記第1電極端子に溶接され、
前記第2可撓部は、前記配列方向で前記第2貫通孔の外周縁部から孔中央に向けて突出させた片持ち梁形状に形成され、
前記第2可撓部の前記端子溶接部は、前記第2可撓部の自由端に設けて、前記第2電極端子に溶接されることを特徴とした請求項1に記載のバスバ。
【請求項5】
前記可撓部は、互いの突出方向を逆向きにして一対設けることを特徴とした請求項2,3又は4に記載のバスバ。
【請求項6】
前記貫通孔は、円形に形成され、
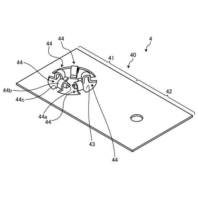
前記可撓部は、前記貫通孔の外周縁部から孔中央に向けて突出させた片持ち梁形状に形成され、かつ、前記貫通孔の周方向に一周に亘って等間隔で複数設け、
前記端子溶接部は、前記可撓部の自由端に設けることを特徴とした請求項1に記載のバスバ。
【請求項7】
前記可撓部は、複数の前記電池セルの配列方向に対する直交方向で前記貫通孔の外周縁部における互いに向かい合う2箇所から孔中央に向けて各々突出させた両持ち梁形状に形成され、
前記端子溶接部は、前記可撓部の中央で且つ前記貫通孔の孔中央に配置され、
前記バネ部は、前記端子溶接部と一方の固定端との間及び前記端子溶接部と他方の固定端との間に各々設けることを特徴とした請求項1に記載のバスバ。
【請求項8】
前記可撓部は、複数の前記電池セルの配列方向で前記貫通孔の外周縁部における互いに向かい合う2箇所から孔中央に向けて各々突出させた両持ち梁形状に形成され、
前記端子溶接部は、前記可撓部の中央で且つ前記貫通孔の孔中央に配置され、
前記バネ部は、前記端子溶接部と一方の固定端との間及び前記端子溶接部と他方の固定端との間に各々設けることを特徴とした請求項1に記載のバスバ。
【請求項9】
前記第1端子接続体は、前記貫通孔としての第1貫通孔と、前記可撓部としての第1可撓部と、を有し、
前記第2端子接続体は、前記貫通孔としての第2貫通孔と、前記可撓部としての第2可撓部と、を有し、
前記第1可撓部は、複数の前記電池セルの配列方向に対する直交方向で前記第1貫通孔の外周縁部における互いに向かい合う2箇所から孔中央に向けて各々突出させた両持ち梁形状に形成され、
前記第1可撓部の前記端子溶接部は、前記第1可撓部の中央で且つ前記第1貫通孔の孔中央に配置されて、前記第1電極端子に溶接され、
前記第1可撓部の前記バネ部は、前記第1可撓部における前記端子溶接部と一方の固定端との間及び前記端子溶接部と他方の固定端との間に各々設け、
前記第2可撓部は、前記配列方向で前記第2貫通孔の外周縁部における互いに向かい合う2箇所から孔中央に向けて各々突出させた両持ち梁形状に形成され、
前記第2可撓部の前記端子溶接部は、前記第2可撓部の中央で且つ前記第2貫通孔の孔中央に配置されて、前記第2電極端子に溶接され、
前記第2可撓部の前記バネ部は、前記第2可撓部における前記端子溶接部と一方の固定端との間及び前記端子溶接部と他方の固定端との間に各々設けることを特徴とした請求項1に記載のバスバ。
【請求項10】
平板状に成形され、かつ、複数の電池セルが配列された電池モジュールにおける隣り合う一方の前記電池セルと他方の前記電池セルとの間に亘って配置される第1バスバ本体と、
前記第1バスバ本体に対して物理的且つ電気的に接続される第2バスバ本体と、
を備え、
前記第1バスバ本体は、一方の前記電池セルの第1電極端子を露出させる切欠き部又は貫通孔部を有し、前記第1電極端子が前記第2バスバ本体を介して電気接続される第1端子接続体と、他方の前記電池セルの第2電極端子を溶接対象とする第2端子接続体と、に二分され、
前記第2バスバ本体は、前記第1端子接続体の前記切欠き部又は前記貫通孔部に配置され、かつ、前記第1電極端子に溶接する端子溶接部と、前記第1端子接続体に溶接する第1バスバ溶接部と、前記第1端子接続体に溶接する第2バスバ溶接部と、前記端子溶接部と前記第1バスバ溶接部との間に設け、前記端子溶接部と前記第1バスバ溶接部の配列方向及びその逆方向に弾性変形可能な第1バネ部と、前記端子溶接部と前記第2バスバ溶接部との間に設け、前記端子溶接部と前記第2バスバ溶接部の配列方向及びその逆方向に弾性変形可能な第2バネ部と、電池監視ユニットに電気接続させる回路導体に対して物理的且つ電気的に接続させる回路導体接続部と、を有することを特徴としたバスバ。
(【請求項11】以降は省略されています)
発明の詳細な説明
【技術分野】
【0001】
本発明は、バスバに関する。
続きを表示(約 3,100 文字)
【背景技術】
【0002】
従来、複数の電池セルが配列された電池モジュールにおいては、その配列方向で隣り合う電池セルのそれぞれの電極端子を1枚のバスバで物理的且つ電気的に接続させる。そのバスバは、一方の電極端子に対して物理的且つ電気的に接続させる第1端子接続体と、他方の電極端子に対して物理的且つ電気的に接続させる第2端子接続体と、を備える。一方、電池モジュールにおいては、電池セルの熱膨張や熱収縮に伴う端子間ピッチの設計公差の範囲内でのずれ、複数の電池セルの組付け公差ばらつきに伴う端子間ピッチの設計公差の範囲内でのずれを吸収するべく、その公差吸収構造をバスバに設けている。バスバには、第1端子接続体と第2端子接続体との間(言うなれば、複数の電池セルの配列方向における中央部分)に切り欠き等の肉抜き部による公差吸収構造を設けるなどして、端子間ピッチのずれを吸収させる。例えば、この種のバスバについては、下記の特許文献1に開示されている。
【先行技術文献】
【特許文献】
【0003】
特開2012-243689号公報
【発明の概要】
【発明が解決しようとする課題】
【0004】
ところで、バスバにおいては、その公差吸収構造を設ける第1端子接続体と第2端子接続体との間の中央部分が最も発熱し易いので、その中央部分の断面積を大きくするなどして耐熱性を高める必要がある。しかしながら、従来のバスバは、公差吸収構造と耐熱構造を同じ場所(中央部分)に設けることになり、その公差吸収構造の配置に関して改善の余地がある。
【0005】
そこで、本発明は、公差吸収構造を好適な場所に配置したバスバを提供することを、その目的とする。
【課題を解決するための手段】
【0006】
本発明は、平板状に成形され、かつ、複数の電池セルが配列された電池モジュールにおける隣り合う一方の前記電池セルと他方の前記電池セルとの間に亘って配置されるバスバ本体を備え、前記バスバ本体は、一方の前記電池セルの第1電極端子を溶接対象とする第1端子接続体と、他方の前記電池セルの第2電極端子を溶接対象とする第2端子接続体と、に二分され、前記第1端子接続体と前記第2端子接続体の内の少なくとも一方は、溶接対象の電極端子を露出させる貫通孔と、前記貫通孔の外周縁部から孔中央に向けて突出させ、かつ、可撓性を持たせた可撓部と、を有し、前記可撓部は、溶接対象の電極端子に溶接する端子溶接部と、前記端子溶接部と前記貫通孔の外周縁部側の固定端との間に設け、自身の突出方向及びその逆方向に弾性変形可能なバネ部と、を有することを特徴とする。
【0007】
また、本発明は、平板状に成形され、かつ、複数の電池セルが配列された電池モジュールにおける隣り合う一方の前記電池セルと他方の前記電池セルとの間に亘って配置される第1バスバ本体と、前記第1バスバ本体に対して物理的且つ電気的に接続される第2バスバ本体と、を備え、前記第1バスバ本体は、一方の前記電池セルの第1電極端子を露出させる切欠き部又は貫通孔部を有し、前記第1電極端子が前記第2バスバ本体を介して電気接続される第1端子接続体と、他方の前記電池セルの第2電極端子を溶接対象とする第2端子接続体と、に二分され、前記第2バスバ本体は、前記第1端子接続体の前記切欠き部又は前記貫通孔部に配置され、かつ、前記第1電極端子に溶接する端子溶接部と、前記第1端子接続体に溶接する第1バスバ溶接部と、前記第1端子接続体に溶接する第2バスバ溶接部と、前記端子溶接部と前記第1バスバ溶接部との間に設け、前記端子溶接部と前記第1バスバ溶接部の配列方向及びその逆方向に弾性変形可能な第1バネ部と、前記端子溶接部と前記第2バスバ溶接部との間に設け、前記端子溶接部と前記第2バスバ溶接部の配列方向及びその逆方向に弾性変形可能な第2バネ部と、電池監視ユニットに電気接続させる回路導体に対して物理的且つ電気的に接続させる回路導体接続部と、を有することを特徴とする。
【発明の効果】
【0008】
本発明に係るバスバは、斯様な構造のバスバ本体を備えることによって又は斯様な構造の第1バスバ本体と第2バスバ本体を備えることによって、バネ部を公差吸収構造として機能させる。例えば、このバスバは、隣り合う2つの電池セルのそれぞれの電極端子における配列方向での間隔(所謂端子間ピッチ)が設計公差の範囲内でずれていたとしても、その端子間ピッチのずれをバネ部で吸収することによって、それぞれの電極端子に対して溶接することができる。また、このバスバは、電池モジュールの使用中に電池セルの熱膨張や熱収縮で端子間ピッチが設計公差の範囲内でずれたり電極端子の位置が設計公差の範囲内でずれたりしたとしても、その端子間ピッチのずれや電極端子の位置ずれをバネ部で吸収することによって、電池セルの熱膨張や熱収縮に伴う設計公差の範囲内でのセル間ピッチのずれに追従させたり、電池セルの熱膨張や熱収縮に伴う設計公差の範囲内での電極端子の位置ずれに追従させたりすることができる。そして、本発明に係るバスバは、第1端子接続体と第2端子接続体との間の中央部分を避けた場所にバネ部(公差吸収構造)を設けるので、公差吸収構造に拘泥されることなく、その中央部分に耐熱構造を持たせることができる。更に、本発明に係るバスバは、電池セルの熱引きによる温度低減効果が最も高い電極端子との溶接箇所にバネ部(公差吸収構造)を設けるので、自身の発熱を抑えることができ、耐熱構造(つまり、中央部分の断面積)の小型化を図ることができる。
【図面の簡単な説明】
【0009】
図1は、実施形態における具体例1のバスバを示す斜視図である。
図2は、実施形態における具体例1のバスバの説明図である。
図3は、複数の電池セルの配列方向に対する直交方向に電極端子が位置ずれした際の可撓部の追従性の一例を示す説明図である。
図4は、第1端子接続体の平面(第1電極端子の平面)に対する直交方向に電極端子が位置ずれした際の可撓部の追従性の一例を示す説明図である。
図5は、実施形態における具体例2のバスバを示す斜視図である。
図6は、実施形態における具体例3のバスバを示す斜視図である。
図7は、実施形態における具体例4のバスバを示す斜視図である。
図8は、実施形態における具体例5のバスバを示す斜視図である。
図9は、実施形態における具体例6のバスバを示す斜視図である。
図10は、実施形態における具体例7のバスバを示す斜視図である。
図11は、電池モジュールの仕様の1つを示す斜視図である。
図12は、変形形態における具体例1のバスバを示す斜視図である。
図13は、変形形態における具体例1の第1バスバ本体の挟持部について説明する説明図である。
図14は、変形形態における具体例2のバスバを示す斜視図である。
【発明を実施するための形態】
【0010】
以下に、本発明に係るバスバの実施形態を図面に基づいて詳細に説明する。尚、この実施形態によりこの発明が限定されるものではない。
(【0011】以降は省略されています)
この特許をJ-PlatPat(特許庁公式サイト)で参照する
関連特許
日本発條株式会社
積層体
11日前
ローム株式会社
半導体装置
9日前
個人
防雪防塵カバー
11日前
ローム株式会社
半導体装置
2日前
ローム株式会社
半導体装置
9日前
ローム株式会社
半導体装置
7日前
ローム株式会社
半導体装置
9日前
株式会社GSユアサ
蓄電装置
11日前
株式会社GSユアサ
蓄電装置
7日前
株式会社ホロン
冷陰極電子源
7日前
オムロン株式会社
電磁継電器
1日前
太陽誘電株式会社
全固体電池
7日前
個人
半導体パッケージ用ガラス基板
10日前
日本特殊陶業株式会社
保持装置
11日前
ローム株式会社
電子装置
11日前
日本特殊陶業株式会社
保持装置
7日前
日本特殊陶業株式会社
保持装置
7日前
TDK株式会社
電子部品
7日前
トヨタ自動車株式会社
バッテリ
1日前
トヨタ自動車株式会社
二次電池
11日前
日東電工株式会社
積層体
1日前
日本特殊陶業株式会社
保持装置
9日前
日本製紙株式会社
導電性フィルム
1日前
日本特殊陶業株式会社
電極
7日前
ローム株式会社
半導体装置
11日前
住友電装株式会社
コネクタ
11日前
住友電装株式会社
コネクタ
11日前
住友電装株式会社
コネクタ
11日前
日本特殊陶業株式会社
電極
7日前
日本特殊陶業株式会社
電極
7日前
日本特殊陶業株式会社
電極
7日前
株式会社カネカ
正極活物質
11日前
住友電装株式会社
コネクタ
11日前
東レエンジニアリング株式会社
実装装置
1日前
日東電工株式会社
電子装置
3日前
SMK株式会社
キートップ及びスイッチ
2日前
続きを見る
他の特許を見る