TOP
|
特許
|
意匠
|
商標
特許ウォッチ
Twitter
他の特許を見る
公開番号
2025113520
公報種別
公開特許公報(A)
公開日
2025-08-04
出願番号
2024007718
出願日
2024-01-23
発明の名称
コネクタ
出願人
矢崎総業株式会社
代理人
弁理士法人虎ノ門知的財産事務所
主分類
H01R
13/44 20060101AFI20250728BHJP(基本的電気素子)
要約
【課題】端子構造の複雑化を抑制しつつ、端子に対する手指の接触を適切に抑制することができるコネクタを提供する。
【解決手段】コネクタ100は、電線10の末端部10aと電気的に接続された端子20と、電線の末端部を収容し、一端に形成された開口から端子を突出させたハウジング30と、ハウジング内に設けられた弾性部材40と、ハウジングの一端側に弾性部材に支持された状態で配置され、端子を収容し、ハウジング側とは反対側の端部50aに開口部50bを有するカバーハウジング50と、を備え、カバーハウジングは、カバーハウジングにハウジング側に向かう外力が作用することで、弾性部材を弾性変形させながらハウジングの開口からハウジング内に収容され、端子を開口部からカバーハウジングの外方に突出させる。
【選択図】図1
特許請求の範囲
【請求項1】
電線の末端部と電気的に接続された端子と、
前記電線の末端部を収容し、一端に形成された開口から前記端子を突出させたハウジングと、
前記ハウジング内に設けられた弾性部材と、
前記ハウジングの前記一端側に前記弾性部材に支持された状態で配置され、前記端子を収容し、前記ハウジング側とは反対側の端部に開口部を有するカバーハウジングと、
を備え、
前記カバーハウジングは、前記カバーハウジングに前記ハウジング側に向かう外力が作用することで、前記弾性部材を弾性変形させながら前記ハウジングの前記開口から前記ハウジング内に収容され、前記端子を前記開口部から前記カバーハウジングの外方に突出させる、
ことを特徴とするコネクタ。
続きを表示(約 630 文字)
【請求項2】
前記カバーハウジングは、前記カバーハウジングに作用する前記ハウジング側に向かう外力が解除されると、前記弾性部材の復元力によって、前記ハウジング内から前記端子を収容する位置まで移動する、
請求項1に記載のコネクタ。
【請求項3】
前記カバーハウジングは、前記ハウジングが相手方機器ユニットの端子挿入口の縁部に前記カバーハウジングを押し付けるように移動されることで前記ハウジング側に向かう外力が作用すると、端子突出位置まで移動して前記端子を前記開口部から前記端子挿入口内に突出させ、
前記カバーハウジングは、前記ハウジングが前記端子挿入口の前記縁部から離間する方向に移動されることで前記ハウジング側に向かう外力が解除されると、前記弾性部材の復元力によって端子収容位置まで移動して前記端子挿入口から抜去された前記端子を収容する、
請求項1に記載のコネクタ。
【請求項4】
前記端子を被覆し、前記端子と共に前記カバーハウジングに収容され、前記カバーハウジングに対して前記ハウジング側に向かう外力が作用することで、前記開口部から前記端子と共に前記カバーハウジングの外方に突出する端子カバーを更に備え、
前記端子は、一対の主面を有する平板形状に形成され、前記一対の主面のうちの一方である相手方端子接続面が前記端子カバーから露出している、
請求項1から3の何れか1項に記載のコネクタ。
発明の詳細な説明
【技術分野】
【0001】
本発明は、コネクタに関する。
続きを表示(約 1,600 文字)
【背景技術】
【0002】
例えば、特許文献1には、可動端子と、当該可動端子を常時上方に付勢するばね部材とを備えたスプリングコネクタに関する技術が開示されている。特許文献1のスプリングコネクタにおいては、可動端子が2つ設けられており、これらの可動端子は、独立して上下方向に摺動可能で、摺動方向に平行な平面内で独立して揺動可能に構成されている。そして、これらの可動端子の上端には、ハウジングの上端から突出して、可動端子と電気的に接続する端子と接触可能な線接触部を有する円弧状凸部が各々形成されており、これらの可動端子の下端には、ばね部材の押圧面に対して傾斜した傾斜面が各々形成されている。特許文献1においては、上記の構成により、接触抵抗が安定し、安定した導通性能を得ることが可能となるとされている。
【先行技術文献】
【特許文献】
【0003】
実用新案登録第320817号公報
【発明の概要】
【発明が解決しようとする課題】
【0004】
ところで、電気自動車等に用いられる高圧コネクタには、作業者の手指が端子(導通部)に接触することを防止する接触防止構造が採用されることがある。接触防止構造が採用されるコネクタにおいては、端子構造が複雑化することで、コネクタの製造コストが増加してしまう場合があった。コネクタにおいて、端子構造の複雑化を抑制しつつ、端子に対する手指の接触を適切に抑制することができることが望まれている。
【0005】
本発明の目的は、端子構造の複雑化を抑制しつつ、端子に対する手指の接触を適切に抑制することができるコネクタを提供することである。
【課題を解決するための手段】
【0006】
本発明のコネクタは、電線の末端部と電気的に接続された端子と、前記電線の末端部を収容し、一端に形成された開口から前記端子を突出させたハウジングと、前記ハウジング内に設けられた弾性部材と、前記ハウジングの前記一端側に前記弾性部材に支持された状態で配置され、前記端子を収容し、前記ハウジング側とは反対側の端部に開口部を有するカバーハウジングと、を備え、前記カバーハウジングは、前記カバーハウジングに前記ハウジング側に向かう外力が作用することで、前記弾性部材を弾性変形させながら前記ハウジングの前記開口から前記ハウジング内に収容され、前記端子を前記開口部から前記カバーハウジングの外方に突出させる。
【発明の効果】
【0007】
本発明に係るコネクタは、端子構造の複雑化を抑制しつつ、端子に対する手指の接触を適切に抑制することができるという効果を奏する。
【図面の簡単な説明】
【0008】
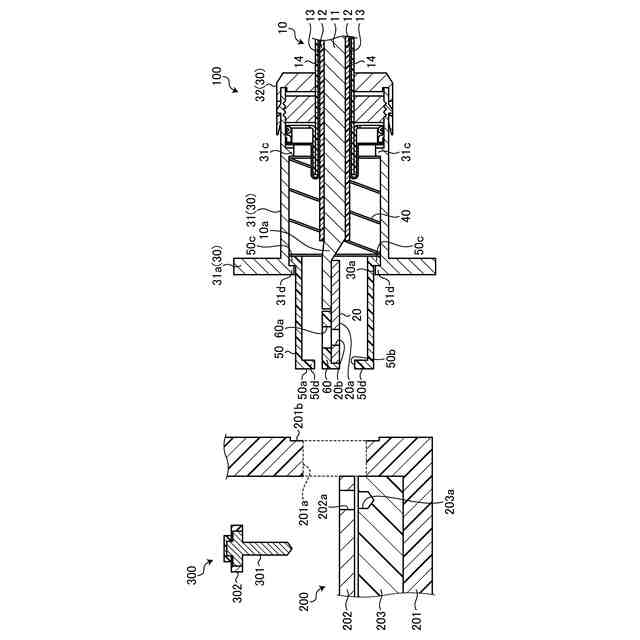
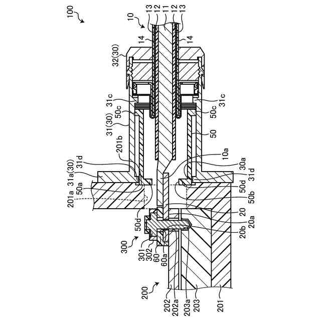
図1は、実施形態に係るコネクタを示す断面図である。
図2は、実施形態に係るコネクタを示す平面図である。
図3は、実施形態に係るコネクタと相手方機器ユニットとの接続状態を示す断面図である。
【発明を実施するための形態】
【0009】
以下に、本発明の実施形態に係るコネクタにつき図面を参照しつつ詳細に説明する。なお、この実施形態によりこの発明が限定されるものではない。また、下記の実施形態における構成要素には、当業者が容易に想定できるものあるいは実質的に同一のものが含まれる。
【0010】
[実施形態]
図1から図3を参照して、実施形態について説明する。図1は、実施形態に係るコネクタを示す断面図、図2は、実施形態に係るコネクタを示す平面図、図3は、実施形態に係るコネクタと相手方機器ユニットとの接続状態を示す断面図である。なお、図2は、図1において、相手方機器ユニット側から見たコネクタを示す平面図である。
(【0011】以降は省略されています)
この特許をJ-PlatPat(特許庁公式サイト)で参照する
関連特許
矢崎総業株式会社
箱状体
3日前
矢崎総業株式会社
箱状体
3日前
矢崎総業株式会社
コネクタ
1日前
矢崎総業株式会社
コネクタ
4日前
矢崎総業株式会社
コネクタ
10日前
矢崎総業株式会社
コネクタ
10日前
矢崎総業株式会社
止水部材
8日前
矢崎総業株式会社
照明構造
8日前
矢崎総業株式会社
コネクタ
8日前
矢崎総業株式会社
コネクタ
8日前
矢崎総業株式会社
コネクタ
2日前
矢崎総業株式会社
コネクタ
4日前
矢崎総業株式会社
コネクタ
4日前
矢崎総業株式会社
コネクタ
3日前
矢崎総業株式会社
コネクタ
3日前
矢崎総業株式会社
電気接続箱
3日前
矢崎総業株式会社
電気接続箱
3日前
矢崎総業株式会社
電気接続箱
3日前
矢崎総業株式会社
ゴムブーツ
8日前
矢崎総業株式会社
プロテクタ
8日前
矢崎総業株式会社
フラット導体
3日前
矢崎総業株式会社
電流検出装置
10日前
矢崎総業株式会社
バスバ配置構造
3日前
矢崎総業株式会社
コネクタユニット
9日前
矢崎総業株式会社
箱状体、及び、電気接続箱
3日前
矢崎総業株式会社
バッテリシェアリングシステム
4日前
矢崎総業株式会社
コネクタおよびワイヤハーネス
8日前
矢崎総業株式会社
コネクタおよびワイヤハーネス
8日前
矢崎総業株式会社
コネクタおよびワイヤハーネス
8日前
矢崎総業株式会社
電線間止水材及びワイヤハーネス
8日前
矢崎総業株式会社
基板コネクタ、及び、基板ユニット
12日前
矢崎総業株式会社
照明、照明と被取付部材との防水構造
8日前
矢崎総業株式会社
フラット導体及びフラット導体の製造方法
3日前
矢崎総業株式会社
ハウジングユニット、端子モジュール、及び、コネクタ
10日前
矢崎総業株式会社
加締型、端子付き電線の製造方法、及び、端子付き電線
4日前
矢崎総業株式会社
加締型、端子付き電線の製造方法、及び、端子付き電線
4日前
続きを見る
他の特許を見る