TOP
|
特許
|
意匠
|
商標
特許ウォッチ
Twitter
他の特許を見る
10個以上の画像は省略されています。
公開番号
2025141261
公報種別
公開特許公報(A)
公開日
2025-09-29
出願番号
2024041124
出願日
2024-03-15
発明の名称
基板コネクタ、及び、基板ユニット
出願人
矢崎総業株式会社
代理人
弁理士法人虎ノ門知的財産事務所
主分類
H01R
12/77 20110101AFI20250919BHJP(基本的電気素子)
要約
【課題】適正な組み付け状態を確保することができる基板コネクタ、及び、基板ユニットを提供することを目的とする。
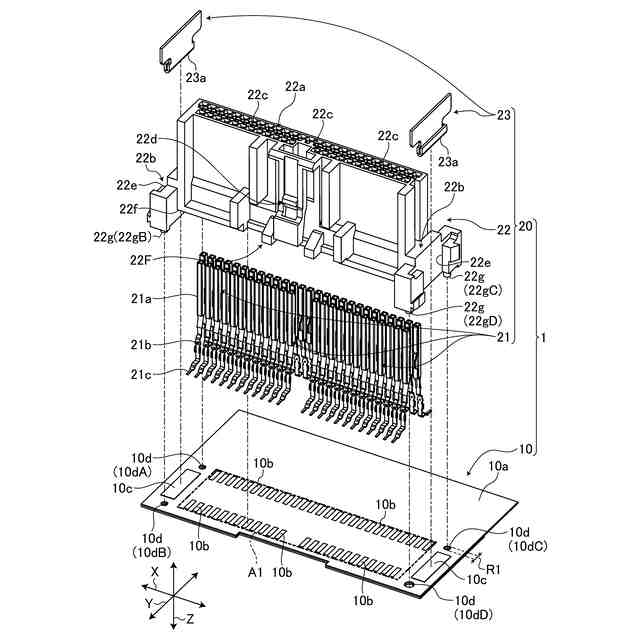
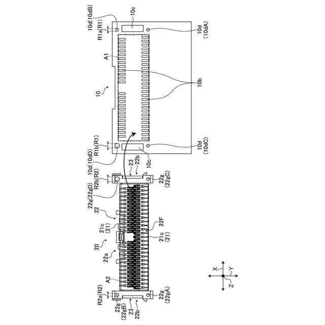
【解決手段】基板ユニット1は、複数のボス孔10dを有する基板10と、基板10に実装される基板コネクタ20とを備え、基板コネクタ20は、基板10に接続される実装端部21cを有する端子21と、基板対向面22Fに実装端部21cを露出させた状態で端子21を保持するハウジング22とを備え、ハウジング22は、基板対向面22Fにおいて実装端部21cの露出領域A2周りに複数配置され、かつ、基板対向面22Fに露出した実装端部21cより突出して形成されるボス22gを有し、複数のボス22gは、外径が相互に異なるものを含み、それぞれの外径に対応した内径で基板10に設けられるボス孔10dに挿通されることで基板10とハウジング22とを相対的に位置決め可能である。
【選択図】図5
特許請求の範囲
【請求項1】
基板に接続される実装端部を有する端子と、
基板対向面に前記実装端部を露出させた状態で前記端子を保持するハウジングとを備え、
前記ハウジングは、前記基板対向面において前記実装端部の露出領域周りに複数配置され、かつ、前記基板対向面に露出した前記実装端部より突出して形成されるボスを有し、
複数の前記ボスは、外径が相互に異なるものを含み、それぞれの前記外径に対応した内径で前記基板に設けられるボス孔に挿通されることで前記基板と前記ハウジングとを相対的に位置決め可能である、
基板コネクタ。
続きを表示(約 590 文字)
【請求項2】
複数の前記ボスと複数の前記ボス孔とは、それぞれの対応関係が予め定められた正規の対応関係と異なる場合、少なくとも1つの前記ボスが前記ボス孔に対して挿通不能である、
請求項1に記載の基板コネクタ。
【請求項3】
複数の前記ボスは、それぞれに対応して設けられる前記ボス孔に挿通された状態で、少なくとも2つの前記ボスの外周面と当該ボス孔の内周面とが接触する、
請求項1又は請求項2に記載の基板コネクタ。
【請求項4】
複数のボス孔を有する基板と、
前記基板に実装される基板コネクタとを備え、
前記基板コネクタは、
前記基板に接続される実装端部を有する端子と、
基板対向面に前記実装端部を露出させた状態で前記端子を保持するハウジングとを備え、
前記ハウジングは、前記基板対向面において前記実装端部の露出領域周りに複数配置され、かつ、前記基板対向面に露出した前記実装端部より突出して形成されるボスを有し、
複数の前記ボス孔は、内径が相互に異なるものを含み、
複数の前記ボスは、外径が相互に異なるものを含み、それぞれの前記外径に対応した前記内径で前記基板に設けられる前記ボス孔に挿通されることで前記基板と前記ハウジングとを相対的に位置決め可能である、
基板ユニット。
発明の詳細な説明
【技術分野】
【0001】
本発明は、基板コネクタ、及び、基板ユニットに関する。
続きを表示(約 2,100 文字)
【背景技術】
【0002】
例えば、特許文献1には、基板の表面に装着されるコネクタハウジングと、コネクタハウジングを貫通して延設される端子部材とを備える表面実装型コネクタが開示されている。端子部材は、相手側のコネクタ端子に接触する接触部と、接触部に連なってハウジングの端面から突設され、先端部が導電性の金属を介して基板に接合されるリード部とを有する。そして、リード部は、コネクタハウジングの構成材よりも低融点の溶融部材が充填された溶融部を貫通してコネクタハウジングから支持される。
【先行技術文献】
【特許文献】
【0003】
特開2009-129894号公報
【発明の概要】
【発明が解決しようとする課題】
【0004】
ところで、従来の基板コネクタでは、例えば、基板への組み付け前の状態において端子における基板との接合端部を保護しつつ、実際に基板へ組み付ける際には適正な組み付けが可能な構成が望まれている。
【0005】
本発明は、上記の事情に鑑みてなされたものであって、適正な組み付け状態を確保することができる基板コネクタ、及び、基板ユニットを提供することを目的とする。
【課題を解決するための手段】
【0006】
上記目的を達成するために、本発明に係る基板コネクタは、基板に接続される実装端部を有する端子と、基板対向面に前記実装端部を露出させた状態で前記端子を保持するハウジングとを備え、前記ハウジングは、前記基板対向面において前記実装端部の露出領域周りに複数配置され、かつ、前記基板対向面に露出した前記実装端部より突出して形成されるボスを有し、複数の前記ボスは、外径が相互に異なるものを含み、それぞれの前記外径に対応した内径で前記基板に設けられるボス孔に挿通されることで前記基板と前記ハウジングとを相対的に位置決め可能である。
【0007】
上記目的を達成するために、本発明に係る基板ユニットは、複数のボス孔を有する基板と、前記基板に実装される基板コネクタとを備え、前記基板コネクタは、前記基板に接続される実装端部を有する端子と、基板対向面に前記実装端部を露出させた状態で前記端子を保持するハウジングとを備え、前記ハウジングは、前記基板対向面において前記実装端部の露出領域周りに複数配置され、かつ、前記基板対向面に露出した前記実装端部より突出して形成されるボスを有し、複数の前記ボス孔は、内径が相互に異なるものを含み、複数の前記ボスは、外径が相互に異なるものを含み、それぞれの前記外径に対応した前記内径で前記基板に設けられる前記ボス孔に挿通されることで前記基板と前記ハウジングとを相対的に位置決め可能である。
【発明の効果】
【0008】
本発明に係る基板コネクタ、及び、基板ユニットは、適正な組み付け状態を確保することができる、という効果を奏する。
【図面の簡単な説明】
【0009】
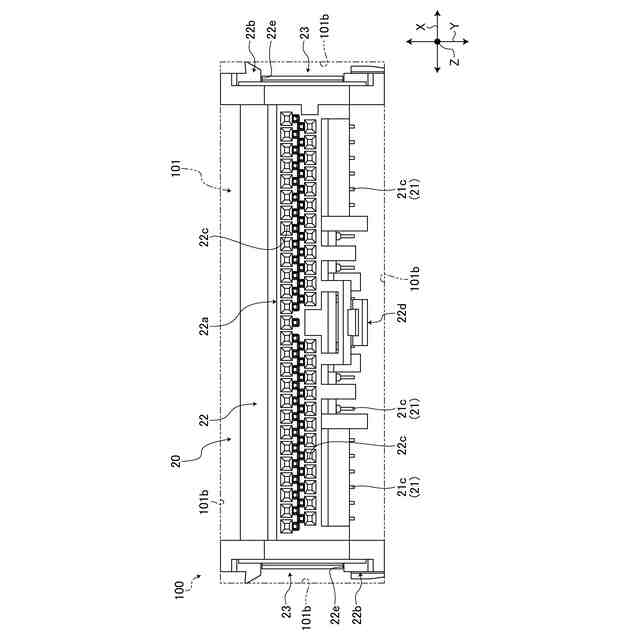
図1は、実施形態に係る基板ユニットの概略構成を表す斜視図である。
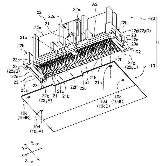
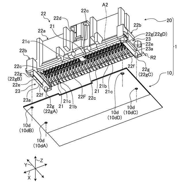
図2は、実施形態に係る基板ユニットの概略構成を表す分解斜視図である。
図3は、実施形態に係る基板ユニットの基板コネクタが備える端子の概略構成を表す斜視図である。
図4は、実施形態に係る基板ユニットの概略構成を表す分解斜視図である。
図5は、実施形態に係る基板ユニットの概略構成を表す分解斜視図である。
図6は、実施形態に係る基板コネクタを収容するトレーの概略構成を表す模式的な部分斜視図である。
図7は、実施形態に係る基板コネクタをトレーに収容した状態の一例を表す側面図である。
図8は、実施形態に係る基板コネクタをトレーに収容した状態の一例を表す平面図である。
図9は、実施形態に係る基板ユニットにおけるボス外径とボス孔内径との組み合わせパターンの一例を表す模式的な平面図である。
図10は、実施形態に係る基板ユニットにおけるボス外径とボス孔内径との組み合わせパターンの一例を表す模式的な平面図である。
図11は、実施形態に係る基板ユニットにおけるボス外径とボス孔内径との組み合わせパターンの一例を表す模式的な平面図である。
図12は、実施形態に係る基板ユニットにおけるボス孔に対するボスの挿通状態の一例を表す模式図である。
図13は、実施形態に係る基板ユニットにおけるボス孔に対するボスの挿通状態の一例を表す模式図である。
図14は、実施形態に係る基板ユニットにおける動作の一例を表す側面図である。
【発明を実施するための形態】
【0010】
以下に、本発明に係る実施形態を図面に基づいて詳細に説明する。なお、この実施形態によりこの発明が限定されるものではない。また、下記実施形態における構成要素には、当業者が置換可能かつ容易なもの、あるいは実質的に同一のものが含まれる。
(【0011】以降は省略されています)
この特許をJ-PlatPat(特許庁公式サイト)で参照する
関連特許
矢崎総業株式会社
照明灯
22日前
矢崎総業株式会社
コネクタ
22日前
矢崎総業株式会社
コネクタ
6日前
矢崎総業株式会社
コネクタ
22日前
矢崎総業株式会社
コネクタ
1日前
矢崎総業株式会社
コネクタ
1日前
矢崎総業株式会社
コネクタ
15日前
矢崎総業株式会社
コネクタ
15日前
矢崎総業株式会社
コネクタ
13日前
矢崎総業株式会社
コネクタ
7日前
矢崎総業株式会社
コネクタ
3日前
矢崎総業株式会社
カバー構造
22日前
矢崎総業株式会社
電気接続箱
6日前
矢崎総業株式会社
ドアハーネス
7日前
矢崎総業株式会社
電流検出装置
1日前
矢崎総業株式会社
シートハーネス
7日前
矢崎総業株式会社
フロアハーネス
7日前
矢崎総業株式会社
ワイヤハーネス
6日前
矢崎総業株式会社
ワイヤハーネス
3日前
矢崎総業株式会社
ワイヤハーネス
3日前
矢崎総業株式会社
ワイヤハーネス
3日前
矢崎総業株式会社
ワイヤハーネス
3日前
矢崎総業株式会社
バンドクランプ
6日前
矢崎総業株式会社
電子制御ユニット
7日前
矢崎総業株式会社
コネクタユニット
13日前
矢崎総業株式会社
コネクタユニット
今日
矢崎総業株式会社
電子制御ユニット
7日前
矢崎総業株式会社
ゴムブーツ、ワイヤハーネス
14日前
矢崎総業株式会社
電線保護材、ワイヤハーネス
14日前
矢崎総業株式会社
フレキシブルフラットケーブル
13日前
矢崎総業株式会社
ワイヤーハーネスのシールド構造
7日前
矢崎総業株式会社
ワイヤハーネス、及び、外装部材
3日前
矢崎総業株式会社
アンテナ装置、及びアンテナ筐体
3日前
矢崎総業株式会社
車載通信装置及び車載通信システム
15日前
矢崎総業株式会社
基板コネクタ、及び、基板ユニット
3日前
矢崎総業株式会社
包囲部材に対するバスバ挿入構造、補助部材
7日前
続きを見る
他の特許を見る