TOP
|
特許
|
意匠
|
商標
特許ウォッチ
Twitter
他の特許を見る
10個以上の画像は省略されています。
公開番号
2025141089
公報種別
公開特許公報(A)
公開日
2025-09-29
出願番号
2024040845
出願日
2024-03-15
発明の名称
アンテナ装置、及びアンテナ筐体
出願人
矢崎総業株式会社
代理人
個人
,
個人
主分類
H01Q
1/42 20060101AFI20250919BHJP(基本的電気素子)
要約
【課題】アンテナ利得の低下を抑制しながら筐体としての機能を保ち成形性も確保された筐体を備えるアンテナ装置、及び当該筐体としてのアンテナ筐体を提供する。
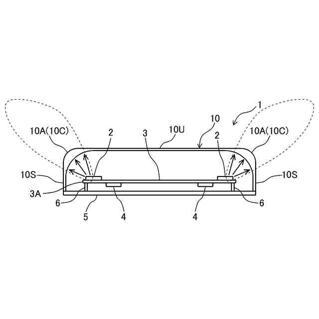
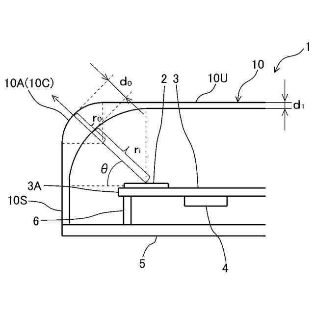
【解決手段】アンテナ装置1は、電波透過性を有する材料で形成された筐体10と、筐体10に収容され、筐体10の角部10Aの位置に主放射方向が設定されたアンテナ素子2とを備え、筐体10は、角部10Aを構成する曲面部10Cと、曲面部10Cに接続された上面部10U及び側面部10Sとを備え、筐体10の厚みは、上面部10U及び側面部10Sから曲面部10Cの中心にかけて漸次的に増加し、筐体10の内面は、上面部10U及び側面部10Sから曲面部10Cの中心まで無段差で連続的に繋がっている。
【選択図】図4
特許請求の範囲
【請求項1】
電波透過性を有する材料で形成された筐体と、
前記筐体に収容され、前記筐体の角部の位置に主放射方向が設定されたアンテナ素子と
を備え、
前記筐体は、
前記角部を構成する曲面部と、
前記曲面部に接続された平面部と
を備え、
前記筐体の厚みは、前記平面部から前記曲面部の中心にかけて漸次的に増加し、
前記筐体の内面は、前記平面部から前記曲面部の中心まで無段差で連続的に繋がっている
アンテナ装置。
続きを表示(約 670 文字)
【請求項2】
前記曲面部の中心における厚みは、前記アンテナ素子から放射された電波の前記筐体の内部における実効波長の1/2の整数倍である請求項1に記載のアンテナ装置。
【請求項3】
前記アンテナ素子と前記曲面部の中心との距離は、前記アンテナ素子から放射される電波の波長の1/2の整数倍である請求項1又は2に記載のアンテナ装置。
【請求項4】
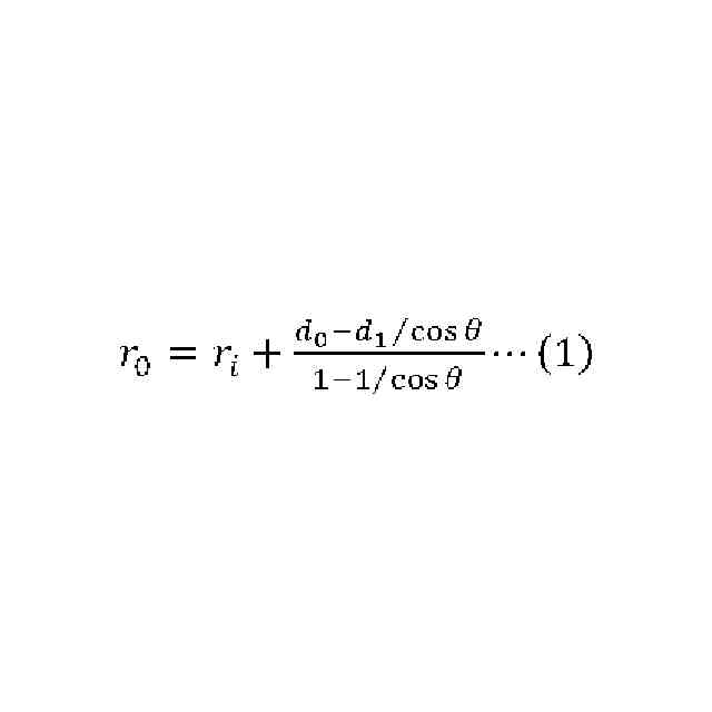
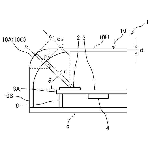
前記曲面部の中心における厚みは、下記(1)式を満足する請求項1又は2に記載のアンテナ装置。
TIFF
2025141089000003.tif
11
56
但し、r
0
は前記曲面部の外面の曲率半径であり、r
i
は前記曲面部の内面の曲率半径であり、d
0
は前記曲面部の中心における厚みであり、d
1
は前記平面部の厚みであり、θは前記アンテナ素子の主放射方向と前記アンテナ素子の放射面との角度である。
【請求項5】
電波透過性を有する材料で形成された筐体であり、当該筐体の角部の位置に主放射方向が設定されるアンテナ素子を収容するアンテナ筐体であって、
前記角部を構成する曲面部と、
前記曲面部に接続された平面部と
を備え、
前記筐体の厚みは、前記平面部から前記曲面部の中心にかけて漸次的に増加し、
前記筐体の内面は、前記平面部から前記曲面部の中心まで無段差で連続的に繋がっている
アンテナ筐体。
発明の詳細な説明
【技術分野】
【0001】
本発明は、アンテナ装置、及びアンテナ筐体に関する。
続きを表示(約 1,900 文字)
【背景技術】
【0002】
パッチアレイアンテナがレドームに収納されたアンテナ装置として、パッチアレイアンテナの中心から見て放射垂直面となす角度が-45°及び+45°の位置でレドームの厚みがステップ状に変化するように、レドームの内壁が形成されたものが知られている(例えば、特許文献1参照)。
【先行技術文献】
【特許文献】
【0003】
国際公開第2016/136927号
【発明の概要】
【発明が解決しようとする課題】
【0004】
特許文献1に記載のアンテナ装置では、アンテナ素子から放射された電波が当たるレドームの内壁面の形状がステップ状になっているため、電波の乱反射が起きる可能性がある。それにより、アンテナ素子の主放射方向以外の位置にサイドローブが発生する等、アンテナ素子の放射パターンが乱れ、アンテナ利得が低下することが考えられる。
【0005】
また、樹脂成形品であるレドームに厚みが急激に変化する箇所が存在しているため、樹脂成形の際に当該箇所付近に反りが発生し成形不良となる可能性がある。さらに、アンテナ利得を最大化するレドームの厚みは透過する電波の波長の1/2ということが知られているが、高周波帯域でのアンテナ利得を最大化するためのレドームの厚みは、成形不良となる恐れのある程に大きくなることが考えられる。
【0006】
本発明は、上記事情に鑑み、アンテナ利得の低下を抑制しながら筐体としての機能を保ち成形性も確保された筐体を備えるアンテナ装置、及び当該筐体としてのアンテナ筐体を提供することを目的とする。
【課題を解決するための手段】
【0007】
本発明のアンテナ装置は、電波透過性を有する材料で形成された筐体と、前記筐体に収容され、前記筐体の角部の位置に主放射方向が設定されたアンテナ素子とを備え、前記筐体は、前記角部を構成する曲面部と、前記曲面部に接続された平面部とを備え、前記筐体の厚みは、前記平面部から前記曲面部の中心にかけて漸次的に増加し、前記筐体の内面は、前記平面部から前記曲面部の中心まで無段差で連続的に繋がっている。
【0008】
本発明のアンテナ筐体は、電波透過性を有する材料で形成された筐体であり、当該筐体の角部の位置に主放射方向が設定されるアンテナ素子を収容するアンテナ筐体であって、前記角部を構成する曲面部と、前記曲面部に接続された平面部とを備え、前記筐体の厚みは、前記平面部から前記曲面部の中心にかけて漸次的に増加し、前記筐体の内面は、前記平面部から前記曲面部の中心まで無段差で連続的に繋がっている。
【発明の効果】
【0009】
本発明によれば、アンテナ利得の低下を抑制しながら筐体としての機能を保ち成形性も確保された筐体を備えるアンテナ装置、及び当該筐体としてのアンテナ筐体を提供することができる。
【図面の簡単な説明】
【0010】
図1は、本発明の一実施形態に係るアンテナ装置を示す断面図である。
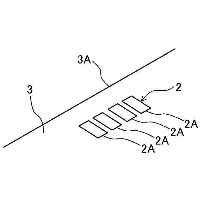
図2は、図1に示すアンテナ素子を示す斜視図である。
図3は、図2に示すアンテナ素子の放射パターンを示す図である。
図4は、図1に示すアンテナ装置の一部を拡大して示す断面図である。
図5は、アンテナ素子と筐体との関係を示す図である。
図6は、アンテナ素子と筐体との間の距離とアンテナ利得との関係についてのシミュレーションの結果を示すグラフである。
図7は、筐体の厚みがλで一様の場合におけるアンテナ素子と筐体との間の距離とアンテナ利得との関係についてのシミュレーションの結果を示すグラフである。
図8は、アンテナ素子と筐体との間の距離がλである場合におけるアンテナ素子の厚みとアンテナ利得との関係についてのシミュレーションの結果を示すグラフである。
図9は、アンテナ素子と筐体との間の距離がλでアンテナ素子の主放射方向以外の筐体の厚みが2mmである場合におけるアンテナ素子の主放射方向の筐体の厚みとアンテナ利得との関係についてのシミュレーションの結果を示すグラフである。
図10は、比較例に係るアンテナ装置の一部を拡大して示す断面図である。
図11は、図10に示すアンテナ装置の放射パターンを示す図である。
図12は、図1に示すアンテナ装置の放射パターンを示す図である。
【発明を実施するための形態】
(【0011】以降は省略されています)
この特許をJ-PlatPat(特許庁公式サイト)で参照する
関連特許
矢崎総業株式会社
端子
1か月前
矢崎総業株式会社
端子
1か月前
矢崎総業株式会社
照明灯
26日前
矢崎総業株式会社
雌端子
1か月前
矢崎総業株式会社
バスバ
1か月前
矢崎総業株式会社
箱状体
1か月前
矢崎総業株式会社
箱状体
1か月前
矢崎総業株式会社
コネクタ
2か月前
矢崎総業株式会社
コネクタ
7日前
矢崎総業株式会社
コネクタ
26日前
矢崎総業株式会社
コネクタ
26日前
矢崎総業株式会社
コネクタ
19日前
矢崎総業株式会社
コネクタ
10日前
矢崎総業株式会社
コネクタ
19日前
矢崎総業株式会社
コネクタ
1か月前
矢崎総業株式会社
コネクタ
11日前
矢崎総業株式会社
コネクタ
1か月前
矢崎総業株式会社
コネクタ
1か月前
矢崎総業株式会社
照明装置
1か月前
矢崎総業株式会社
コネクタ
1か月前
矢崎総業株式会社
コネクタ
1か月前
矢崎総業株式会社
コネクタ
26日前
矢崎総業株式会社
コネクタ
2か月前
矢崎総業株式会社
コネクタ
17日前
矢崎総業株式会社
コネクタ
3日前
矢崎総業株式会社
コネクタ
3日前
矢崎総業株式会社
照明構造
3日前
矢崎総業株式会社
コネクタ
1か月前
矢崎総業株式会社
止水部材
3日前
矢崎総業株式会社
配索構造
1か月前
矢崎総業株式会社
コネクタ
1か月前
矢崎総業株式会社
コネクタ
1か月前
矢崎総業株式会社
コネクタ
5日前
矢崎総業株式会社
コネクタ
5日前
矢崎総業株式会社
コネクタ
1か月前
矢崎総業株式会社
コネクタ
1か月前
続きを見る
他の特許を見る