TOP
|
特許
|
意匠
|
商標
特許ウォッチ
Twitter
他の特許を見る
10個以上の画像は省略されています。
公開番号
2025121439
公報種別
公開特許公報(A)
公開日
2025-08-20
出願番号
2024016797
出願日
2024-02-07
発明の名称
コネクタ
出願人
矢崎総業株式会社
代理人
弁理士法人虎ノ門知的財産事務所
主分類
H01R
13/64 20060101AFI20250813BHJP(基本的電気素子)
要約
【課題】意図せぬ嵌合完了状態の解消を抑止すること。
【解決手段】ハウジング20は、一対のロックアーム部22と、一対のロックアーム部のコネクタ嵌合方向における端部同士を繋ぎ、かつ、嵌合完了位置で相手方ハウジング520の相手方係止突起部521に係止させる係止保持部23と、一対のロックアーム部のコネクタ抜去方向における端部同士を繋ぐ連結部24と、コネクタ嵌合時に自らを撓ませて係止保持部を相手方係止突起部に乗り上げさせ、かつ、係止保持部が相手方係止突起部を乗り越えた嵌合完了位置で自らの撓みを解消させて、係止保持部を相手方係止突起部に係止させる可撓ロックアーム部25と、を有し、嵌合保証部材30は、本係止位置でロックアーム部を係止して、係止保持部と相手方係止突起部の係止状態を解消させるロックアーム部の動きを抑止するロックアーム係止部35を有すること。
【選択図】図3
特許請求の範囲
【請求項1】
電線の端末に端子金具が接続された端子付き電線と、
前記端子金具が収容され且つ前記電線が外方に引き出されるハウジング本体を有するハウジングと、
前記ハウジングが相手方ハウジングとの間で嵌合完了状態にあることを保証するために前記ハウジングに組み付けた部材であり、前記ハウジングが前記相手方ハウジングに対する嵌合完了位置のときに前記ハウジングに対して仮係止位置から本係止位置まで相対移動させ、かつ、前記ハウジングが前記相手方ハウジングに対する半嵌合位置のときに前記ハウジングに対して前記本係止位置まで相対移動させることなく前記仮係止位置に止まらせる嵌合保証部材と、
を備え、
前記ハウジングは、互いに間隔を空けて対向配置させ且つ前記相手方ハウジングに対するコネクタ挿抜方向に延在させた一対のロックアーム部と、一対の前記ロックアーム部のコネクタ嵌合方向における端部同士を繋ぎ、かつ、前記嵌合完了位置で前記相手方ハウジングの相手方係止突起部に係止させることによって、前記相手方ハウジングとの間で前記嵌合完了状態を保つ係止保持部と、一対の前記ロックアーム部のコネクタ抜去方向における端部同士を繋ぐ連結部と、一対の前記ロックアーム部の間で前記係止保持部から前記コネクタ抜去方向に延在させたその先で前記ハウジング本体に連結させ、かつ、コネクタ嵌合時に自らを撓ませて前記係止保持部を前記相手方係止突起部に乗り上げさせ、かつ、前記係止保持部が前記相手方係止突起部を乗り越えた前記嵌合完了位置で自らの撓みを解消させて、前記係止保持部を前記相手方係止突起部に係止させる可撓ロックアーム部と、を有し、
前記嵌合保証部材は、前記本係止位置で前記ロックアーム部を係止して、前記係止保持部と前記相手方係止突起部の係止状態を解消させる前記ロックアーム部の動きを抑止するロックアーム係止部を有することを特徴としたコネクタ。
続きを表示(約 510 文字)
【請求項2】
前記嵌合保証部材は、一対の前記ロックアーム部の対向配置方向で一対の前記ロックアーム部を外から覆うよう互いに間隔を空けて対向配置させ、その対向配置方向への撓み変形が可能な片持ち梁形状の一対の可撓部を有し、
前記ロックアーム係止部は、前記可撓部毎に前記可撓部の自由端から前記ロックアーム部に向けて突出させ、
前記ハウジングは、前記嵌合保証部材が前記仮係止位置から前記本係止位置へと相対移動する際に、前記可撓部を前記ロックアーム部に向けて撓ませることで前記可撓部の自由端の前記ロックアーム係止部を変位させる前記可撓部毎の傾斜面を有し、
前記ロックアーム部は、前記本係止位置で前記ロックアーム係止部に係止させることによって、前記係止保持部と前記相手方係止突起部の係止状態を解消させる自身の動きを抑止する被ロックアーム係止部を有することを特徴とした請求項1に記載のコネクタ。
【請求項3】
前記ロックアーム部は、前記本係止位置で前記ロックアーム係止部を侵入させた溝内の壁面を前記被ロックアーム係止部とする溝部を有することを特徴とした請求項2に記載のコネクタ。
発明の詳細な説明
【技術分野】
【0001】
本発明は、コネクタに関する。
続きを表示(約 2,900 文字)
【背景技術】
【0002】
従来、コネクタとしては、相手方コネクタに嵌合接続させ、嵌合完了位置で自身のハウジングの係止保持部を相手方ハウジングの相手方係止保持部に係止させることによって、相手方コネクタとの間で嵌合完了状態を保つものが知られている。この種のコネクタについては、例えば、下記の特許文献1に開示されている。
【先行技術文献】
【特許文献】
【0003】
国際公開第2019/045038号
【発明の概要】
【発明が解決しようとする課題】
【0004】
ところで、従来のコネクタにおいては、係止保持部を動かして相手方係止保持部との係止状態を解除することによって、自身を相手方コネクタから引き離し、相手方コネクタとの嵌合完了状態を解消することができる。よって、従来のコネクタは、不用意に係止保持部が動かされてしまうと、意図せずに相手方コネクタとの嵌合完了状態が解消されてしまう虞がある。
【0005】
そこで、本発明は、意図せぬ嵌合完了状態の解消を抑止し得るコネクタを提供することを、その目的とする。
【課題を解決するための手段】
【0006】
本発明は、電線の端末に端子金具が接続された端子付き電線と、前記端子金具が収容され且つ前記電線が外方に引き出されるハウジング本体を有するハウジングと、前記ハウジングが相手方ハウジングとの間で嵌合完了状態にあることを保証するために前記ハウジングに組み付けた部材であり、前記ハウジングが前記相手方ハウジングに対する嵌合完了位置のときに前記ハウジングに対して仮係止位置から本係止位置まで相対移動させ、かつ、前記ハウジングが前記相手方ハウジングに対する半嵌合位置のときに前記ハウジングに対して前記本係止位置まで相対移動させることなく前記仮係止位置に止まらせる嵌合保証部材と、を備え、前記ハウジングは、互いに間隔を空けて対向配置させ且つ前記相手方ハウジングに対するコネクタ挿抜方向に延在させた一対のロックアーム部と、一対の前記ロックアーム部のコネクタ嵌合方向における端部同士を繋ぎ、かつ、前記嵌合完了位置で前記相手方ハウジングの相手方係止突起部に係止させることによって、前記相手方ハウジングとの間で前記嵌合完了状態を保つ係止保持部と、一対の前記ロックアーム部のコネクタ抜去方向における端部同士を繋ぐ連結部と、一対の前記ロックアーム部の間で前記係止保持部から前記コネクタ抜去方向に延在させたその先で前記ハウジング本体に連結させ、かつ、コネクタ嵌合時に自らを撓ませて前記係止保持部を前記相手方係止突起部に乗り上げさせ、かつ、前記係止保持部が前記相手方係止突起部を乗り越えた前記嵌合完了位置で自らの撓みを解消させて、前記係止保持部を前記相手方係止突起部に係止させる可撓ロックアーム部と、を有し、前記嵌合保証部材は、前記本係止位置で前記ロックアーム部を係止して、前記係止保持部と前記相手方係止突起部の係止状態を解消させる前記ロックアーム部の動きを抑止するロックアーム係止部を有することを特徴とする。
【発明の効果】
【0007】
本発明に係るコネクタは、嵌合保証部材のロックアーム係止部が本係止位置でハウジングのロックアーム部を係止して、係止保持部と相手方係止突起部の係止状態を解消させるだけのロックアーム部の動きを抑止する。従って、このコネクタは、相手方コネクタとの嵌合完了状態を維持し続けることができる。
【図面の簡単な説明】
【0008】
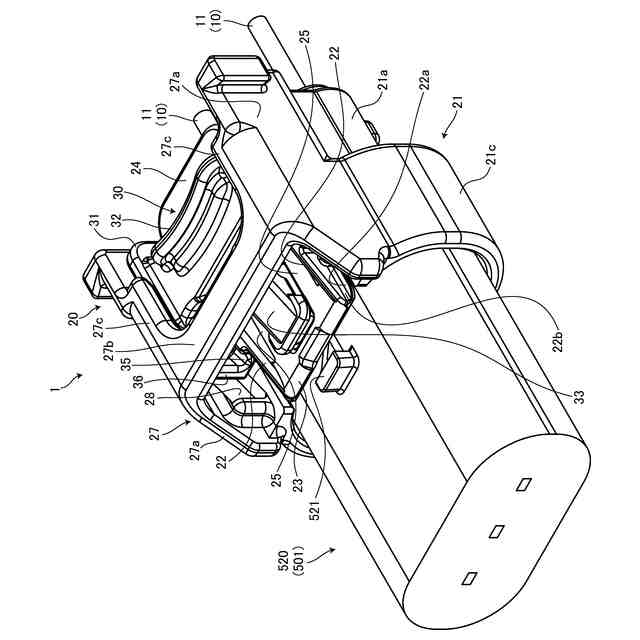
図1は、実施形態のコネクタを嵌合前の相手方コネクタと共に示す斜視図である。
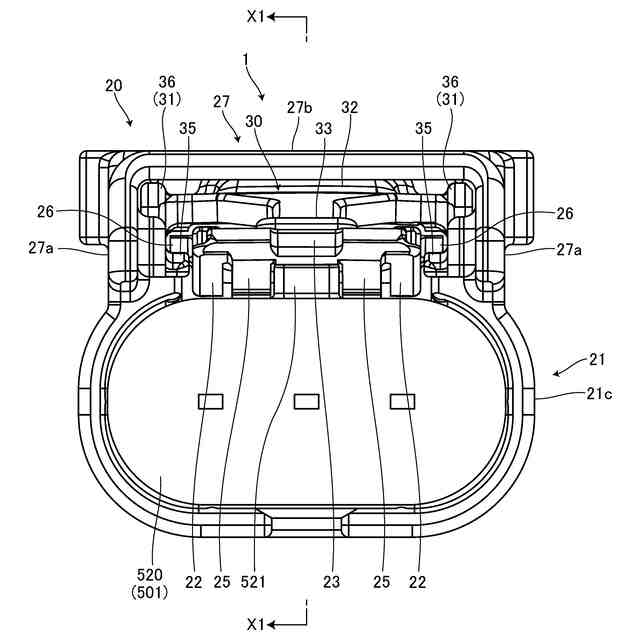
図2は、実施形態のコネクタを上方から見た平面図である。
図3は、実施形態のコネクタを示す分解斜視図である。
図4は、半嵌合状態のコネクタと相手方コネクタの斜視図であり、係止保持部と相手方係止突起部の接触開始点を示している。
図5は、半嵌合状態のコネクタと相手方コネクタを相手方コネクタ側から見た平面図であり、係止保持部と相手方係止突起部の接触開始点を示している。
図6は、半嵌合状態のコネクタと相手方コネクタの斜視図であり、係止保持部が相手方係止突起部に乗り上げた状態を示している。
図7は、半嵌合状態のコネクタと相手方コネクタを相手方コネクタ側から見た平面図であり、係止保持部が相手方係止突起部に乗り上げた状態を示している。
図8は、嵌合完了状態のコネクタと相手方コネクタの斜視図であり、係止突起部が相手方係止突起部に乗り上げた仮係止位置の嵌合保証部材を示している。
図9は、嵌合完了状態のコネクタと相手方コネクタを相手方コネクタ側から見た平面図であり、係止突起部が相手方係止突起部に乗り上げた仮係止位置の嵌合保証部材を示している。
図10は、嵌合完了状態のコネクタと相手方コネクタの斜視図であり、本係止位置の嵌合保証部材を示している。
図11は、嵌合完了状態のコネクタと相手方コネクタを相手方コネクタ側から見た平面図であり、本係止位置の嵌合保証部材を示している。
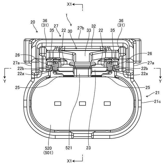
図12は、図5のX1-X1線断面の部分拡大図である。
図13は、図7のX1-X1線断面の部分拡大図である。
図14は、図9のX1-X1線断面の部分拡大図である。
図15は、図11のX1-X1線断面の部分拡大図である。
図16は、図5のY-Y線断面の部分拡大図である。
図17は、図11のY-Y線断面の部分拡大図である。
図18は、嵌合完了状態のコネクタと相手方コネクタの平面図であり、嵌合保証部材が本係止位置のままで連結部が押し下げられた状態を示している。
図19は、図18のX1-X1線断面の部分拡大図である。
図20は、図18のX2-X2線断面の部分拡大図である。
【発明を実施するための形態】
【0009】
以下に、本発明に係るコネクタの実施形態を図面に基づいて詳細に説明する。尚、この実施形態によりこの発明が限定されるものではない。
【0010】
[実施形態]
嵌合コネクタには、相互間での挿入動作に伴い互いに嵌め合わされる2つのコネクタ(第1コネクタと第2コネクタ)が設けられている。この嵌合コネクタにおいては、その挿入嵌合動作と共に双方のコネクタの端子金具同士が嵌合されて、その端子金具同士が物理的且つ電気的に接続される。一方、この嵌合コネクタにおいては、それぞれのコネクタが相互間での抜去動作に伴い引き離され、これに伴い、双方の端子金具同士の物理的且つ電気的な接続が解消される。その挿入方向と抜去方向は、互いに逆向きになっている。以下においては、自らの相手方への挿入嵌合方向を「コネクタ嵌合方向」と称し、自らの相手方からの抜去方向を「コネクタ抜去方向」と称する。また、これらの双方向の向きを特定しない場合には、これを「コネクタ挿抜方向」と称する。
(【0011】以降は省略されています)
この特許をJ-PlatPat(特許庁公式サイト)で参照する
関連特許
矢崎総業株式会社
端子
1か月前
矢崎総業株式会社
電線
2か月前
矢崎総業株式会社
治具
2か月前
矢崎総業株式会社
端子
1か月前
矢崎総業株式会社
導電体
2か月前
矢崎総業株式会社
箱状体
1か月前
矢崎総業株式会社
導電体
2か月前
矢崎総業株式会社
バスバ
1か月前
矢崎総業株式会社
照明灯
21日前
矢崎総業株式会社
箱状体
1か月前
矢崎総業株式会社
雌端子
1か月前
矢崎総業株式会社
コネクタ
1か月前
矢崎総業株式会社
コネクタ
14日前
矢崎総業株式会社
コネクタ
26日前
矢崎総業株式会社
コネクタ
2か月前
矢崎総業株式会社
コネクタ
2か月前
矢崎総業株式会社
コネクタ
2か月前
矢崎総業株式会社
コネクタ
1か月前
矢崎総業株式会社
コネクタ
14日前
矢崎総業株式会社
コネクタ
26日前
矢崎総業株式会社
巻付装置
2か月前
矢崎総業株式会社
コネクタ
2か月前
矢崎総業株式会社
コネクタ
2か月前
矢崎総業株式会社
コネクタ
21日前
矢崎総業株式会社
コネクタ
26日前
矢崎総業株式会社
コネクタ
21日前
矢崎総業株式会社
コネクタ
21日前
矢崎総業株式会社
コネクタ
12日前
矢崎総業株式会社
コネクタ
2か月前
矢崎総業株式会社
コネクタ
2か月前
矢崎総業株式会社
コネクタ
2か月前
矢崎総業株式会社
コネクタ
今日
矢崎総業株式会社
コネクタ
今日
矢崎総業株式会社
配索構造
1か月前
矢崎総業株式会社
車体構造
2か月前
矢崎総業株式会社
コネクタ
1か月前
続きを見る
他の特許を見る