TOP
|
特許
|
意匠
|
商標
特許ウォッチ
Twitter
他の特許を見る
10個以上の画像は省略されています。
公開番号
2025140437
公報種別
公開特許公報(A)
公開日
2025-09-29
出願番号
2024039845
出願日
2024-03-14
発明の名称
ワイヤハーネス
出願人
矢崎総業株式会社
代理人
弁理士法人虎ノ門知的財産事務所
主分類
H02G
3/04 20060101AFI20250919BHJP(電力の発電,変換,配電)
要約
【課題】フラット配索材の歩留まりを向上させることができるワイヤハーネスを提供する。
【解決手段】ワイヤハーネス1は、フラット配索材100と、フラット配索材の第一の部分110を収容する第一ケース10と、第二の部分120を収容する第二ケース20と、を備え、第一の部分および第二の部分は、同じ延在方向Xに延在しており、第一ケースは、第一の部分を支持する第一支持壁と、第一支持壁から立設されて延在方向に延在する第一側壁14と、を有し、第二ケースは、第二の部分を支持する第二支持壁と、第二支持壁から立設されて延在方向に延在する第二側壁23と、を有し、第一側壁には、第一側壁を延在方向に並ぶ複数の第一片部14aに分割する隙間が設けられており、第二側壁は、隙間に挿入され、複数の第一片部と同一の線上に並ぶ。
【選択図】図6
特許請求の範囲
【請求項1】
第一の部分と、第二の部分と、中間部と、を有するフラット配索材と、
前記第一の部分を収容する第一ケースと、
前記第二の部分を収容する第二ケースと、
を備え、
前記第一の部分および前記第二の部分は、同じ延在方向に延在しており、かつ前記延在方向と直交する幅方向に並んでおり、
前記中間部は、前記幅方向に沿って前記第一の部分の端部と前記第二の部分の端部とをつなぎ、
前記第一ケースは、前記第一の部分を支持する第一支持壁と、前記第一支持壁から立設されて前記延在方向に延在する第一側壁と、を有し、
前記第二ケースは、前記第二の部分を支持する第二支持壁と、前記第二支持壁から立設されて前記延在方向に延在する第二側壁と、を有し、
前記第一側壁には、前記第一側壁を前記延在方向に並ぶ複数の第一片部に分割する隙間が設けられており、
前記第二側壁は、前記隙間に挿入され、複数の前記第一片部と同一の線上に並ぶ
ことを特徴とするワイヤハーネス。
続きを表示(約 310 文字)
【請求項2】
前記第二側壁には、前記第二側壁を前記延在方向に並ぶ複数の第二片部に分割する隙間が設けられており、
各前記第一片部は、隣り合う二つの前記第二片部の間に挿入され、
各前記第二片部は、隣り合う二つの前記第一片部の間に挿入される
請求項1に記載のワイヤハーネス。
【請求項3】
前記フラット配索材は、前記第一の部分と前記第二の部分との間に形成されて前記延在方向に延在するスリットを有し、
前記フラット配索材は、前記第一の部分および前記第二の部分によって前記第一側壁および前記第二側壁を挟み込むように配置される
請求項1に記載のワイヤハーネス。
発明の詳細な説明
【技術分野】
【0001】
本発明は、ワイヤハーネスに関する。
続きを表示(約 2,000 文字)
【背景技術】
【0002】
従来、フレキシブルプリント基板等のフラット配索材がある。特許文献1には、長尺配線を容易に実現することが可能なフレキシブルプリント基板が開示されている。特許文献1のフレキシブルプリント基板は、導電部と導電部を覆う絶縁部とを有する第1帯状部材および第2帯状部材と、第1帯状部材の第1端部と第2帯状部材の第1端部とを連結する第1連結部材とを備える。
【先行技術文献】
【特許文献】
【0003】
特開2015-170699号公報
【発明の概要】
【発明が解決しようとする課題】
【0004】
ここで、長尺のフラット配索材の一部を第一ケースに収容させ、他の一部を第二ケースに収容させることが検討されている。一つのフラット配索材を二つのケースに収容する場合、二つのケースの隙間を考慮してフラット配索材の形状を設定する必要があり、フラット配索材の歩留まりの低下を招きやすい。フラット配索材および二つのケースを含むワイヤハーネスにおいて、フラット配索材の歩留まりを向上できることが望ましい。
【0005】
本発明の目的は、フラット配索材の歩留まりを向上させることができるワイヤハーネスを提供することである。
【課題を解決するための手段】
【0006】
本発明のワイヤハーネスは、第一の部分と、第二の部分と、中間部と、を有するフラット配索材と、前記第一の部分を収容する第一ケースと、前記第二の部分を収容する第二ケースと、を備え、前記第一の部分および前記第二の部分は、同じ延在方向に延在しており、かつ前記延在方向と直交する幅方向に並んでおり、前記中間部は、前記幅方向に沿って前記第一の部分の端部と前記第二の部分の端部とをつなぎ、前記第一ケースは、前記第一の部分を支持する第一支持壁と、前記第一支持壁から立設されて前記延在方向に延在する第一側壁と、を有し、前記第二ケースは、前記第二の部分を支持する第二支持壁と、前記第二支持壁から立設されて前記延在方向に延在する第二側壁と、を有し、前記第一側壁には、前記第一側壁を前記延在方向に並ぶ複数の第一片部に分割する隙間が設けられており、前記第二側壁は、前記隙間に挿入され、複数の前記第一片部と同一の線上に並ぶことを特徴とする。
【発明の効果】
【0007】
本発明に係るワイヤハーネスにおいて、第一ケースの第一側壁には、第一側壁を延在方向に並ぶ複数の第一片部に分割する隙間が設けられており、第二ケースの第二側壁は、隙間に挿入され、複数の第一片部と同一の線上に並ぶ。本発明に係るワイヤハーネスによれば、フラット配索材の歩留まりを向上させることができるという効果を奏する。
【図面の簡単な説明】
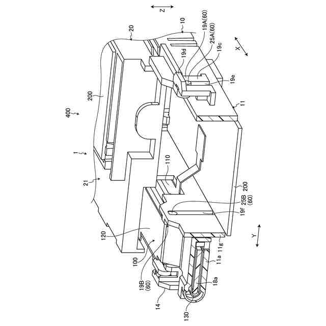
【0008】
図1は、実施形態に係るワイヤハーネスの平面図である。
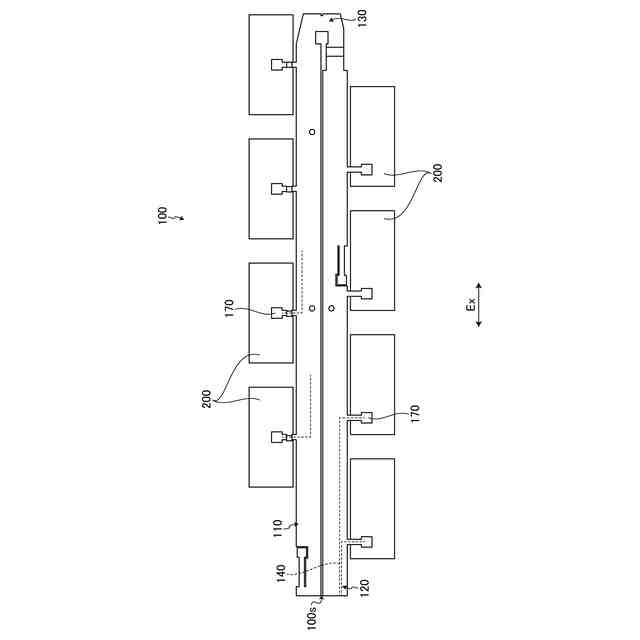
図2は、実施形態に係るフラット配索材の平面図である。
図3は、実施形態に係る第一ケースおよび第二ケースの平面図である。
図4は、実施形態に係る第一ケースおよび第二ケースの斜視図である。
図5は、実施形態に係る第一ケースおよび第二ケースの斜視図である。
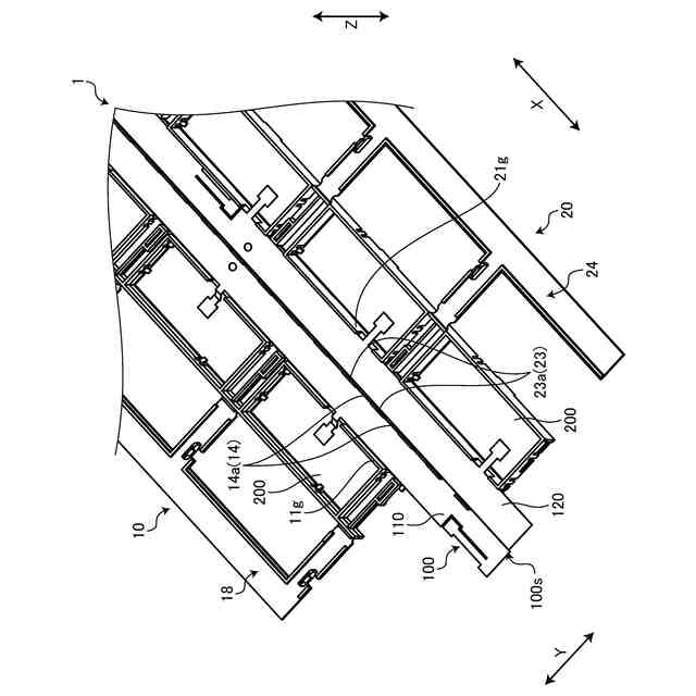
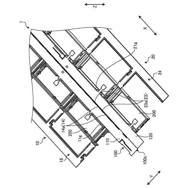
図6は、実施形態に係るワイヤハーネスの斜視図である。
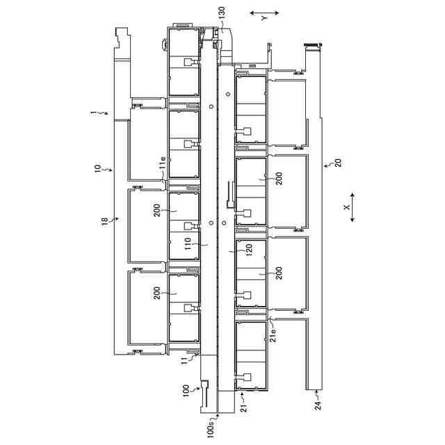
図7は、実施形態に係るワイヤハーネスの平面図である。
図8は、実施形態に係るワイヤハーネスの平面図である。
図9は、実施形態に係るワイヤハーネスの断面図である。
図10は、実施形態に係るワイヤハーネスの斜視図である。
図11は、実施形態に係るワイヤハーネスの斜視図である。
【発明を実施するための形態】
【0009】
以下に、本発明の実施形態に係るワイヤハーネスにつき図面を参照しつつ詳細に説明する。なお、この実施形態によりこの発明が限定されるものではない。また、下記の実施形態における構成要素には、当業者が容易に想定できるものあるいは実質的に同一のものが含まれる。
【0010】
[実施形態]
図1から図11を参照して、実施形態について説明する。本実施形態は、ワイヤハーネスに関する。図1は、実施形態に係るワイヤハーネスの平面図、図2は、実施形態に係るフラット配索材の平面図、図3は、実施形態に係る第一ケースおよび第二ケースの平面図、図4および図5は、実施形態に係る第一ケースおよび第二ケースの斜視図、図6は、実施形態に係るワイヤハーネスの斜視図、図7および図8は、実施形態に係るワイヤハーネスの平面図、図9は、実施形態に係るワイヤハーネスの断面図、図10および図11は、実施形態に係るワイヤハーネスの斜視図である。
(【0011】以降は省略されています)
この特許をJ-PlatPat(特許庁公式サイト)で参照する
関連特許
矢崎総業株式会社
箱状体
15日前
矢崎総業株式会社
箱状体
15日前
矢崎総業株式会社
コネクタ
20日前
矢崎総業株式会社
コネクタ
15日前
矢崎総業株式会社
コネクタ
9日前
矢崎総業株式会社
コネクタ
14日前
矢崎総業株式会社
報知装置
2日前
矢崎総業株式会社
コネクタ
15日前
矢崎総業株式会社
コネクタ
13日前
矢崎総業株式会社
照明装置
1日前
矢崎総業株式会社
コネクタ
16日前
矢崎総業株式会社
コネクタ
16日前
矢崎総業株式会社
コネクタ
16日前
矢崎総業株式会社
コネクタ
20日前
矢崎総業株式会社
バスバー
6日前
矢崎総業株式会社
ゴムブーツ
20日前
矢崎総業株式会社
電気接続箱
15日前
矢崎総業株式会社
電気接続箱
15日前
矢崎総業株式会社
電気接続箱
15日前
矢崎総業株式会社
端子付き電線
7日前
矢崎総業株式会社
フラット導体
15日前
矢崎総業株式会社
コネクタ構造
2日前
矢崎総業株式会社
コネクタ構造
2日前
矢崎総業株式会社
コネクタ構造
2日前
矢崎総業株式会社
バスバ配置構造
15日前
矢崎総業株式会社
充電インレット
1日前
矢崎総業株式会社
バスバ配置構造
7日前
矢崎総業株式会社
ワイヤハーネス
9日前
矢崎総業株式会社
車両用表示装置
今日
矢崎総業株式会社
ワイヤーハーネス
9日前
矢崎総業株式会社
ワイヤーハーネス
9日前
矢崎総業株式会社
光センシング装置
今日
矢崎総業株式会社
クランプ固定構造
7日前
矢崎総業株式会社
電気接続ユニット
1日前
矢崎総業株式会社
端子及び端子付き電線
1日前
矢崎総業株式会社
車載部品の筐体の取付構造
今日
続きを見る
他の特許を見る