TOP
|
特許
|
意匠
|
商標
特許ウォッチ
Twitter
他の特許を見る
公開番号
2025160651
公報種別
公開特許公報(A)
公開日
2025-10-23
出願番号
2024063327
出願日
2024-04-10
発明の名称
光センシング装置
出願人
矢崎総業株式会社
代理人
個人
,
個人
,
個人
主分類
G01S
17/34 20200101AFI20251016BHJP(測定;試験)
要約
【課題】簡易な構成で実現され、対象物までの距離を精度よく測定することが可能な光センシング装置を提供する。
【解決手段】光センシング装置100は、第1電気信号S1eを生成するパルス生成部101と、第1電気信号S1eを第1光信号S1oに変換する電気光変換器102と、を備える。光センシング装置100は、第1光信号S1oを第2光信号S2o及び第3光信号S3oに分岐させる分岐部110と、第2光信号S2oを送信し、第4光信号S4oを受信するサーキュレータ103と、を備える。光センシング装置100は、第3光信号S3o及び第4光信号S4oを結合し、第5光信号S5oを生成する結合部120と、第5光信号S5oを第2電気信号S2eに変換する光電気変換器104と、を備える。光センシング装置100は、第2電気信号S2eの周波数選択性フェージングの時間差情報により、対象物との距離を測定する信号解析部105を備える。
【選択図】図4A
特許請求の範囲
【請求項1】
パルス信号を搬送波の搬送波周波数でアップコンバートした第1電気信号を生成するパルス生成部と、
前記第1電気信号を第1光信号に変換する電気光変換器と、
前記第1光信号を第2光信号及び第3光信号に分岐させる分岐部と、
前記第2光信号を光送信部に送信し、対象物で反射され、光受信部で受信した第4光信号を受信するサーキュレータと、
前記第3光信号及び前記第4光信号を結合し、第5光信号を生成する結合部と、
前記第5光信号を第2電気信号に変換する光電気変換器と、
前記第2電気信号に含まれる周波数選択性フェージングの時間差情報により、前記対象物との距離を測定する信号解析部と、
を備える光センシング装置。
続きを表示(約 810 文字)
【請求項2】
パルス信号を搬送波の搬送波周波数でアップコンバートした第1電気信号を生成するパルス生成部と、
前記第1電気信号を第2電気信号及び第3電気信号に分岐させる第1サーキュレータと、
前記第2電気信号を第1光信号に変換する電気光変換器と、
前記第1光信号を光送信部に送信し、対象物で反射され、光受信部で受信された第2光信号を受信する第2サーキュレータと、
前記第2光信号を、第4電気信号に変換する光電気変換器と、
前記第3電気信号及び前記第4電気信号を結合し、第5電気信号を生成する第3サーキュレータと、
前記第5電気信号に含まれる周波数選択性フェージングの時間差情報により、前記対象物との距離を測定する信号解析部と、
を備える光センシング装置。
【請求項3】
前記パルス信号は、前記搬送波周波数以上の帯域幅を有する、請求項1又は2に記載の光センシング装置。
【請求項4】
前記パルス信号は、パルス幅に対して、半値幅が前記パルス幅の半分でも分解可能となる、請求項1又は2に記載の光センシング装置。
【請求項5】
前記パルス信号は、前記パルス信号の周波数特性フェージングにおける最初のディップとなる周波数をディップ周波数fdとし、半値幅をΔTとした場合に、fd=1/(2×ΔT)の関係を有する、請求項1又は2に記載の光センシング装置。
【請求項6】
前記パルス生成部は、アップコンバート用の数波数と振幅が打ち消し合わないように位相を調整して前記第1電気信号を生成する、請求項1又は2に記載の光センシング装置。
【請求項7】
前記パルス信号を前記アップコンバートさせる前記搬送波周波数は、前記パルス信号のパルス帯域幅以下である、請求項1又は2に記載の光センシング装置。
発明の詳細な説明
【技術分野】
【0001】
本発明は、光センシング装置に関する。
続きを表示(約 2,200 文字)
【背景技術】
【0002】
従来、光信号を用いて対象物までの距離を測定する光測距装置が提案されている。特許文献1には、光パルス信号の送受信により対象物との距離を測定する光測距装置が開示されている。特許文献1に開示された光測距装置は、送信及び受信した光パルスの位相変化点に基づいて測定対象物までの距離を算出する。
【先行技術文献】
【特許文献】
【0003】
国際公開第2021/044534号
【発明の概要】
【発明が解決しようとする課題】
【0004】
特許文献1で開示された光測距装置は、光パルス生成部において、位相変化点を有する第1の位相変調部分と、第2の位相変調部分と、を有する光パルスを生成し、送信する。また、当該光測距装置は、受信した光パルスの位相変化点に基づいて、光測距装置から測定対象物までの距離を算出する。そのため、当該光測距装置においては、光パルス生成部において、あらかじめ位相変化点を有する特定の光パルスを生成する必要があり、処理や回路規模の増大が問題となる。
【0005】
本発明は、このような従来技術が有する課題に鑑みてなされたものである。そして本発明の目的は、簡易な構成で実現され、対象物までの距離を精度よく測定することが可能な光センシング装置を提供することにある。
【課題を解決するための手段】
【0006】
本発明の態様に係る光センシング装置は、パルス信号を搬送波の搬送波周波数でアップコンバートした第1電気信号を生成するパルス生成部と、第1電気信号を第1光信号に変換する電気光変換器と、第1光信号を第2光信号及び第3光信号に分岐させる分岐部と、第2光信号を光送信部に送信し、対象物で反射され、光受信部で受信された第4光信号を受信するサーキュレータと、第3光信号及び第4光信号を結合し、第5光信号を生成する結合部と、第5光信号を第2電気信号に変換する光電気変換器と、第2電気信号に含まれる周波数選択性フェージングの時間差情報により、対象物との距離を測定する信号解析部と、を備える。
【0007】
本発明の他の態様に係る光センシング装置は、パルス信号を搬送波の搬送波周波数でアップコンバートした第1電気信号を生成するパルス生成部と、第1電気信号を第2電気信号及び第3電気信号に分岐させる第1サーキュレータと、第2電気信号を第1光信号に変換する電気光変換器と、第1光信号を光送信部に送信し、対象物で反射され、光受信部で受信された第2光信号を受信する第2サーキュレータと、第2光信号を、第4電気信号に変換する光電気変換器と、第3電気信号及び第4電気信号を結合し、第5電気信号を生成する第3サーキュレータと、第5電気信号に含まれる周波数選択性フェージングの時間差情報により、対象物との距離を測定する信号解析部と、を備える。
【発明の効果】
【0008】
本発明によれば、簡易な構成で実現され、対象物までの距離を精度よく測定することが可能な光センシング装置を提供することができる。
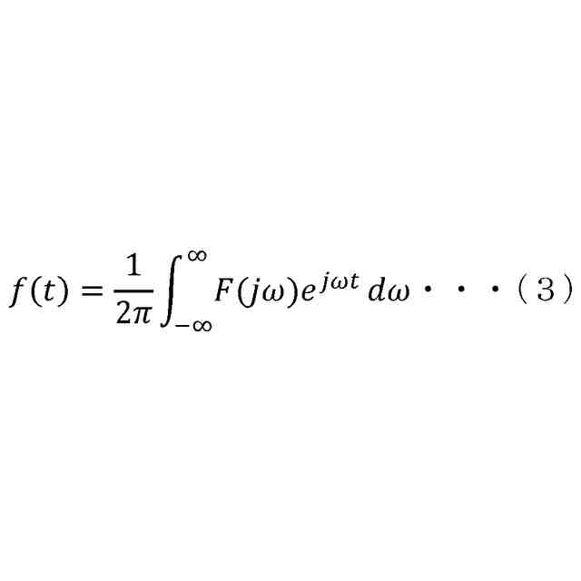
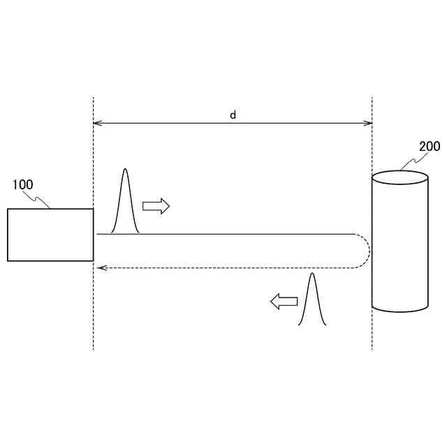
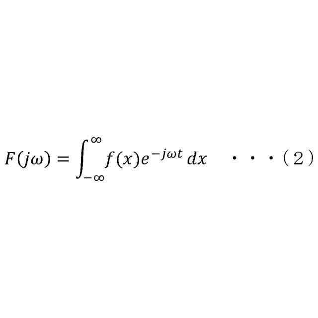
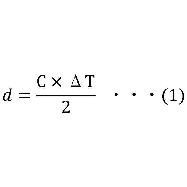
【図面の簡単な説明】
【0009】
本実施形態に係る光センシング装置が適用される測距システムの構成を示す図である。
周波数スペクトルについて説明するための図である。
パルス波形について説明するための図である。
アップコンバート後の周波数スペクトルについて説明するための図である。
アップコンバート後のパルス波形について説明するための図である。
本実施形態に係る光センシング装置の構成を示すブロック図である。
本実施形態に係る光センシング装置の別の構成を示すブロック図である。
時間差ΔTに対する周波数選択性フェージングについて説明するための図である。
周波数選択性フェージングの影響を受けた信号について説明するための図である。
パルス波形の分解能イメージについて説明するための図である。
パルス波形の分解能イメージについて説明するための図である。
本実施形態に係る光センシング装置におけるパルス波形の分解能イメージについて説明するための図である。
本実施形態に係る光センシング装置におけるパルス波形の分解能イメージについて説明するための図である。
本実施形態に係る光センシング装置におけるパルス波形の分解能イメージについて説明するための図である。
周波数選択性フェージングとパルス幅Tの帯域幅のイメージを示す図である。
周波数選択性フェージングとパルス幅Tの帯域幅のイメージを示す図である。
周波数選択性フェージングとパルス幅Tの帯域幅のイメージを示す図である。
本実施形態に係る光センシング装置においてフェージングの影響を受けた周波数スペクトルについて説明するための図である。
【発明を実施するための形態】
【0010】
以下、図面を用いて本実施形態に係る光センシング装置100について詳細に説明する。なお、図面の寸法比率は説明の都合上誇張されており、実際の比率と異なる場合がある。また、以下の図面の記載において、同一又は類似の部分には同一又は類似の符号を付している。
(【0011】以降は省略されています)
この特許をJ-PlatPat(特許庁公式サイト)で参照する
関連特許
矢崎総業株式会社
箱状体
17日前
矢崎総業株式会社
箱状体
17日前
矢崎総業株式会社
コネクタ
26日前
矢崎総業株式会社
コネクタ
22日前
矢崎総業株式会社
コネクタ
24日前
矢崎総業株式会社
コネクタ
11日前
矢崎総業株式会社
コネクタ
15日前
矢崎総業株式会社
コネクタ
16日前
矢崎総業株式会社
コネクタ
17日前
矢崎総業株式会社
コネクタ
29日前
矢崎総業株式会社
コネクタ
24日前
矢崎総業株式会社
コネクタ
17日前
矢崎総業株式会社
コネクタ
18日前
矢崎総業株式会社
コネクタ
18日前
矢崎総業株式会社
止水部材
22日前
矢崎総業株式会社
照明構造
22日前
矢崎総業株式会社
コネクタ
18日前
矢崎総業株式会社
バスバー
8日前
矢崎総業株式会社
コネクタ
22日前
矢崎総業株式会社
照明装置
3日前
矢崎総業株式会社
コネクタ
1か月前
矢崎総業株式会社
報知装置
4日前
矢崎総業株式会社
電気接続箱
29日前
矢崎総業株式会社
ゴムブーツ
22日前
矢崎総業株式会社
プロテクタ
22日前
矢崎総業株式会社
電気接続箱
17日前
矢崎総業株式会社
電気接続箱
17日前
矢崎総業株式会社
電気接続箱
17日前
矢崎総業株式会社
コネクタ構造
4日前
矢崎総業株式会社
電流検出装置
24日前
矢崎総業株式会社
ドアハーネス
1か月前
矢崎総業株式会社
フラット導体
17日前
矢崎総業株式会社
コネクタ構造
4日前
矢崎総業株式会社
コネクタ構造
4日前
矢崎総業株式会社
端子付き電線
9日前
矢崎総業株式会社
ワイヤハーネス
26日前
続きを見る
他の特許を見る