TOP
|
特許
|
意匠
|
商標
特許ウォッチ
Twitter
他の特許を見る
10個以上の画像は省略されています。
公開番号
2025157772
公報種別
公開特許公報(A)
公開日
2025-10-16
出願番号
2024059998
出願日
2024-04-03
発明の名称
クランプ固定構造
出願人
矢崎総業株式会社
代理人
弁理士法人虎ノ門知的財産事務所
主分類
F16B
5/02 20060101AFI20251008BHJP(機械要素または単位;機械または装置の効果的機能を生じ維持するための一般的手段)
要約
【課題】仮固定と本固定を簡便に行うこと。
【解決手段】クランプ設置部10の被設置面12には、設置位置でクランプ本体21の車体固定部41の固定具挿通孔41aに通したクランプ固定具30の固定部31をクランプ設置部の固定具保持部11に挿入させ且つ保持させた状態のときに、車体固定部がクランプ固定具の挟持部32との間で挟み込んで固定され、被設置面から立設させた少なくとも1つの立壁13は、車体固定部が設置位置のときにクランプ本体の可撓部42の外壁面42bを覆い、かつ、設置位置の車体固定部における固定具挿通孔の孔軸周りの動きを抑えるべく、クランプ本体の連結部43を係止し、立壁から突出させた係止部14は、被設置面から固定具挿通孔の孔軸方向に離れる設置位置の車体固定部の動きを抑えるべく、可撓部の自由端を係止すること。
【選択図】図3
特許請求の範囲
【請求項1】
車体に設け、かつ、クランプが設置されるクランプ設置部を備え、
前記クランプ設置部は、クランプ固定具の固定部を挿入させ且つ保持させる固定具保持部と、前記固定具保持部の周縁に設け、かつ、前記クランプが設置される被設置面と、前記被設置面から立設させた少なくとも1つの立壁と、前記立壁から突出させた係止部と、を有し、
前記クランプは、前記被設置面に設置され、かつ、前記クランプ固定具によって前記被設置面に固定されるクランプ本体を備え、
前記クランプ本体は、
前記固定部を挿通させる固定具挿通孔が形成され、かつ、前記固定具挿通孔の周縁の設置面を前記被設置面の上の設置位置に合わせて設置される車体固定部と、
前記車体固定部の前記設置面側から突出させて前記車体固定部の外周面を内壁面で覆い、かつ、その外周面と内壁面の間隔を撓み変形によって変化させる片持ち梁形状の複数の可撓部と、
前記車体に配索され且つ固定される配索部品を保持する配索部品保持部に前記車体固定部を連結させる連結部と、
を有し、
前記被設置面には、前記設置位置で前記固定具挿通孔に通した前記固定部を前記固定具保持部に挿入させ且つ保持させた状態のときに、前記車体固定部が前記クランプ固定具の挟持部との間で挟み込んで固定され、
前記立壁は、前記車体固定部が前記設置位置のときに前記可撓部の外壁面を覆い、かつ、前記設置位置の前記車体固定部における前記固定具挿通孔の孔軸周りの動きを抑えるべく、前記連結部を係止し、
前記係止部は、前記被設置面から前記固定具挿通孔の孔軸方向に離れる前記設置位置の前記車体固定部の動きを抑えるべく、前記可撓部の自由端を係止することを特徴としたクランプ固定構造。
続きを表示(約 460 文字)
【請求項2】
前記立壁と前記係止部の組み合わせは、前記可撓部毎に設けることを特徴とした請求項1に記載のクランプ固定構造。
【請求項3】
前記クランプ設置部は、前記連結部が配置される隙間を空けて設けた隣り合う2つの前記立壁を有し、
隣り合う2つの前記立壁は、その内の一方と他方とに前記連結部を各々係止させることで、前記設置位置の前記車体固定部における前記固定具挿通孔の孔軸周りの動きを抑えることを特徴とした請求項1に記載のクランプ固定構造。
【請求項4】
前記クランプ設置部は、筒内を前記固定具保持部とし且つ先端面を前記被設置面とする筒状のボス形状に形成されたボス部を有し、
前記ボス部は、前記車体の外壁面に突出状態で設けることを特徴とした請求項1,2又は3に記載のクランプ固定構造。
【請求項5】
前記被設置面は、前記車体の外壁面に設け、
前記固定具保持部は、前記車体に形成されることを特徴とした請求項1,2又は3に記載のクランプ固定構造。
発明の詳細な説明
【技術分野】
【0001】
本発明は、クランプ固定構造に関する。
続きを表示(約 2,500 文字)
【背景技術】
【0002】
従来、ワイヤハーネス等の配索部材は、車体に配索され且つ固定される。例えば、この配索部材は、プロテクタ等の配索部品保持部に保持されており、この配索部品保持部に設けた固定部を車体に固定することによって、この固定部等を介して車体に固定される。これらに関連する技術については、例えば、下記の特許文献1に開示されている。
【先行技術文献】
【特許文献】
【0003】
特表2023-517714号公報
【発明の概要】
【発明が解決しようとする課題】
【0004】
ところで、配索部材については、その固定作業に際して、配索部品保持部に設けた仮固定部を配索経路の複数箇所で車体に仮固定し、その後、別の複数箇所で固定部を車体に本固定(螺子止め固定)することがある。例えば、仮固定部においては、これに設けたクリップを車体の貫通孔に差し込んだり、これに設けた貫通孔に車体のスタッドボルトを差し込んだりして、車体に仮固定する。そして、固定部においては、これの貫通孔に通した雄螺子部材を車体の雌螺子部に螺合させることによって、車体に対して螺子止め固定される。斯様な従来技術においては、仮固定部における仮固定作業と固定部における固定作業とをそれぞれに別の場所で個別に行わなければならない。
【0005】
そこで、本発明は、仮固定と本固定を簡便に行い得るクランプ固定構造を提供することを、その目的とする。
【課題を解決するための手段】
【0006】
本発明は、車体に設け、かつ、クランプが設置されるクランプ設置部を備え、前記クランプ設置部は、クランプ固定具の固定部を挿入させ且つ保持させる固定具保持部と、前記固定具保持部の周縁に設け、かつ、前記クランプが設置される被設置面と、前記被設置面から立設させた少なくとも1つの立壁と、前記立壁から突出させた係止部と、を有し、前記クランプは、前記被設置面に設置され、かつ、前記クランプ固定具によって前記被設置面に固定されるクランプ本体を備え、前記クランプ本体は、前記固定部を挿通させる固定具挿通孔が形成され、かつ、前記固定具挿通孔の周縁の設置面を前記被設置面の上の設置位置に合わせて設置される車体固定部と、前記車体固定部の前記設置面側から突出させて前記車体固定部の外周面を内壁面で覆い、かつ、その外周面と内壁面の間隔を撓み変形によって変化させる片持ち梁形状の複数の可撓部と、前記車体に配索され且つ固定される配索部品を保持する配索部品保持部に前記車体固定部を連結させる連結部と、を有し、前記被設置面には、前記設置位置で前記固定具挿通孔に通した前記固定部を前記固定具保持部に挿入させ且つ保持させた状態のときに、前記車体固定部が前記クランプ固定具の挟持部との間で挟み込んで固定され、前記立壁は、前記車体固定部が前記設置位置のときに前記可撓部の外壁面を覆い、かつ、前記設置位置の前記車体固定部における前記固定具挿通孔の孔軸周りの動きを抑えるべく、前記連結部を係止し、前記係止部は、前記被設置面から前記固定具挿通孔の孔軸方向に離れる前記設置位置の前記車体固定部の動きを抑えるべく、前記可撓部の自由端を係止することを特徴とする。
【発明の効果】
【0007】
本発明に係るクランプ固定構造は、クランプをクランプ設置部に押し込むだけで、このクランプをクランプ設置部の被設置面に設置して仮固定することができる。つまり、本発明に係るクランプ固定構造は、被設置面に対するクランプの設置作業を行うだけで、クランプをクランプ設置部の被設置面に仮固定することができる。そして、本発明に係るクランプ固定構造は、そのクランプ設置部の固定具保持部にクランプ固定具を取り付けるだけで、仮固定状態のクランプをクランプ設置部の被設置面に本固定することができる。このように、本発明に係るクランプ固定構造は、クランプの仮固定と本固定を同じ場所で簡便に行うことができる。
【図面の簡単な説明】
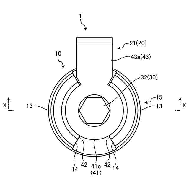
【0008】
図1は、実施形態のクランプ取付構造を示す斜視図である。
図2は、実施形態のクランプ取付構造をクランプ側から見た平面図である。
図3は、図2のX-X線断面図である。
図4は、実施形態のクランプ取付構造を示す分解斜視図である。
図5は、実施形態のクランプ設置部を被設置面側から見た平面図である。
図6は、変形例1のクランプ取付構造を示す斜視図である。
図7は、変形例1のクランプ取付構造をクランプ側から見た平面図である。
図8は、変形例1のクランプ取付構造を示す分解斜視図である。
図9は、変形例2のクランプ取付構造を示す斜視図である。
図10は、変形例2のクランプ取付構造をクランプ側から見た平面図である。
図11は、変形例2のクランプ取付構造を示す分解斜視図である。
図12は、変形例2のクランプ設置部を被設置面側から見た平面図である。
図13は、変形例3のクランプ取付構造を示す斜視図である。
図14は、変形例3のクランプ取付構造をクランプ側から見た平面図である。
図15は、変形例3のクランプ取付構造を示す分解斜視図である。
図16は、変形例4のクランプ取付構造を示す分解斜視図である。
【発明を実施するための形態】
【0009】
以下に、本発明に係るクランプ固定構造の実施形態を図面に基づいて詳細に説明する。尚、この実施形態によりこの発明が限定されるものではない。
【0010】
[実施形態]
本発明に係るクランプ固定構造の実施形態の1つを図1から図5に基づいて説明する。クランプ固定構造とは、クランプを固定するために設けられた構造のことである。
(【0011】以降は省略されています)
この特許をJ-PlatPat(特許庁公式サイト)で参照する
関連特許
矢崎総業株式会社
箱状体
16日前
矢崎総業株式会社
箱状体
16日前
矢崎総業株式会社
コネクタ
15日前
矢崎総業株式会社
止水部材
21日前
矢崎総業株式会社
コネクタ
21日前
矢崎総業株式会社
コネクタ
17日前
矢崎総業株式会社
照明構造
21日前
矢崎総業株式会社
コネクタ
17日前
矢崎総業株式会社
コネクタ
17日前
矢崎総業株式会社
コネクタ
16日前
矢崎総業株式会社
コネクタ
16日前
矢崎総業株式会社
報知装置
3日前
矢崎総業株式会社
バスバー
7日前
矢崎総業株式会社
コネクタ
10日前
矢崎総業株式会社
照明装置
2日前
矢崎総業株式会社
コネクタ
14日前
矢崎総業株式会社
コネクタ
23日前
矢崎総業株式会社
コネクタ
23日前
矢崎総業株式会社
コネクタ
21日前
矢崎総業株式会社
電気接続箱
16日前
矢崎総業株式会社
ゴムブーツ
21日前
矢崎総業株式会社
電気接続箱
16日前
矢崎総業株式会社
プロテクタ
21日前
矢崎総業株式会社
電気接続箱
16日前
矢崎総業株式会社
コネクタ構造
3日前
矢崎総業株式会社
電流検出装置
23日前
矢崎総業株式会社
コネクタ構造
3日前
矢崎総業株式会社
フラット導体
16日前
矢崎総業株式会社
コネクタ構造
3日前
矢崎総業株式会社
端子付き電線
8日前
矢崎総業株式会社
車両用表示装置
1日前
矢崎総業株式会社
ワイヤハーネス
10日前
矢崎総業株式会社
充電インレット
2日前
矢崎総業株式会社
バスバ配置構造
16日前
矢崎総業株式会社
バスバ配置構造
8日前
矢崎総業株式会社
クランプ固定構造
8日前
続きを見る
他の特許を見る