TOP
|
特許
|
意匠
|
商標
特許ウォッチ
Twitter
他の特許を見る
公開番号
2025139632
公報種別
公開特許公報(A)
公開日
2025-09-29
出願番号
2024038572
出願日
2024-03-13
発明の名称
ワイヤハーネス、及び、外装部材
出願人
矢崎総業株式会社
代理人
弁理士法人虎ノ門知的財産事務所
主分類
H02G
3/04 20060101AFI20250919BHJP(電力の発電,変換,配電)
要約
【課題】車両に対して適切に固定することができるワイヤハーネス、及び、外装部材を提供することを目的とする。
【解決手段】ワイヤハーネス1は、導電性を有する配索材Wと、配索材Wに取り付けられる外装部材10とを備え、外装部材10は、表面に凹凸110が形成され、筒状に形成されることで内部に挿通された配索材Wを保護可能な保護部材100と、保護部材100の凹凸110に対して溶着され、保護部材100を固定対象部位Pに固定可能な固定部材200とを有することを特徴とする。
【選択図】図1
特許請求の範囲
【請求項1】
導電性を有する配索材と、
前記配索材に取り付けられる外装部材とを備え、
前記外装部材は、
表面に凹凸が形成され、筒状に形成されることで内部に挿通された前記配索材を保護可能な保護部材と、
前記保護部材の前記凹凸に対して溶着され、前記保護部材を固定対象部位に固定可能な固定部材とを有することを特徴とする、
ワイヤハーネス。
続きを表示(約 400 文字)
【請求項2】
前記保護部材は、シート部材を筒状に折り曲げて形成される、
請求項1に記載のワイヤハーネス。
【請求項3】
前記固定部材は、
板状に形成され、前記保護部材の延在方向に沿って延在する基部と、
前記基部と一体で形成され、固定対象部位に固定可能なクリップ部とを有し、
前記基部は、当該基部の延在方向において前記クリップ部を挟んで位置し、前記保護部材の前記凹凸に対して溶着される一対の溶着部位を含んで構成される、
請求項1または2に記載のワイヤハーネス。
【請求項4】
表面に凹凸が形成され、筒状に形成されることで内部に挿通された導電性を有する配索材を保護可能な保護部材と、
前記保護部材の前記凹凸に対して溶着され、前記保護部材を固定対象部位に固定可能な固定部材とを備えることを特徴とする、
外装部材。
発明の詳細な説明
【技術分野】
【0001】
本発明は、ワイヤハーネス、及び、外装部材に関する。
続きを表示(約 1,200 文字)
【背景技術】
【0002】
例えば、特許文献1には、電線と、当該電線を保護可能なプロテクタとを備える、ワイヤハーネスが開示されている。
【先行技術文献】
【特許文献】
【0003】
特開2016-40969号公報
【発明の概要】
【発明が解決しようとする課題】
【0004】
ところで、上述の特許文献1に記載のワイヤハーネスは、プロテクタ本体部に、車両に対してプロテクタ本体部を固定する車両固定部が溶着されているが、例えば、プロテクタ本体部と車両固定部の接合強度が適切でない場合、車両に対してプロテクタ本体部を適切に固定することができない虞がある。そのため、車両に対してプロテクタ本体部などの外装部材を適切に固定する点で更なる改善の余地がある。
【0005】
本発明は、上記の事情に鑑みてなされたものであって、車両に対して適切に固定することができるワイヤハーネス、及び、外装部材を提供することを目的とする。
【課題を解決するための手段】
【0006】
上記目的を達成するために、本発明に係るワイヤハーネスは、導電性を有する配索材と、前記配索材に取り付けられる外装部材とを備え、前記外装部材は、表面に凹凸が形成され、筒状に形成されることで内部に挿通された前記配索材を保護可能な保護部材と、前記保護部材の前記凹凸に対して溶着され、前記保護部材を固定対象部位に固定可能な固定部材とを有することを特徴とする。
【0007】
上記目的を達成するために、本発明に係る外装部材は、表面に凹凸が形成され、筒状に形成されることで内部に挿通された導電性を有する配索材を保護可能な保護部材と、前記保護部材の前記凹凸に対して溶着され、前記保護部材を固定対象部位に固定可能な固定部材とを備えることを特徴とする。
【発明の効果】
【0008】
本発明に係るワイヤハーネス、及び、外装部材は、車両に対して適切に固定することができる、という効果を奏する。
【図面の簡単な説明】
【0009】
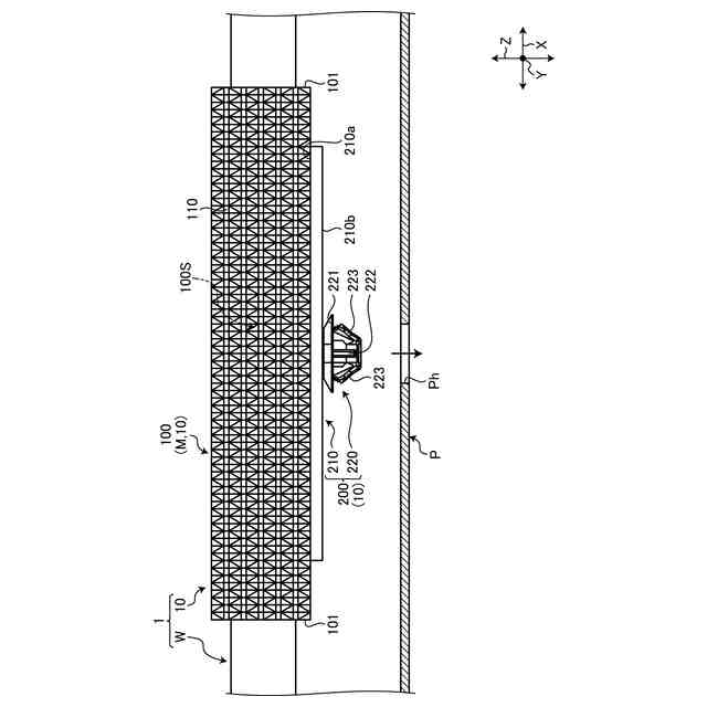
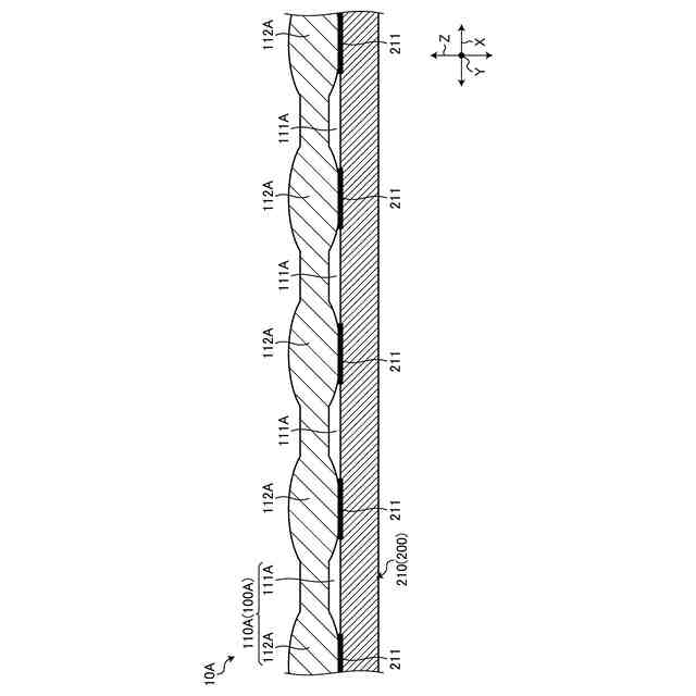
図1は、本実施形態に係るワイヤハーネスの概略構成を表す側面図である。
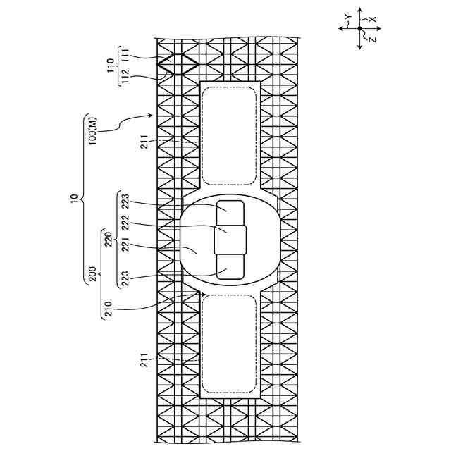
図2は、本実施形態に係る外装部材の概略構成を表す底面図である。
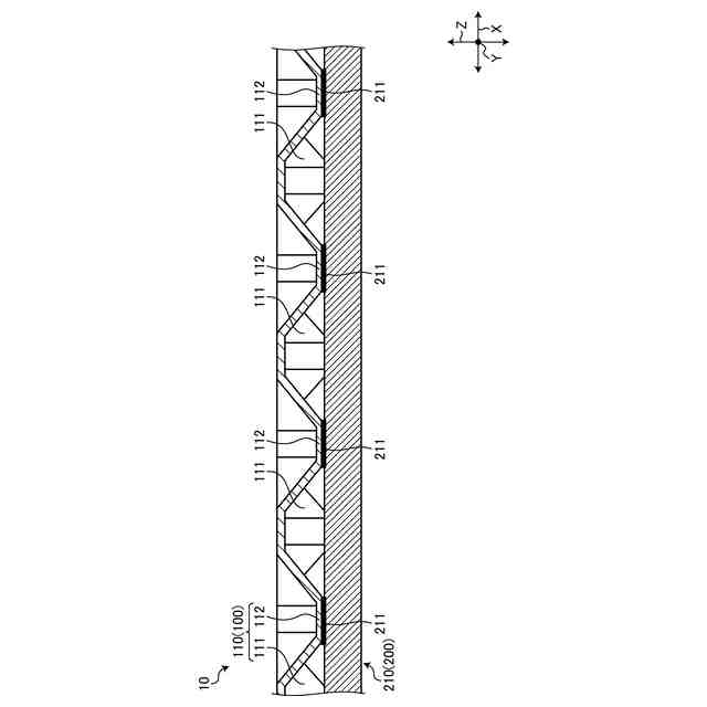
図3は、本実施形態に係る外装部材の概略構成を表す拡大断面図である。
図4は、本実施形態の変形例に係るワイヤハーネスの概略構成を表す側面図である。
図5は、本実施形態の変形例に係る外装部材の概略構成を表す拡大断面図である。
【発明を実施するための形態】
【0010】
以下に、本発明に係る実施形態を図面に基づいて詳細に説明する。なお、この実施形態によりこの発明が限定されるものではない。また、下記実施形態における構成要素には、当業者が置換可能かつ容易なもの、あるいは実質的に同一のものが含まれる。
(【0011】以降は省略されています)
この特許をJ-PlatPat(特許庁公式サイト)で参照する
関連特許
矢崎総業株式会社
治具
2か月前
矢崎総業株式会社
電線
2か月前
矢崎総業株式会社
端子
1か月前
矢崎総業株式会社
端子
1か月前
矢崎総業株式会社
バスバ
1か月前
矢崎総業株式会社
導電体
2か月前
矢崎総業株式会社
端子台
2か月前
矢崎総業株式会社
箱状体
1か月前
矢崎総業株式会社
箱状体
1か月前
矢崎総業株式会社
照明灯
21日前
矢崎総業株式会社
導電体
2か月前
矢崎総業株式会社
雌端子
1か月前
矢崎総業株式会社
コネクタ
2か月前
矢崎総業株式会社
コネクタ
14日前
矢崎総業株式会社
車体構造
2か月前
矢崎総業株式会社
コネクタ
1か月前
矢崎総業株式会社
コネクタ
1か月前
矢崎総業株式会社
コネクタ
2か月前
矢崎総業株式会社
コネクタ
14日前
矢崎総業株式会社
コネクタ
2か月前
矢崎総業株式会社
コネクタ
2か月前
矢崎総業株式会社
コネクタ
21日前
矢崎総業株式会社
コネクタ
2か月前
矢崎総業株式会社
コネクタ
21日前
矢崎総業株式会社
コネクタ
2か月前
矢崎総業株式会社
コネクタ
1か月前
矢崎総業株式会社
コネクタ
12日前
矢崎総業株式会社
コネクタ
21日前
矢崎総業株式会社
コネクタ
26日前
矢崎総業株式会社
コネクタ
1か月前
矢崎総業株式会社
コネクタ
2か月前
矢崎総業株式会社
コネクタ
今日
矢崎総業株式会社
コネクタ
今日
矢崎総業株式会社
コネクタ
1か月前
矢崎総業株式会社
コネクタ
1か月前
矢崎総業株式会社
照明装置
1か月前
続きを見る
他の特許を見る