TOP
|
特許
|
意匠
|
商標
特許ウォッチ
Twitter
他の特許を見る
10個以上の画像は省略されています。
公開番号
2025140486
公報種別
公開特許公報(A)
公開日
2025-09-29
出願番号
2024039918
出願日
2024-03-14
発明の名称
ワイヤハーネス
出願人
矢崎総業株式会社
代理人
弁理士法人虎ノ門知的財産事務所
主分類
H02G
3/04 20060101AFI20250919BHJP(電力の発電,変換,配電)
要約
【課題】U字形状に形成されたフラット配索材を直線形状に長尺化でき、かつ、余長の発生に伴う応力を緩和できるワイヤハーネスを提供する。
【解決手段】ワイヤハーネス1は、第一の部分、第二の部分120、第一の部分の端部と第二の部分の端部とをつなぎ、第一領域130a及び第二領域130bを含む中間部と、を有するU字形状に形成されたフラット配索材、第一の部分を保持する第一ケース10と、第二の部分を保持する第二ケース20、第一、第二ケースを相対回転可能に連結する回転構造60並びに第二ケースに設けられた空間部23を含む。第一、第二ケースは、フラット配索材の形状を直線形状として互いに係合可能であり、直線形状のフラット配索材は、第一、第二折り返し部を有し、空間部は、第二折り返し部160を形成しながら第一ケース及び第二ケースが相対回転するときに第二の部分に生じる余長によって形成される湾曲部120dを収容する。
【選択図】図13
特許請求の範囲
【請求項1】
直線状の第一の部分と、直線状の第二の部分と、前記第一の部分の端部と前記第二の部分の端部とをつなぐ中間部と、を有するU字形状に形成されたフラット配索材と、
前記第一の部分を保持する第一ケースと、
前記第二の部分を保持する第二ケースと、
前記第一ケースおよび前記第二ケースを相対回転可能に連結する回転構造と、
前記第二ケースに設けられた空間部と、
を備え、
前記第一ケースおよび前記第二ケースは、前記フラット配索材の形状を直線形状として互いに係合可能であり、
直線形状の前記フラット配索材では、平面視において前記第一の部分の延長線上に前記第二の部分が延在し、
直線形状の前記フラット配索材は、第一折り返し部および第二折り返し部を有し、
前記第一折り返し部では、前記第一の部分が延在する延在方向に沿った折り返し線に沿って前記中間部が折り返され、
前記第二折り返し部では、前記第二の部分の一部を前記中間部と重ねるように、前記延在方向と直交する折り返し線に沿って前記第二の部分が折り返され、
前記回転構造は、前記第一ケースおよび前記第二ケースを相対回転させることにより前記第二の部分に前記第二折り返し部を形成するように構成され、
前記空間部は、前記第二折り返し部を形成しながら前記第一ケースおよび前記第二ケースが相対回転するときに前記第二の部分に生じる余長を収容する
ことを特徴とするワイヤハーネス。
続きを表示(約 220 文字)
【請求項2】
前記第二ケースは、前記第二の部分を保持して前記第二ケースに対する前記第二の部分の相対移動を規制する保持構造を有し、
前記空間部は、前記保持構造と前記回転構造との間に配置される
請求項1に記載のワイヤハーネス。
【請求項3】
前記回転構造は、前記フラット配索材に前記第一折り返し部を形成した状態で前記第一ケースと前記第二ケースとを連結するように構成される
請求項1に記載のワイヤハーネス。
発明の詳細な説明
【技術分野】
【0001】
本発明は、ワイヤハーネスに関する。
続きを表示(約 2,300 文字)
【背景技術】
【0002】
従来、フレキシブルプリント基板等のフラット配索材がある。特許文献1には、長尺配線を容易に実現することが可能なフレキシブルプリント基板が開示されている。特許文献1のフレキシブルプリント基板は、導電部と導電部を覆う絶縁部とを有する第1帯状部材および第2帯状部材と、第1帯状部材の第1端部と第2帯状部材の第1端部とを連結する第1連結部材とを備える。
【先行技術文献】
【特許文献】
【0003】
特開2015-170699号公報
【発明の概要】
【発明が解決しようとする課題】
【0004】
U字形状に形成されたフラット配索材を直線形状に長尺化できることが望まれている。U字形状に形成されたフラット配索材を用いる場合、フラット配索材の製造コストや実装コストの低減が可能である。ここで、フラット配索材を直線形状に変形させるときに余長が発生する場合、余長の発生に伴う応力を緩和できることが望ましい。
【0005】
本発明の目的は、U字形状に形成されたフラット配索材を直線形状に長尺化でき、かつ余長の発生に伴う応力を緩和できるワイヤハーネスを提供することである。
【課題を解決するための手段】
【0006】
本発明のワイヤハーネスは、直線状の第一の部分と、直線状の第二の部分と、前記第一の部分の端部と前記第二の部分の端部とをつなぐ中間部と、を有するU字形状に形成されたフラット配索材と、前記第一の部分を保持する第一ケースと、前記第二の部分を保持する第二ケースと、前記第一ケースおよび前記第二ケースを相対回転可能に連結する回転構造と、前記第二ケースに設けられた空間部と、を備え、前記第一ケースおよび前記第二ケースは、前記フラット配索材の形状を直線形状として互いに係合可能であり、直線形状の前記フラット配索材では、平面視において前記第一の部分の延長線上に前記第二の部分が延在し、直線形状の前記フラット配索材は、第一折り返し部および第二折り返し部を有し、前記第一折り返し部では、前記第一の部分が延在する延在方向に沿った折り返し線に沿って前記中間部が折り返され、前記第二折り返し部では、前記第二の部分の一部を前記中間部と重ねるように、前記延在方向と直交する折り返し線に沿って前記第二の部分が折り返され、前記回転構造は、前記第一ケースおよび前記第二ケースを相対回転させることにより前記第二の部分に前記第二折り返し部を形成するように構成され、前記空間部は、前記第二折り返し部を形成しながら前記第一ケースおよび前記第二ケースが相対回転するときに前記第二の部分に生じる余長を収容することを特徴とする。
【発明の効果】
【0007】
本発明に係るワイヤハーネスにおいて、回転構造は、第一ケースおよび第二ケースを相対回転させることにより第二の部分に第二折り返し部を形成するように構成され、空間部は、第二折り返し部を形成しながら第一ケースおよび第二ケースが相対回転するときに第二の部分に生じる余長を収容する。本発明に係るワイヤハーネスによれば、U字形状に形成されたフラット配索材を直線形状に長尺化でき、かつ余長の発生に伴う応力を緩和できるという効果を奏する。
【図面の簡単な説明】
【0008】
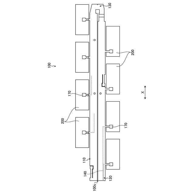
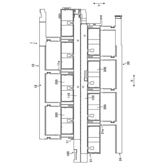
図1は、実施形態に係るワイヤハーネスの斜視図である。
図2は、実施形態に係るフラット配索材の斜視図である。
図3は、実施形態に係るフラット配索材の平面図である。
図4は、実施形態に係るケースの平面図である。
図5は、実施形態に係るケースの斜視図である。
図6は、実施形態に係るワイヤハーネスの平面図である。
図7は、実施形態に係るワイヤハーネスの平面図である。
図8は、実施形態に係るワイヤハーネスの平面図である。
図9は、実施形態に係るワイヤハーネスの断面図である。
図10は、実施形態に係るフラット配索材の斜視図である。
図11は、実施形態に係るワイヤハーネスの断面図である。
図12は、第二の回転工程を説明する斜視図である。
図13は、実施形態に係るワイヤハーネスの断面図である。
図14は、実施形態に係るワイヤハーネスの断面図である。
図15は、実施形態に係る保持構造の一例を示す斜視図である。
図16は、実施形態に係る保持構造の一例を示す断面図である。
図17は、実施形態に係る保持構造の一例を示す断面図である。
【発明を実施するための形態】
【0009】
以下に、本発明の実施形態に係るワイヤハーネスにつき図面を参照しつつ詳細に説明する。なお、この実施形態によりこの発明が限定されるものではない。また、下記の実施形態における構成要素には、当業者が容易に想定できるものあるいは実質的に同一のものが含まれる。
【0010】
[実施形態]
図1から図17を参照して、実施形態について説明する。本実施形態は、ワイヤハーネスに関する。図1は、実施形態に係るワイヤハーネスの斜視図、図2は、実施形態に係るフラット配索材の斜視図、図3は、実施形態に係るフラット配索材の平面図、図4は、実施形態に係るケースの平面図、図5は、実施形態に係るケースの斜視図、図6から図8は、実施形態に係るワイヤハーネスの平面図、図9は、実施形態に係るワイヤハーネスの断面図、図10は、実施形態に係るフラット配索材の斜視図である。
(【0011】以降は省略されています)
この特許をJ-PlatPat(特許庁公式サイト)で参照する
関連特許
矢崎総業株式会社
箱状体
4日前
矢崎総業株式会社
箱状体
4日前
矢崎総業株式会社
照明灯
1か月前
矢崎総業株式会社
コネクタ
2日前
矢崎総業株式会社
コネクタ
16日前
矢崎総業株式会社
照明構造
9日前
矢崎総業株式会社
止水部材
9日前
矢崎総業株式会社
コネクタ
11日前
矢崎総業株式会社
コネクタ
11日前
矢崎総業株式会社
コネクタ
13日前
矢崎総業株式会社
コネクタ
3日前
矢崎総業株式会社
コネクタ
23日前
矢崎総業株式会社
コネクタ
17日前
矢崎総業株式会社
コネクタ
9日前
矢崎総業株式会社
コネクタ
25日前
矢崎総業株式会社
コネクタ
25日前
矢崎総業株式会社
コネクタ
1か月前
矢崎総業株式会社
コネクタ
1か月前
矢崎総業株式会社
コネクタ
1か月前
矢崎総業株式会社
コネクタ
9日前
矢崎総業株式会社
コネクタ
1か月前
矢崎総業株式会社
コネクタ
4日前
矢崎総業株式会社
コネクタ
5日前
矢崎総業株式会社
コネクタ
4日前
矢崎総業株式会社
コネクタ
5日前
矢崎総業株式会社
コネクタ
5日前
矢崎総業株式会社
ゴムブーツ
9日前
矢崎総業株式会社
電気接続箱
4日前
矢崎総業株式会社
電気接続箱
4日前
矢崎総業株式会社
電気接続箱
16日前
矢崎総業株式会社
電気接続箱
1か月前
矢崎総業株式会社
カバー構造
1か月前
矢崎総業株式会社
電気接続箱
4日前
矢崎総業株式会社
電流センサ
1か月前
矢崎総業株式会社
電流センサ
1か月前
矢崎総業株式会社
プロテクタ
9日前
続きを見る
他の特許を見る