TOP
|
特許
|
意匠
|
商標
特許ウォッチ
Twitter
他の特許を見る
10個以上の画像は省略されています。
公開番号
2025140452
公報種別
公開特許公報(A)
公開日
2025-09-29
出願番号
2024039862
出願日
2024-03-14
発明の名称
ワイヤハーネス
出願人
矢崎総業株式会社
代理人
弁理士法人虎ノ門知的財産事務所
主分類
H02G
3/04 20060101AFI20250919BHJP(電力の発電,変換,配電)
要約
【課題】ケースを取り扱う際のフラット配索材への負荷を軽減できるワイヤハーネスを提供する。
【解決手段】ワイヤハーネス1は、直線状の第一の部分110と、直線状の第二の部分120と、第一の部分の端部と第二の部分の端部とをつなぐ中間部130と、を有するU字形状に形成されたフラット配索材100と、第一の部分を保持する第一ケース10と、第二の部分を保持する第二ケース20と、第一ケースと第二ケースとを連結する連結部70と、を備え、第一ケースは、第一の部分を支持する第一支持壁を有し、第二ケースは、第二の部分を支持する第二支持壁を有し、連結部は、フラット配索材の幅方向Yに沿って第一支持壁と第二支持壁とを並べた状態で第一ケースと第二ケースとを連結するように構成され、連結部70は、第一支持壁と第二支持壁とを対向させるように第一ケースおよび第二ケースを相対回転させることが可能なヒンジ部72を有する。
【選択図】図1
特許請求の範囲
【請求項1】
直線状の第一の部分と、直線状の第二の部分と、前記第一の部分の端部と前記第二の部分の端部とをつなぐ中間部と、を有するU字形状に形成されたフラット配索材と、
前記第一の部分を保持する第一ケースと、
前記第二の部分を保持する第二ケースと、
前記第一ケースと前記第二ケースとを連結する連結部と、
を備え、
前記第一ケースは、前記第一の部分を支持する第一支持壁を有し、
前記第二ケースは、前記第二の部分を支持する第二支持壁を有し、
前記連結部は、前記フラット配索材の幅方向に沿って前記第一支持壁と前記第二支持壁とを並べた状態で前記第一ケースと前記第二ケースとを連結するように構成され、
前記連結部は、前記第一支持壁と前記第二支持壁とを対向させるように前記第一ケースおよび前記第二ケースを相対回転させることが可能なヒンジ部を有する
ことを特徴とするワイヤハーネス。
続きを表示(約 370 文字)
【請求項2】
前記第二ケースは、前記第二支持壁を有する本体と、前記本体に係合して前記第二支持壁を覆うカバーと、を有し、
前記連結部は、前記カバーにつながっており、前記カバーが前記本体と係合した状態で前記第一ケースに連結される
請求項1に記載のワイヤハーネス。
【請求項3】
前記第一ケースと前記第二ケースとを相対回転可能に連結する回転構造を有し、
前記回転構造は、前記第一支持壁と前記第二支持壁とを対向させて前記第一ケースおよび前記第二ケースが重ねられた状態で前記第一ケースと前記第二ケースとを連結し、
前記回転構造は、前記第一支持壁と前記第二支持壁とが直線状に並ぶように前記第一ケースおよび前記第二ケースを相対回転させることができるように構成される
請求項2に記載のワイヤハーネス。
発明の詳細な説明
【技術分野】
【0001】
本発明は、ワイヤハーネスに関する。
続きを表示(約 2,000 文字)
【背景技術】
【0002】
従来、フレキシブルプリント基板等のフラット配索材がある。特許文献1には、長尺配線を容易に実現することが可能なフレキシブルプリント基板が開示されている。特許文献1のフレキシブルプリント基板は、導電部と導電部を覆う絶縁部とを有する第1帯状部材および第2帯状部材と、第1帯状部材の第1端部と第2帯状部材の第1端部とを連結する第1連結部材とを備える。
【先行技術文献】
【特許文献】
【0003】
特開2015-170699号公報
【発明の概要】
【発明が解決しようとする課題】
【0004】
ここで、長尺のフラット配索材の一部を第一ケースに収容させ、他の一部を第二ケースに収容させることが検討されている。一つのフラット配索材を二つのケースに収容する場合に、ケースを取り扱う際のフラット配索材への負荷を軽減できることが望ましい。例えば、二つのケースが連結されることなく独立して移動する場合、フラット配索材に大きな負荷がかかることがある。
【0005】
本発明の目的は、ケースを取り扱う際のフラット配索材への負荷を軽減できるワイヤハーネスを提供することである。
【課題を解決するための手段】
【0006】
本発明のワイヤハーネスは、直線状の第一の部分と、直線状の第二の部分と、前記第一の部分の端部と前記第二の部分の端部とをつなぐ中間部と、を有するU字形状に形成されたフラット配索材と、前記第一の部分を保持する第一ケースと、前記第二の部分を保持する第二ケースと、前記第一ケースと前記第二ケースとを連結する連結部と、を備え、前記第一ケースは、前記第一の部分を支持する第一支持壁を有し、前記第二ケースは、前記第二の部分を支持する第二支持壁を有し、前記連結部は、前記フラット配索材の幅方向に沿って前記第一支持壁と前記第二支持壁とを並べた状態で前記第一ケースと前記第二ケースとを連結するように構成され、前記連結部は、前記第一支持壁と前記第二支持壁とを対向させるように前記第一ケースおよび前記第二ケースを相対回転させることが可能なヒンジ部を有することを特徴とする。
【発明の効果】
【0007】
本発明に係るワイヤハーネスは、第一ケースと第二ケースとを連結する連結部を備え、連結部は、第一支持壁と第二支持壁とを対向させるように第一ケースおよび第二ケースを相対回転させることが可能なヒンジ部を有する。本発明に係るワイヤハーネスによれば、第一ケースおよび第二ケースを取り扱う際のフラット配索材への負荷を軽減できるという効果を奏する。
【図面の簡単な説明】
【0008】
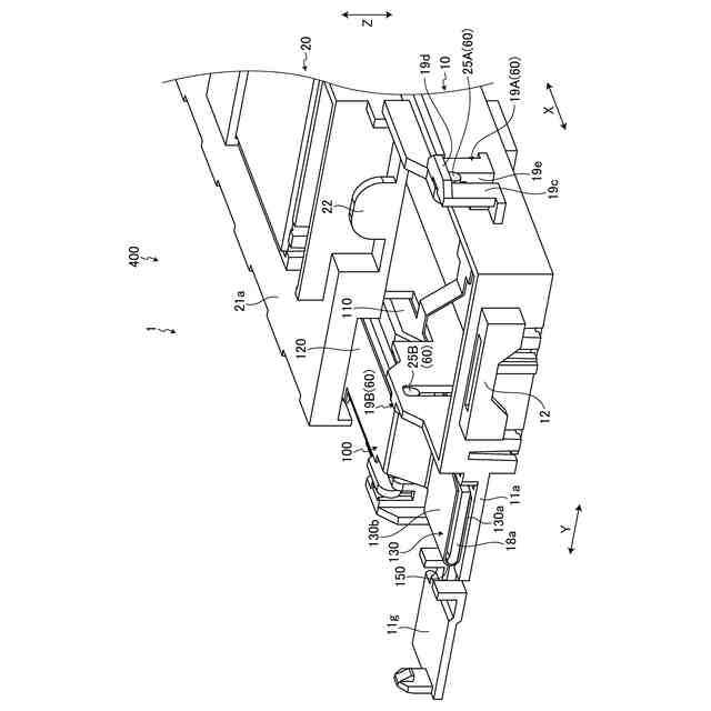
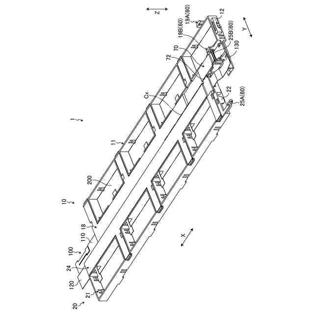
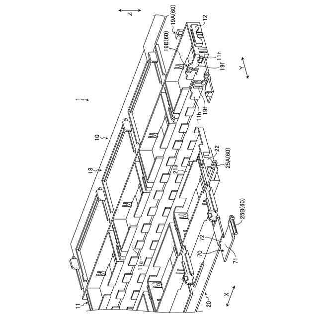
図1は、実施形態に係るワイヤハーネスの斜視図である。
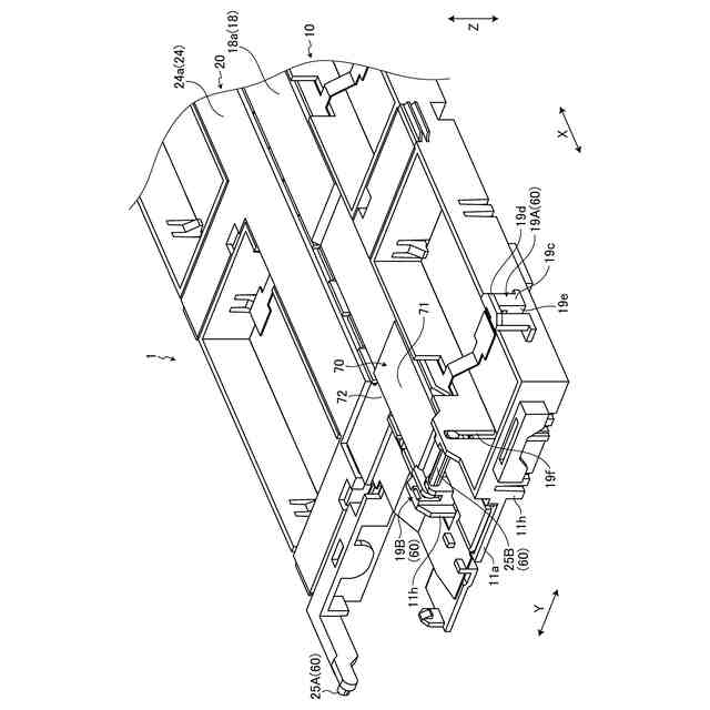
図2は、実施形態に係るワイヤハーネスの斜視図である。
図3は、実施形態に係るケースの平面図である。
図4は、実施形態に係るケースの斜視図である。
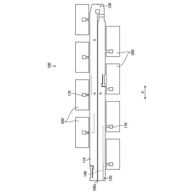
図5は、実施形態に係るフラット配索材の平面図である。
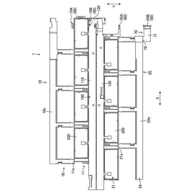
図6は、実施形態に係るワイヤハーネスの平面図である。
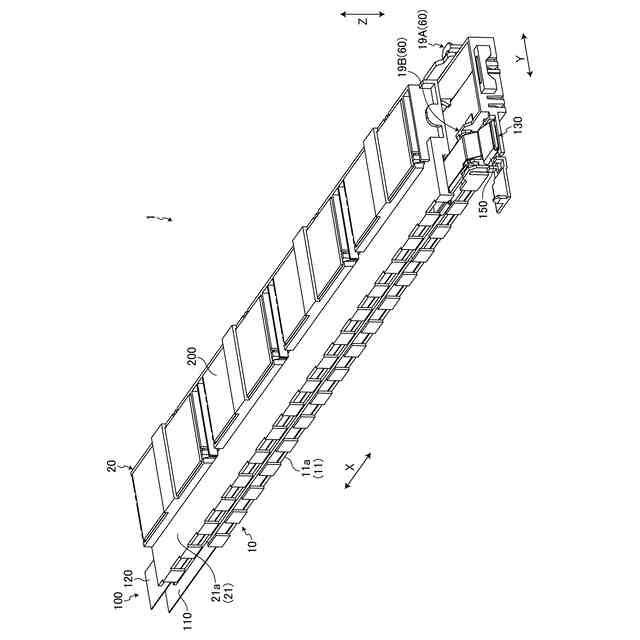
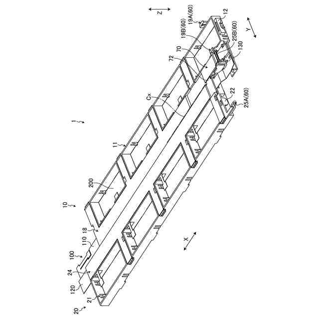
図7は、実施形態に係るワイヤハーネスの斜視図である。
図8は、実施形態に係るワイヤハーネスの斜視図である。
図9は、実施形態に係るワイヤハーネスの斜視図である。
図10は、実施形態の第二の回転工程を説明する図である。
図11は、実施形態に係るワイヤハーネスの斜視図である。
図12は、実施形態に係るフラット配索材の斜視図である。
【発明を実施するための形態】
【0009】
以下に、本発明の実施形態に係るワイヤハーネスにつき図面を参照しつつ詳細に説明する。なお、この実施形態によりこの発明が限定されるものではない。また、下記の実施形態における構成要素には、当業者が容易に想定できるものあるいは実質的に同一のものが含まれる。
【0010】
[実施形態]
図1から図12を参照して、実施形態について説明する。本実施形態は、ワイヤハーネスに関する。図1および図2は、実施形態に係るワイヤハーネスの斜視図、図3は、実施形態に係るケースの平面図、図4は、実施形態に係るケースの斜視図、図5は、実施形態に係るフラット配索材の平面図、図6は、実施形態に係るワイヤハーネスの平面図、図7から図9は、実施形態に係るワイヤハーネスの斜視図、図10は、実施形態の第二の回転工程を説明する図、図11は、実施形態に係るワイヤハーネスの斜視図、図12は、実施形態に係るフラット配索材の斜視図である。
(【0011】以降は省略されています)
この特許をJ-PlatPat(特許庁公式サイト)で参照する
関連特許
株式会社FUJI
制御盤
4日前
オムロン株式会社
電源回路
8日前
トヨタ自動車株式会社
回転子
今日
ミサワホーム株式会社
居住設備
4日前
東京応化工業株式会社
発電装置
8日前
株式会社リコー
拡張アンテナ装置
7日前
日産自動車株式会社
ステータ
1日前
トヨタ自動車株式会社
ロータ
2日前
ユタカ電業株式会社
ケーブルダクト
4日前
ニチコン株式会社
AC入力検出回路
今日
株式会社大林組
可搬式充電設備
1日前
NTN株式会社
モータユニット
4日前
株式会社ミツバ
巻線装置
7日前
株式会社デンソー
電力変換装置
今日
株式会社正興電機製作所
地絡確認装置
7日前
株式会社アイシン
回転電機
今日
株式会社豊田自動織機
車両用機器
4日前
株式会社アイシン
駆動装置
2日前
矢崎総業株式会社
プロテクタ
今日
富士電機株式会社
チャンネルベース
今日
富士電機株式会社
電力変換システム
4日前
株式会社明電舎
回転機
1日前
東京瓦斯株式会社
電動車両充電機器
1日前
Astemo株式会社
電動駆動装置
2日前
富士電機株式会社
チャンネルベース
今日
株式会社豊田自動織機
インバータ装置
4日前
株式会社明電舎
ドローン
4日前
株式会社アイシン
アクチュエータ装置
1日前
トヨタ自動車株式会社
モータの冷却制御装置
今日
Astemo株式会社
電動モータ装置
1日前
ひかり屋根株式会社
ソーラーシェアリングシステム
4日前
東京瓦斯株式会社
充電量把握システム
1日前
株式会社デンソー
電子制御装置
4日前
株式会社明電舎
回転電機
7日前
株式会社TMEIC
電力変換装置
4日前
ASTI株式会社
超音波振動子駆動回路
4日前
続きを見る
他の特許を見る