TOP
|
特許
|
意匠
|
商標
特許ウォッチ
Twitter
他の特許を見る
10個以上の画像は省略されています。
公開番号
2025139344
公報種別
公開特許公報(A)
公開日
2025-09-26
出願番号
2024038227
出願日
2024-03-12
発明の名称
ワイヤハーネス
出願人
矢崎総業株式会社
代理人
弁理士法人虎ノ門知的財産事務所
主分類
H02G
3/04 20060101AFI20250918BHJP(電力の発電,変換,配電)
要約
【課題】外装部材に対する加工作業を低減することができるワイヤハーネスを提供する。
【解決手段】ワイヤハーネスWHは、配索材束WTと、軸線方向Xに沿って延在し、かつ軸線方向Xから視た断面形状が円弧状に形成される外装本体10、及び、軸線方向Xに沿って外装本体10の一端から他端まで延在して形成される開口部11を有する外装部材1と、配索材束WTを外装本体10に収容した収容状態で、開口部11の内側の少なくとも一部に充填される充填部材2と、を備える。
【選択図】図1
特許請求の範囲
【請求項1】
配索材と、
軸線方向から視た断面形状が円弧状に形成され前記軸線方向に沿って延在する外装本体、及び、前記軸線方向に沿って前記外装本体の一方の端から他方の端まで延在して形成される開口部を有する外装部材と、
前記配索材を前記外装本体に収容した収容状態で、前記開口部の内側の少なくとも一部に充填される充填部材と、
を備えることを特徴とするワイヤハーネス。
続きを表示(約 550 文字)
【請求項2】
前記充填部材は、
前記外装本体の前記軸線方向に沿って間隔を空けて充填される
請求項1に記載のワイヤハーネス。
【請求項3】
前記外装部材は、
前記充填部材が前記開口部に充填された状態で、前記外装本体が前記配索材の配索経路に合わせて曲がった形状で維持される
請求項1または2に記載のワイヤハーネス。
【請求項4】
前記外装本体は、
前記軸線方向に沿った中心軸の周りに弧状に形成され前記軸線方向と交差する径方向の一方に向けて突出した複数の山部と、前記中心軸の周りに弧状に形成され前記径方向の他方に向けて凹んだ複数の谷部とが、前記軸線方向に沿って交互に並んで設けられており、かつ、複数の前記山部と複数の前記谷部のうち隣り合う山部及び谷部のそれぞれの間隔が、当該外装本体が直線状態にある場合での当該間隔と異なることとなるように曲がった形状をなしている湾曲部を含み、
前記外装部材は、
前記湾曲部において前記充填部材が前記開口部に充填された状態で、当該充填部材によって当該湾曲部における前記間隔が固定され当該湾曲部が曲がった形状で維持される
請求項1または2に記載のワイヤハーネス。
発明の詳細な説明
【技術分野】
【0001】
本発明は、ワイヤハーネスに関する。
続きを表示(約 1,300 文字)
【背景技術】
【0002】
従来、ワイヤハーネスを保護する外装部材としてコルゲートチューブがある(例えば、特許文献1参照)。コルゲートチューブは、例えば、配索経路に合わせて曲げることが可能である。
【先行技術文献】
【特許文献】
【0003】
特開2019-115229号公報
【発明の概要】
【発明が解決しようとする課題】
【0004】
ところで、従来の外装部材は、軸線方向にスリットが設けられており、当該スリットから内側にワイヤハーネスを収容してテープ巻きが必要である。このテープ巻きには熟練度によって作業スピードや見栄えに差が生じることから、改善の必要がある。
【0005】
本発明は、外装部材に対する加工作業を低減することができるワイヤハーネスを提供することを目的とする。
【課題を解決するための手段】
【0006】
上記目的を達成するために、本発明に係るワイヤハーネスは、配索材と、軸線方向に沿って延在し、かつ軸線方向から視た断面形状が円弧状に形成される外装本体、及び、前記軸線方向に沿って前記外装本体の一端から他端まで延在して形成される開口部を有する外装部材と、前記配索材を前記外装本体に収容した収容状態で、前記開口部の内側の少なくとも一部に充填される充填部材と、を備えることを特徴とする。
【発明の効果】
【0007】
本発明に係るワイヤハーネスによれば、外装部材に対する加工作業を低減することができる、という効果を奏する。
【図面の簡単な説明】
【0008】
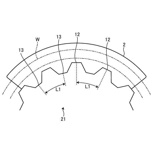
図1は、実施形態に係るワイヤハーネスの概略構成を示す模式図である。
図2は、図1の矢視A-Aにおける断面図である。
図3は、外装部材の直線部における外装本体と充填部材の模式図である。
図4は、外装部材の湾曲部の模式図である。
図5は、外装部材の湾曲部における外装本体と充填部材の模式図である。
図6は、実施形態の第1変形例に係るワイヤハーネスの概略構成を示す模式図である。
図7は、実施形態の第2変形例に係るワイヤハーネスの概略構成を示す模式図である。
図8は、図7の矢視B-Bにおける断面図である。
図9は、実施形態の第3変形例に係るワイヤハーネスの概略構成を示す模式図である。
【発明を実施するための形態】
【0009】
以下に、本発明に係る実施形態について図面を参照しつつ詳細に説明する。なお、下記実施形態により本発明が限定されるものではない。すなわち、下記実施形態における構成要素には、当業者が容易に想定できるもの、あるいは実質的に同一のものが含まれ、発明の要旨を逸脱しない範囲で、種々の省略、置き換え、変更を行うことができる。
【0010】
なお、以下の説明において、図示のX方向をとする。軸線方向Xは、配索材W,配索材束WT,外装部材1それぞれの延在方向に相当する。
(【0011】以降は省略されています)
この特許をJ-PlatPat(特許庁公式サイト)で参照する
関連特許
矢崎総業株式会社
端子
1か月前
矢崎総業株式会社
端子
1か月前
矢崎総業株式会社
照明灯
20日前
矢崎総業株式会社
箱状体
1か月前
矢崎総業株式会社
箱状体
1か月前
矢崎総業株式会社
雌端子
1か月前
矢崎総業株式会社
コネクタ
1か月前
矢崎総業株式会社
配索構造
1か月前
矢崎総業株式会社
照明装置
1か月前
矢崎総業株式会社
コネクタ
11日前
矢崎総業株式会社
コネクタ
13日前
矢崎総業株式会社
コネクタ
1か月前
矢崎総業株式会社
コネクタ
25日前
矢崎総業株式会社
コネクタ
5日前
矢崎総業株式会社
コネクタ
13日前
矢崎総業株式会社
コネクタ
1か月前
矢崎総業株式会社
コネクタ
4日前
矢崎総業株式会社
コネクタ
1か月前
矢崎総業株式会社
コネクタ
1か月前
矢崎総業株式会社
コネクタ
1か月前
矢崎総業株式会社
コネクタ
1日前
矢崎総業株式会社
コネクタ
20日前
矢崎総業株式会社
コネクタ
20日前
矢崎総業株式会社
コネクタ
20日前
矢崎総業株式会社
コネクタ
1か月前
矢崎総業株式会社
コネクタ
25日前
矢崎総業株式会社
コネクタ
25日前
矢崎総業株式会社
カバー構造
20日前
矢崎総業株式会社
電流センサ
22日前
矢崎総業株式会社
電気接続箱
1か月前
矢崎総業株式会社
電流センサ
22日前
矢崎総業株式会社
電気接続箱
4日前
矢崎総業株式会社
プロテクタ
1か月前
矢崎総業株式会社
保護カバー
1か月前
矢崎総業株式会社
電気接続箱
1か月前
矢崎総業株式会社
電気接続箱
21日前
続きを見る
他の特許を見る