TOP
|
特許
|
意匠
|
商標
特許ウォッチ
Twitter
他の特許を見る
10個以上の画像は省略されています。
公開番号
2025138000
公報種別
公開特許公報(A)
公開日
2025-09-25
出願番号
2024036602
出願日
2024-03-11
発明の名称
電子制御ユニット
出願人
矢崎総業株式会社
代理人
個人
,
個人
,
個人
主分類
H01R
9/22 20060101AFI20250917BHJP(基本的電気素子)
要約
【課題】内部での配線自由度を向上させる電子制御ユニットを提供する。
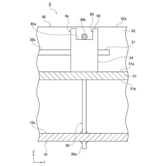
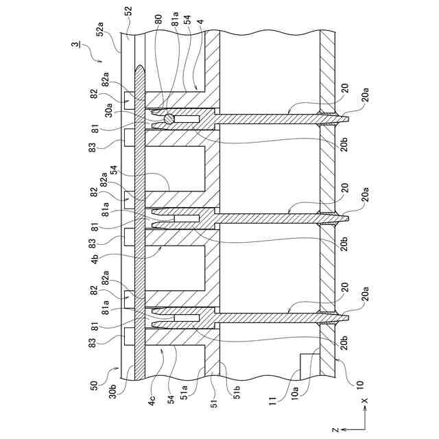
【解決手段】電子制御ユニット1において、配索台50にある第1端子台54は、配索面51aの法線方向に対して直交する第1方向に貫通し、かつ、端子20の第2端部20bの一部を内部で露出させる開口溝81を有する。第1端子台54における上面の少なくとも一部は、配索面51aの法線方向と第1方向とに対して直交する第2方向で横切る配索領域面82aである。配索領域面82aの配索面51aからの高さ位置は、開口溝81の底面81aよりも高く、かつ、側壁部52の先端縁52aの高さ位置から電線30の外径Dの寸法値よりも低く設定される。配索領域面82aの第1方向に沿う第3幅W3は、電線30の外径Dの寸法値よりも広く設定される。
【選択図】図7
特許請求の範囲
【請求項1】
複数の端子と、
複数の前記端子のいずれかの端部に第1端末が接続される複数の電線と、
外部から導入された複数の前記電線を配索させる配索台と、を備え、
前記配索台は、
配索された複数の前記電線に面する配索面を有する基台部と、
前記基台部の縁部に設けられ、前記配索面の法線方向に突出する側壁部と、
前記配索面に設けられる複数の端子台と、を有し、
前記端子台は、前記配索面の前記法線方向に対して直交する第1方向に貫通し、かつ、前記端子の前記端部の一部を内部で露出させる開口溝を有し、
複数の前記端子台の少なくとも1つにおける上面の少なくとも一部は、前記配索面の前記法線方向と前記第1方向とに対して直交する第2方向で横切る配索領域面であり、
前記配索領域面の前記配索面からの高さ位置は、前記開口溝の底面よりも高く、かつ、前記側壁部の先端縁の高さ位置から前記電線の外径の寸法値よりも低く設定され、
前記配索領域面の前記第1方向に沿う幅は、前記電線の前記外径の前記寸法値よりも広く設定される、電子制御ユニット。
続きを表示(約 190 文字)
【請求項2】
前記端子台は、当該端子台に支持された前記端子に接続される前記電線とは異なる前記電線を通過させる電線通過溝を有し、
前記配索領域面は、前記電線通過溝の底面である、請求項1に記載の電子制御ユニット。
【請求項3】
前記電線ごとに前記第1端末とは反対側の第2端末が接続されるコネクタを備える、請求項1又は2に記載の電子制御ユニット。
発明の詳細な説明
【技術分野】
【0001】
本発明は、電子制御ユニットに関する。
続きを表示(約 1,700 文字)
【背景技術】
【0002】
従来、自動車等の車両には、各種機能の制御に利用される電子制御ユニットが搭載されている。一般に、電子制御ユニットは、電子部品を実装した基板を備える。このような基板に類するものとして、特許文献1は、ヒューズ接続用の雄端子を支持するための複数の補強突部等を有する配線板を備えた電気接続箱に関する技術を開示している。
【先行技術文献】
【特許文献】
【0003】
特開2002-58129号公報
【発明の概要】
【発明が解決しようとする課題】
【0004】
特許文献1に開示されている配線板のような基板上において、基板に一端が接合されている端子に電線を接続するような形態も想定され得る。また、複数の電線が基板上で配索される場合には、更に基板と平行に配置される配索台が設けられ、複数の電線を配索台上に配索させた上で、予め配索台上に露出された端子の一部に電線の端末を接続することもあり得る。これに対して、例えば、配索台上に露出する複数の端子の配置がランダムで、また、配索台上で多数の電線が混在するような場合には、配線自由度を向上させるために改良する余地がある。
【0005】
本発明は、このような従来技術が有する課題に鑑みてなされたものである。そして本発明の目的は、内部での配線自由度を向上させる電子制御ユニットを提供することにある。
【課題を解決するための手段】
【0006】
本発明の態様に係る電子制御ユニットは、複数の端子と、複数の端子のいずれかの端部に第1端末が接続される複数の電線と、外部から導入された複数の電線を配索させる配索台と、を備え、配索台は、配索された複数の電線に面する配索面を有する基台部と、基台部の縁部に設けられ、配索面の法線方向に突出する側壁部と、配索面に設けられる複数の端子台と、を有し、端子台は、配索面の法線方向に対して直交する第1方向に貫通し、かつ、端子の端部の一部を内部で露出させる開口溝を有し、複数の端子台の少なくとも1つにおける上面の少なくとも一部は、配索面の法線方向と第1方向とに対して直交する第2方向で横切る配索領域面であり、配索領域面の配索面からの高さ位置は、開口溝の底面よりも高く、かつ、側壁部の先端縁の高さ位置から電線の外径の寸法値よりも低く設定され、配索領域面の第1方向に沿う幅は、電線の外径の寸法値よりも広く設定される。
【発明の効果】
【0007】
本発明によれば、内部での配線自由度を向上させる電子制御ユニットを提供することができる。
【図面の簡単な説明】
【0008】
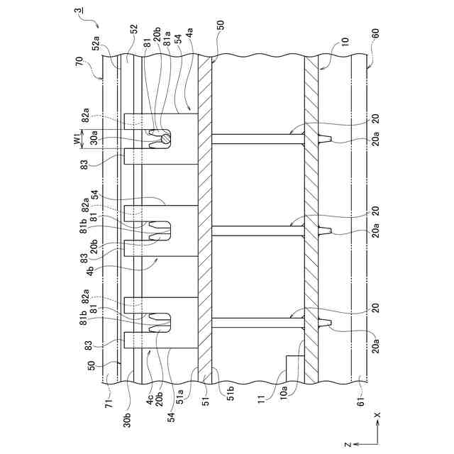
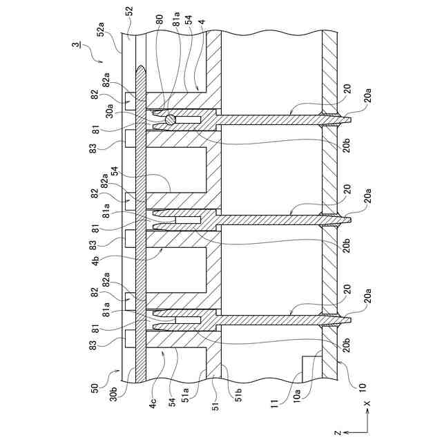
一実施形態に係る電子制御ユニットの斜視図である。
電子制御ユニットに含まれる回路ユニットの斜視図である。
図2のIII部に対応した電線接続部の拡大斜視図である。
配索台上での配線例を含む回路ユニットの平面図である。
図4のV部に対応した電線接続部の拡大平面図である。
図5のVI-VI断面に対応した電線接続部の側面図である。
図5のVII-VII断面に対応した電線接続部の断面図である。
図5のVIII-VIII断面に対応した電線接続部の側面図である。
図5のIX-IX断面に対応した電線接続部の断面図である。
図6に準じて描画された電線接続部の他の例の側面図である。
図8に準じて描画された電線接続部の他の例の側面図である。
【発明を実施するための形態】
【0009】
以下、図面を用いて一実施形態に係る電子制御ユニットについて詳細に説明する。ここで、電子制御ユニットとの用語については、以下、「ECU」と略記する。ECUは、Electronic Control Unitの略語である。なお、図面の寸法比率は説明の都合上誇張されており、実際の比率と異なる場合がある。
【0010】
図1は、一実施形態に係るECU1の斜視図である。図2は、ECU1に含まれる回路ユニット3の斜視図である。
(【0011】以降は省略されています)
この特許をJ-PlatPat(特許庁公式サイト)で参照する
関連特許
矢崎総業株式会社
照明灯
24日前
矢崎総業株式会社
コネクタ
8日前
矢崎総業株式会社
コネクタ
9日前
矢崎総業株式会社
コネクタ
15日前
矢崎総業株式会社
コネクタ
17日前
矢崎総業株式会社
コネクタ
5日前
矢崎総業株式会社
コネクタ
17日前
矢崎総業株式会社
コネクタ
24日前
矢崎総業株式会社
コネクタ
24日前
矢崎総業株式会社
コネクタ
24日前
矢崎総業株式会社
コネクタ
3日前
矢崎総業株式会社
コネクタ
3日前
矢崎総業株式会社
コネクタ
29日前
矢崎総業株式会社
コネクタ
1か月前
矢崎総業株式会社
コネクタ
1日前
矢崎総業株式会社
コネクタ
1日前
矢崎総業株式会社
照明構造
1日前
矢崎総業株式会社
止水部材
1日前
矢崎総業株式会社
コネクタ
29日前
矢崎総業株式会社
コネクタ
1か月前
矢崎総業株式会社
コネクタ
29日前
矢崎総業株式会社
電気接続箱
25日前
矢崎総業株式会社
電流センサ
26日前
矢崎総業株式会社
ゴムブーツ
1日前
矢崎総業株式会社
カバー構造
24日前
矢崎総業株式会社
プロテクタ
1か月前
矢崎総業株式会社
電流センサ
26日前
矢崎総業株式会社
保護カバー
1か月前
矢崎総業株式会社
電気接続箱
8日前
矢崎総業株式会社
電気接続箱
1か月前
矢崎総業株式会社
プロテクタ
1日前
矢崎総業株式会社
ドアハーネス
9日前
矢崎総業株式会社
端子接続構造
1か月前
矢崎総業株式会社
音声出力装置
1か月前
矢崎総業株式会社
電流検出装置
3日前
矢崎総業株式会社
ヒューズ装置
26日前
続きを見る
他の特許を見る