TOP
|
特許
|
意匠
|
商標
特許ウォッチ
Twitter
他の特許を見る
10個以上の画像は省略されています。
公開番号
2025144610
公報種別
公開特許公報(A)
公開日
2025-10-03
出願番号
2024044338
出願日
2024-03-21
発明の名称
コネクタおよびワイヤハーネス
出願人
矢崎総業株式会社
代理人
弁理士法人虎ノ門知的財産事務所
主分類
H01R
13/506 20060101AFI20250926BHJP(基本的電気素子)
要約
【課題】端子ホルダに対する端子の挿入性と保持力とを両立して確保することができるコネクタおよびワイヤハーネスを提供する。
【解決手段】コネクタは雌端子(一方の端子)を保持する端子ホルダ13を備え、端子ホルダは、筒状部13aと、筒状部の上側領域(第1領域)T1に設けられる第1切欠部13dと、筒状部の下側領域(第2領域)T2に設けられ、第1切欠部よりも軸線方向Xに沿った長さが長い第2切欠部13eと、上側領域および下側領域から径方向内方に向けて突出し、軸線方向Xの一端面13i1が雌端子の外周面に形成されたフランジ部と係止される係止部13iと、上側領域から径方向内方に向けて突出すると共に係止部と軸線方向Xに離間して位置され、軸線方向Xの他端面13g1がフランジ部と係止されるストッパ部13gとを含んで構成される。
【選択図】図10
特許請求の範囲
【請求項1】
軸線方向に沿って延在する雌端子および雄端子のうち一方の端子と、
前記一方の端子を保持する端子ホルダと、
前記一方の端子および前記端子ホルダを内部に収容するハウジングと、を備え、
前記端子ホルダは、
内部に前記一方の端子が前記軸線方向に沿って挿入される端子挿入孔が設けられた筒状部と、
前記筒状部の前記軸線方向の一端部における前記軸線方向と交差する高さ方向の中央部よりも一端部側の第1領域に設けられ、前記軸線方向に沿って延在する第1切欠部と、
前記筒状部の前記軸線方向の前記一端部における前記高さ方向の前記中央部よりも他端部側の第2領域に設けられ、前記軸線方向に沿って延在しかつ前記第1切欠部よりも前記軸線方向に沿った長さが長い第2切欠部と、
前記筒状部の前記軸線方向の前記一端部に設けられ、前記第1領域および前記第2領域から前記筒状部の径方向内方に向けて突出し、前記軸線方向の一端面が前記一方の端子の外周面に形成されたフランジ部と係止される係止部と、
前記筒状部の前記軸線方向の前記一端部に設けられ、前記第1領域から前記筒状部の径方向内方に向けて突出すると共に前記係止部と前記軸線方向に沿って離間して位置され、前記軸線方向の他端面が前記フランジ部と係止されるストッパ部と、を含んで構成される、
コネクタ。
続きを表示(約 1,100 文字)
【請求項2】
前記端子ホルダは、前記第1切欠部の前記軸線方向および前記高さ方向と交差する幅方向の両端部に設けられ、当該両端部から前記筒状部の径方向外方に向けて突出し、前記ハウジングの内部に形成されたランス部と位置合わせされる一対の位置決めリブを含んで構成される、
請求項1に記載のコネクタ。
【請求項3】
前記端子ホルダは、前記筒状部の前記軸線方向の前記一端部に設けられ、前記第1領域および前記第2領域から前記筒状部の径方向内方に向けて突出し、前記一方の端子を前記筒状部の中心に向けてセンタリングするリブを含んで構成され、
前記フランジ部と前記係止部との間の係代は、前記端子ホルダの外周面と前記ハウジングの端子収容室の内周面との間の第1クリアランスと、前記端子ホルダの内周面に設けられた前記リブと前記一方の端子の外周面に設けられた前記フランジ部との間の第2クリアランスと、の合計よりも大きい、
請求項1または2に記載のコネクタ。
【請求項4】
導電性を有する配索材と、
前記配索材の端末に設けられるコネクタと、を備え、
前記コネクタは、
軸線方向に沿って延在する雌端子および雄端子のうち一方の端子と、
前記一方の端子を保持する端子ホルダと、
前記一方の端子および前記端子ホルダを内部に収容するハウジングと、を有し、
前記端子ホルダは、
内部に前記一方の端子が前記軸線方向に沿って挿入される端子挿入孔が設けられた筒状部と、
前記筒状部の前記軸線方向の一端部における前記軸線方向と交差する高さ方向の中央部よりも一端部側の第1領域に設けられ、前記軸線方向に沿って延在する第1切欠部と、
前記筒状部の前記軸線方向の前記一端部における前記高さ方向の前記中央部よりも他端部側の第2領域に設けられ、前記軸線方向に沿って延在しかつ前記第1切欠部よりも前記軸線方向に沿った長さが長い第2切欠部と、
前記筒状部の前記軸線方向の前記一端部に設けられ、前記第1領域および前記第2領域から前記筒状部の径方向内方に向けて突出し、前記軸線方向の一端面が前記一方の端子の外周面に形成されたフランジ部と係止される係止部と、
前記筒状部の前記軸線方向の前記一端部に設けられ、前記第1領域から前記筒状部の径方向内方に向けて突出すると共に前記係止部と前記軸線方向に沿って離間して位置され、前記軸線方向の他端面が前記フランジ部と係止されるストッパ部と、を含んで構成される、
ワイヤハーネス。
発明の詳細な説明
【技術分野】
【0001】
本発明は、コネクタおよびワイヤハーネスに関する。
続きを表示(約 3,100 文字)
【背景技術】
【0002】
従来のワイヤハーネスのコネクタに関する技術として、例えば、特許文献1には、雌端子および雄端子のうち一方の端子と、一方の端子を保持する端子ホルダと、一方の端子および端子ホルダを内部に収容するハウジングと、を備えたコネクタが開示されている。端子ホルダには、軸線方向に沿って延在する複数の切欠部が設けられている。
【先行技術文献】
【特許文献】
【0003】
特開2022-72046号公報
【発明の概要】
【発明が解決しようとする課題】
【0004】
ところで、上述した特許文献1に記載のコネクタでは、例えば、端子ホルダに対する端子の挿入性と保持力とを両立して確保する点で、更なる改善の余地があった。
【0005】
本発明は、上記の事情に鑑みてなされたものであって、端子ホルダに対する端子の挿入性と保持力とを両立して確保することができるコネクタおよびワイヤハーネスを提供することを目的とする。
【課題を解決するための手段】
【0006】
上記目的を達成するために、本発明に係るコネクタは、軸線方向に沿って延在する雌端子および雄端子のうち一方の端子と、前記一方の端子を保持する端子ホルダと、前記一方の端子および前記端子ホルダを内部に収容するハウジングと、を備え、前記端子ホルダは、内部に前記一方の端子が前記軸線方向に沿って挿入される端子挿入孔が設けられた筒状部と、前記筒状部の前記軸線方向の一端部における前記軸線方向と交差する高さ方向の中央部よりも一端部側の第1領域に設けられ、前記軸線方向に沿って延在する第1切欠部と、前記筒状部の前記軸線方向の前記一端部における前記高さ方向の前記中央部よりも他端部側の第2領域に設けられ、前記軸線方向に沿って延在しかつ前記第1切欠部よりも前記軸線方向に沿った長さが長い第2切欠部と、前記筒状部の前記軸線方向の前記一端部に設けられ、前記第1領域および前記第2領域から前記筒状部の径方向内方に向けて突出し、前記軸線方向の一端面が前記一方の端子の外周面に形成されたフランジ部と係止される係止部と、前記筒状部の前記軸線方向の前記一端部に設けられ、前記第1領域から前記筒状部の径方向内方に向けて突出すると共に前記係止部と前記軸線方向に沿って離間して位置され、前記軸線方向Xの他端面が前記フランジ部と係止されるストッパ部と、を含んで構成される。
【発明の効果】
【0007】
本発明に係るコネクタおよびワイヤハーネスでは、端子ホルダは、筒状部の第1領域に設けられる第1切欠部と、筒状部の第2領域に設けられ、第1切欠部よりも軸線方向に沿った長さが長い第2切欠部と、筒状部の第1領域および第2領域に設けられ、軸線方向の一端面が一方の端子の外周面に形成されたフランジ部と係止される係止部と、筒状部の第1領域に設けられ、軸線方向の他端面がフランジ部と係止されるストッパ部と、を含んで構成される。この構成により、コネクタおよびワイヤハーネスは、例えば、第1切欠部および第2切欠部によって筒状部の第1領域と第2領域とで撓み量(変形量)の差を付けて係止部とストッパ部とを撓ませることができる。この結果、コネクタおよびワイヤハーネスは、端子ホルダに対する端子の挿入性と保持力とを両立して確保することができる、という効果を奏する。
【図面の簡単な説明】
【0008】
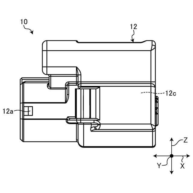
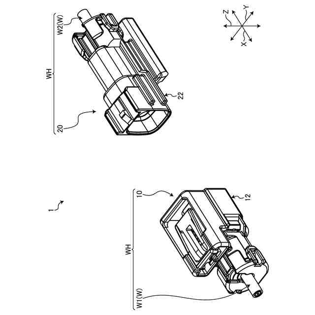
図1は、実施形態に係るコネクタユニットの例示的な分解斜視図である。
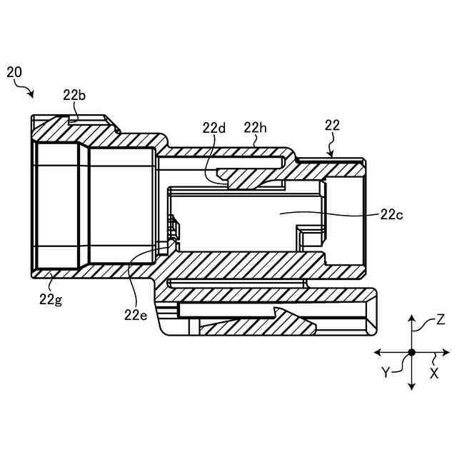
図2は、実施形態に係るコネクタユニットの相手側コネクタの例示的な分解斜視図である。
図3は、実施形態に係るコネクタユニットのコネクタの例示的な分解斜視図である。
図4は、実施形態に係るコネクタの例示的な側面図である。
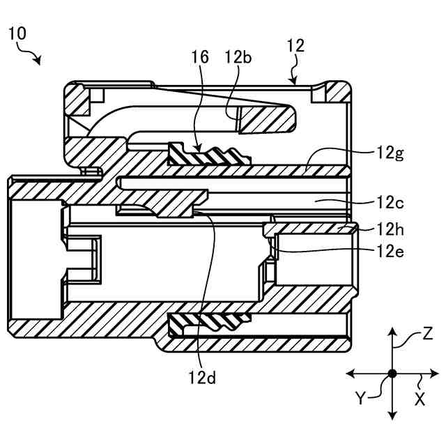
図5は、実施形態に係るコネクタの例示的な断面図である。
図6は、実施形態に係る相手側コネクタの例示的な側面図である。
図7は、実施形態に係る相手側コネクタの例示的な断面図である。
図8は、実施形態に係るコネクタの端子ホルダの例示的な斜視図である。
図9は、実施形態に係る相手側コネクタの端子ホルダの例示的な斜視図である。
図10は、実施形態に端子ホルダの例示的な断面図である。
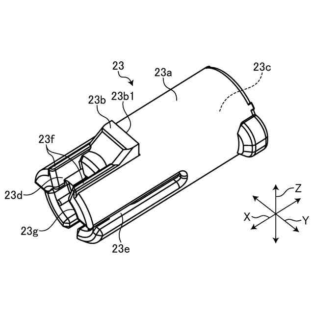
図11は、実施形態に係るコネクタの雌端子の例示的な斜視図である。
図12は、実施形態に係るコネクタの雌端子の例示的な分解斜視図である。
図13は、実施形態に係る相手側コネクタの雄端子の例示的な斜視図である。
図14は、実施形態に係る相手側コネクタの例示的な断面図である。
図15は、実施形態に係るコネクタの例示的な断面図である。
図16は、実施形態に係るコネクタの雌端子および端子ホルダの例示的な側面図である。
図17は、実施形態に係るコネクタの雌端子および端子ホルダの例示的な正面図である。
図18は、実施形態に係るコネクタの雌端子および端子ホルダの例示的な断面図であって、端子ホルダの第1挿入工程を示した図である。
図19は、実施形態に係るコネクタの雌端子および端子ホルダの例示的な断面図であって、端子ホルダの第2挿入工程を示した図である。
図20は、実施形態に係るコネクタの雌端子および端子ホルダの例示的な断面図であって、端子ホルダの第3挿入工程を示した図である。
図21は、実施形態に係るコネクタの雌端子および端子ホルダの例示的な断面図であって、端子ホルダの第4挿入工程を示した図である。
図22は、図15の端子ホルダの係止部の近傍の拡大図である。
図23は、実施形態に係るコネクタの端子ホルダの例示的な断面図である。
【発明を実施するための形態】
【0009】
以下、本発明に係る実施形態を図面に基づいて詳細に説明する。なお、下記実施形態によりこの発明が限定されるものではない。また、下記実施形態における構成要素には、当業者が置換可能かつ容易なもの、あるいは実質的に同一のものが含まれる。なお、本明細書では、序数は、部品や、部材、部位、位置、方向等を区別するためだけに用いられており、順番や優先度を示すものではない。
【0010】
[実施形態]
図1は、実施形態に係るコネクタユニット1の分解斜視図である。図1に示される本実施形態のコネクタユニット1は、自動車等の車両に配索されるワイヤハーネスWHに組み込まれるものである。ここで、ワイヤハーネスWHは、例えば、車両に搭載される各機器間の接続のために、電源供給や信号通信に用いられる配索材Wを束にして集合部品とし、コネクタ等で配索材Wを各機器に接続するようにしたものである。本実施形態のワイヤハーネスWHは、例えば、導電性を有する複数の配索材Wと、複数の配索材Wのうち第1シールド電線W1の端末に設けられるコネクタ10と、複数の配索材Wのうち第2シールド電線W2の端末に設けられ、コネクタ10と電気的かつ機械的に接続される相手側コネクタ20と、を備えている。なお、ワイヤハーネスWHは、この他、さらに、グロメットや、固定具など種々の構成部品を含んで構成されてもよい。
(【0011】以降は省略されています)
この特許をJ-PlatPat(特許庁公式サイト)で参照する
関連特許
矢崎総業株式会社
端子
1か月前
矢崎総業株式会社
端子
1か月前
矢崎総業株式会社
照明灯
27日前
矢崎総業株式会社
雌端子
1か月前
矢崎総業株式会社
箱状体
1か月前
矢崎総業株式会社
箱状体
1か月前
矢崎総業株式会社
コネクタ
1か月前
矢崎総業株式会社
コネクタ
1か月前
矢崎総業株式会社
コネクタ
20日前
矢崎総業株式会社
コネクタ
8日前
矢崎総業株式会社
コネクタ
1か月前
矢崎総業株式会社
コネクタ
今日
矢崎総業株式会社
コネクタ
11日前
矢崎総業株式会社
コネクタ
1か月前
矢崎総業株式会社
コネクタ
1か月前
矢崎総業株式会社
コネクタ
12日前
矢崎総業株式会社
コネクタ
27日前
矢崎総業株式会社
コネクタ
18日前
矢崎総業株式会社
コネクタ
27日前
矢崎総業株式会社
コネクタ
27日前
矢崎総業株式会社
コネクタ
1か月前
矢崎総業株式会社
コネクタ
1か月前
矢崎総業株式会社
コネクタ
6日前
矢崎総業株式会社
止水部材
4日前
矢崎総業株式会社
コネクタ
今日
矢崎総業株式会社
コネクタ
1か月前
矢崎総業株式会社
照明装置
1か月前
矢崎総業株式会社
コネクタ
今日
矢崎総業株式会社
コネクタ
4日前
矢崎総業株式会社
コネクタ
4日前
矢崎総業株式会社
コネクタ
6日前
矢崎総業株式会社
照明構造
4日前
矢崎総業株式会社
配索構造
1か月前
矢崎総業株式会社
コネクタ
1か月前
矢崎総業株式会社
コネクタ
1か月前
矢崎総業株式会社
コネクタ
20日前
続きを見る
他の特許を見る