TOP
|
特許
|
意匠
|
商標
特許ウォッチ
Twitter
他の特許を見る
10個以上の画像は省略されています。
公開番号
2025145648
公報種別
公開特許公報(A)
公開日
2025-10-03
出願番号
2024045941
出願日
2024-03-22
発明の名称
照明、照明と被取付部材との防水構造
出願人
矢崎総業株式会社
代理人
個人
,
個人
,
個人
主分類
F21V
15/01 20060101AFI20250926BHJP(照明)
要約
【課題】照明における発光効率を高め、光漏れを抑制する。
【解決手段】自動車用インジケータ照明である照明1は、車両パネルの裏側に取り付けられる。照明1は、2つのLED54が搭載された基板5と、ハウジング3と、2つのバスバー4と、第1カバー2及び第2カバー6と、スポンジ製の防水部材7と、を備えている。防水部材7は、第2カバー6の第2透光板61に貼り付けられている。防水部材7は、2つのLED54からの光を通す四角形の通し孔70を有する四角枠状に形成されている。防水部材7の外形サイズは、第2透光板61の外形サイズとほぼ等しい。2つのLED54からの光は、第1カバー2の第1透光板21及び第2カバー6の第2透光板61を透過し、防水部材7の通し孔70及び車両パネルの貫通孔を通されて車両パネルの表側に照射される。
【選択図】図3
特許請求の範囲
【請求項1】
複数の光源と、
前記複数の光源を収容したハウジングと、
前記ハウジングに組み付けられ、前記複数の光源からの光を透過させるカバーと、
前記カバーに取り付けられたスポンジ製の防水部材と、を備え、
前記防水部材は、前記複数の光源からの光を通す四角形の通し孔を有する四角枠状に形成されている
ことを特徴とする照明。
続きを表示(約 580 文字)
【請求項2】
前記カバーは、前記ハウジングに組み付けられた第1カバーと、前記第1カバーに組み付けられ、前記防水部材が取り付けられた第2カバーと、の2部品を備えている
ことを特徴とする請求項1に記載の照明。
【請求項3】
前記複数の光源が搭載された基板を備え、
前記第1カバーは、前記基板と対向し、前記複数の光源からの光を透過させる第1透光板と、該第1透光板に交差した第1側板と、を備え、
前記第2カバーは、前記第1透光板に重ねられた第2透光板と、前記第1側板に重ねられた第2側板と、を備え、
前記第1側板及び前記第2側板に、互いに係止した係止構造が設けられている
ことを特徴とする請求項2に記載の照明。
【請求項4】
請求項1~3の何れか1項に記載の照明と、該照明が取り付けられた被取付部材との防水構造であって、
前記被取付部材には、貫通孔が形成されており、
前記防水部材は、前記被取付部材の貫通孔の外周部に圧縮状態で当たっていることにより、前記被取付部材と前記カバーとの間を止水しており、
前記複数の光源からの光は、前記カバーを透過し、前記防水部材の通し孔及び前記被取付部材の貫通孔を通される
ことを特徴とする照明と被取付部材との防水構造。
発明の詳細な説明
【技術分野】
【0001】
本発明は、照明に関するものである。
続きを表示(約 1,400 文字)
【背景技術】
【0002】
自動車は、種々の場所に照明(例えば、ルームランプ、マップランプ、カーテシランプ、充電口照明、等)が設置されている(特許文献1参照)。
【先行技術文献】
【特許文献】
【0003】
特開2020-13674号公報
【発明の概要】
【発明が解決しようとする課題】
【0004】
図9~11は、本願発明者が開発した参考例の自動車用照明を示す図である。この照明501は、車両パネルに取り付けられるインジケータ照明である。
【0005】
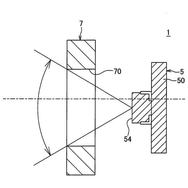
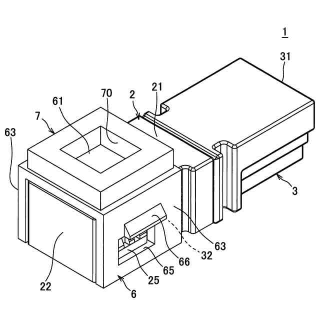
照明501は、光源である2つのLED(Light Emitting Diode)54が搭載された基板5と、バスバーと、ハウジング3と、第1カバー2及び第2カバー6と、スポンジ製の防水部材507と、を備えている。
【0006】
ハウジング3は、不透光性の合成樹脂で構成されている。ハウジング3は、電源に接続された相手コネクタが嵌合されるフード部31と、部品収容部32と、を有している。基板5は、部品収容部32に収容されている。バスバーは、フード部31内に配置されて相手コネクタと電気的に接続される端子部と、部品収容部32に配置されて基板5と電気的に接続された基板接続部と、を有している。
【0007】
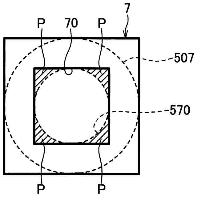
第1カバー2は、透光性の合成樹脂で構成されている。第1カバー2は、ハウジング3に組み付けられて部品収容部32の開口箇所を閉塞している。第2カバー6は、透光性の合成樹脂で構成されている。第2カバー6は、第1カバー2に重ねられて第1カバー2に組み付けられている。防水部材507は、第2カバー6の表面に取り付けられている。防水部材507は、2つのLED54からの光を通す円形の通し孔570を有するリング状に形成されている。
【0008】
照明501は、貫通孔が形成された車両パネルの裏側に取り付けられる。照明501が車両パネルの裏側に取り付けられた状態で、防水部材507は、前記貫通孔の外周部に圧縮状態で当たっていることにより、車両パネルと第2カバー6との間を止水している。また、2つのLED54からの光は、第1カバー2及び第2カバー6を透過し、防水部材507の通し孔570及び車両パネルの貫通孔を通されて車両パネルの表側に照射される。
【0009】
上記照明501においては、防水部材507がリング状であり、LED54を複数個使用する際には、図11に示すようにリング状の防水部材507によってLED54の端部光(図11に破線で示す。)が遮られてしまう構造となっている。即ち、図11は、防水部材507の中心から外れた部位の断面図であり、中心から外れているがゆえに通し孔570が狭くなっており、そのためにLED54の端部光が遮られてしまっている。なお、図11においては、第1カバー2、第2カバー6、ハウジング3の図示を省略している。また、防水部材507がリング状であるがゆえに、第2カバー6における防水部材507の取付面の四隅に光の透過部が存在してしまい、該四隅から光漏れが生じる恐れがあった。
【0010】
そこで、本発明は、照明における発光効率を高め、光漏れを抑制することを目的とする。
【課題を解決するための手段】
(【0011】以降は省略されています)
この特許をJ-PlatPat(特許庁公式サイト)で参照する
関連特許
矢崎総業株式会社
照明灯
26日前
矢崎総業株式会社
コネクタ
26日前
矢崎総業株式会社
コネクタ
5日前
矢崎総業株式会社
コネクタ
19日前
矢崎総業株式会社
コネクタ
11日前
矢崎総業株式会社
コネクタ
19日前
矢崎総業株式会社
コネクタ
10日前
矢崎総業株式会社
コネクタ
26日前
矢崎総業株式会社
コネクタ
26日前
矢崎総業株式会社
コネクタ
7日前
矢崎総業株式会社
コネクタ
1か月前
矢崎総業株式会社
コネクタ
1か月前
矢崎総業株式会社
コネクタ
1か月前
矢崎総業株式会社
コネクタ
17日前
矢崎総業株式会社
コネクタ
5日前
矢崎総業株式会社
コネクタ
1か月前
矢崎総業株式会社
コネクタ
3日前
矢崎総業株式会社
コネクタ
3日前
矢崎総業株式会社
照明構造
3日前
矢崎総業株式会社
コネクタ
1か月前
矢崎総業株式会社
止水部材
3日前
矢崎総業株式会社
コネクタ
1か月前
矢崎総業株式会社
コネクタ
1か月前
矢崎総業株式会社
プロテクタ
1か月前
矢崎総業株式会社
電気接続箱
27日前
矢崎総業株式会社
保護カバー
1か月前
矢崎総業株式会社
ゴムブーツ
3日前
矢崎総業株式会社
電気接続箱
10日前
矢崎総業株式会社
カバー構造
26日前
矢崎総業株式会社
プロテクタ
3日前
矢崎総業株式会社
電気接続箱
1か月前
矢崎総業株式会社
電流センサ
28日前
矢崎総業株式会社
電流センサ
28日前
矢崎総業株式会社
ヒューズ装置
28日前
矢崎総業株式会社
ヒューズ装置
28日前
矢崎総業株式会社
端子接続構造
27日前
続きを見る
他の特許を見る