TOP
|
特許
|
意匠
|
商標
特許ウォッチ
Twitter
他の特許を見る
10個以上の画像は省略されています。
公開番号
2025144613
公報種別
公開特許公報(A)
公開日
2025-10-03
出願番号
2024044341
出願日
2024-03-21
発明の名称
コネクタおよびワイヤハーネス
出願人
矢崎総業株式会社
代理人
弁理士法人虎ノ門知的財産事務所
主分類
H01R
13/506 20060101AFI20250926BHJP(基本的電気素子)
要約
【課題】端子の保持力を向上することができるコネクタおよびワイヤハーネスを提供することを目的とする。
【解決手段】コネクタ10は、雌端子11(一方の端子)と、雌端子11を保持する端子ホルダ13と、雌端子11および端子ホルダ13を内部に収容するハウジング12と、を備え、端子ホルダ13は、内部に雌端子11が軸線方向Xに沿って挿入される端子挿入孔13cが設けられた筒状部13aと、筒状部13aから径方向外方に向けて突出し、軸線方向Xの一端面13b1がハウジング12の内部に形成されたランス部12dと係止されるロック突起部13bと、筒状部13aから径方向内方に向けて突出し、軸線方向Xの他端面13i1が雌端子11の外周面に形成されたフランジ部11a1と係止される係止部13iと、を含んで構成される。
【選択図】図15
特許請求の範囲
【請求項1】
軸線方向に沿って延在する雌端子および雄端子のうち一方の端子と、
前記一方の端子を保持する端子ホルダと、
前記一方の端子および前記端子ホルダを内部に収容するハウジングと、を備え、
前記端子ホルダは、
内部に前記一方の端子が前記軸線方向に沿って挿入される端子挿入孔が設けられた筒状部と、
前記筒状部から当該筒状部の径方向外方に向けて突出し、前記軸線方向の一端面が前記ハウジングの内部に形成されたランス部と係止されるロック突起部と、
前記筒状部から当該筒状部の径方向内方に向けて突出し、前記軸線方向の他端面が前記一方の端子の外周面に形成されたフランジ部と係止される係止部と、を含んで構成される、
コネクタ。
続きを表示(約 610 文字)
【請求項2】
前記一方の端子は、インナ端子と、内部に前記インナ端子を収容するインナ端子収容空間部が設けられたアウタ端子と、を含んで構成され、
前記アウタ端子は、前記インナ端子収容空間部を形成する部分の壁面に前記フランジ部が形成されており、かつ、当該壁面が、前記アウタ端子の径方向において前記インナ端子収容空間部に収容された前記インナ端子を外部空間から遮蔽している、
請求項1に記載のコネクタ。
【請求項3】
導電性を有する配索材と、
前記配索材の端末に設けられるコネクタと、を備え、
前記コネクタは、
軸線方向に沿って延在する雌端子および雄端子のうち一方の端子と、
前記一方の端子を保持する端子ホルダと、
前記一方の端子および前記端子ホルダを内部に収容するハウジングと、を備え、
前記端子ホルダは、
内部に前記一方の端子が前記軸線方向に沿って挿入される端子挿入孔が設けられた筒状部と、
前記筒状部から当該筒状部の径方向外方に向けて突出し、前記軸線方向の一端面が前記ハウジングの内部に形成されたランス部と係止されるロック突起部と、
前記筒状部から当該筒状部の径方向内方に向けて突出し、前記軸線方向の他端面が前記一方の端子の外周面に形成されたフランジ部と係止される係止部と、を含んで構成される、
ワイヤハーネス。
発明の詳細な説明
【技術分野】
【0001】
本発明は、コネクタおよびワイヤハーネスに関する。
続きを表示(約 2,300 文字)
【背景技術】
【0002】
従来のワイヤハーネスのコネクタに関する技術として、例えば、特許文献1には、雌端子および雄端子のうち一方の端子と、一方の端子を保持する端子ホルダと、一方の端子および端子ホルダを内部に収容するハウジングと、を備えたコネクタが開示されている。
【先行技術文献】
【特許文献】
【0003】
特開2023-155644号公報
【発明の概要】
【発明が解決しようとする課題】
【0004】
ところで、上述した特許文献1に記載のコネクタでは、例えば、一方の端子にハウジングのランス部と軸線方向に沿って係止される係止部が設けられているため、端子の保持力が低下してしまう虞があった。
【0005】
本発明は、上記の事情に鑑みてなされたものであって、端子の保持力を向上することができるコネクタおよびワイヤハーネスを提供することを目的とする。
【課題を解決するための手段】
【0006】
上記目的を達成するために、本発明に係るコネクタは、軸線方向に沿って延在する雌端子および雄端子のうち一方の端子と、前記一方の端子を保持する端子ホルダと、前記一方の端子および前記端子ホルダを内部に収容するハウジングと、を備え、前記端子ホルダは、内部に前記一方の端子が前記軸線方向に沿って挿入される端子挿入孔が設けられた筒状部と、前記筒状部から当該筒状部の径方向外方に向けて突出し、前記軸線方向の一端面が前記ハウジングの内部に形成されたランス部と係止されるロック突起部と、前記筒状部から当該筒状部の径方向内方に向けて突出し、前記軸線方向の他端面が前記一方の端子の外周面に形成されたフランジ部と係止される係止部と、を含んで構成される。
【発明の効果】
【0007】
本発明に係るコネクタおよびワイヤハーネスでは、端子ホルダは、筒状部から径方向外方に向けて突出し、軸線方向の一端面がハウジングの内部に形成されたランス部と係止されるロック突起部と、筒状部から径方向内方に向けて突出し、軸線方向の他端面が一方の端子の外周面に形成されたフランジ部と係止される係止部と、を含んで構成される。この構成により、コネクタおよびワイヤハーネスは、例えば、端子ホルダを使用することにより、当該端子ホルダのロック突起部および係止部を介して一方の端子をランス部に対して二重に係止することができる。この結果、コネクタおよびワイヤハーネスは、端子の保持力を向上することができる、という効果を奏する。
【図面の簡単な説明】
【0008】
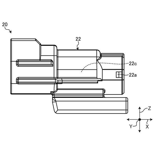
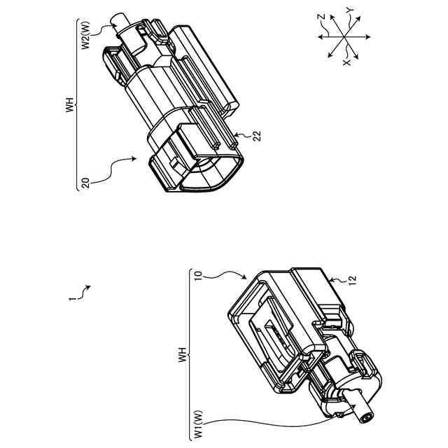
図1は、実施形態に係るコネクタユニットの例示的な分解斜視図である。
図2は、実施形態に係るコネクタユニットの相手側コネクタの例示的な分解斜視図である。
図3は、実施形態に係るコネクタユニットのコネクタの例示的な分解斜視図である。
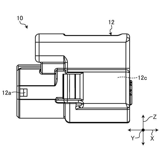
図4は、実施形態に係るコネクタの例示的な側面図である。
図5は、実施形態に係るコネクタの例示的な断面図である。
図6は、実施形態に係る相手側コネクタの例示的な側面図である。
図7は、実施形態に係る相手側コネクタの例示的な断面図である。
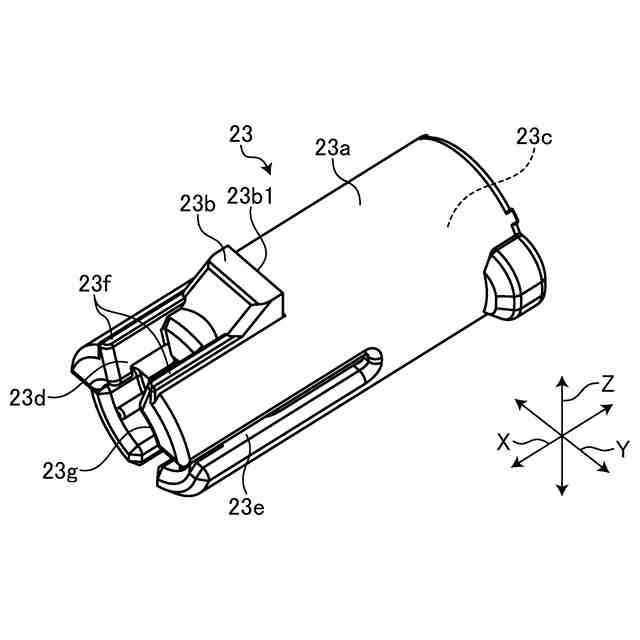
図8は、実施形態に係るコネクタの端子ホルダの例示的な斜視図である。
図9は、実施形態に係る相手側コネクタの端子ホルダの例示的な斜視図である。
図10は、実施形態に端子ホルダの例示的な断面図である。
図11は、実施形態に係るコネクタの雌端子の例示的な斜視図である。
図12は、実施形態に係るコネクタの雌端子の例示的な分解斜視図である。
図13は、実施形態に係る相手側コネクタの雄端子の例示的な斜視図である。
図14は、実施形態に係る相手側コネクタの例示的な断面図である。
図15は、実施形態に係るコネクタの例示的な断面図である。
【発明を実施するための形態】
【0009】
以下、本発明に係る実施形態を図面に基づいて詳細に説明する。なお、下記実施形態によりこの発明が限定されるものではない。また、下記実施形態における構成要素には、当業者が置換可能かつ容易なもの、あるいは実質的に同一のものが含まれる。なお、本明細書では、序数は、部品や、部材、部位、位置、方向等を区別するためだけに用いられており、順番や優先度を示すものではない。
【0010】
[実施形態]
図1は、実施形態に係るコネクタユニット1の分解斜視図である。図1に示される本実施形態のコネクタユニット1は、自動車等の車両に配索されるワイヤハーネスWHに組み込まれるものである。ここで、ワイヤハーネスWHは、例えば、車両に搭載される各機器間の接続のために、電源供給や信号通信に用いられる配索材Wを束にして集合部品とし、コネクタ10等で配索材Wを各機器に接続するようにしたものである。本実施形態のワイヤハーネスWHは、例えば、導電性を有する複数の配索材Wと、複数の配索材Wのうち第1シールド電線W1の端末に設けられるコネクタ10と、複数の配索材Wのうち第2シールド電線W2の端末に設けられ、コネクタ10と電気的かつ機械的に接続される相手側コネクタ20と、を備えている。なお、ワイヤハーネスWHは、この他、さらに、グロメットや、固定具など種々の構成部品を含んで構成されてもよい。
(【0011】以降は省略されています)
この特許をJ-PlatPat(特許庁公式サイト)で参照する
関連特許
矢崎総業株式会社
端子
1か月前
矢崎総業株式会社
端子
1か月前
矢崎総業株式会社
照明灯
27日前
矢崎総業株式会社
雌端子
1か月前
矢崎総業株式会社
箱状体
1か月前
矢崎総業株式会社
箱状体
1か月前
矢崎総業株式会社
コネクタ
1か月前
矢崎総業株式会社
コネクタ
1か月前
矢崎総業株式会社
コネクタ
20日前
矢崎総業株式会社
コネクタ
8日前
矢崎総業株式会社
コネクタ
1か月前
矢崎総業株式会社
コネクタ
今日
矢崎総業株式会社
コネクタ
11日前
矢崎総業株式会社
コネクタ
1か月前
矢崎総業株式会社
コネクタ
1か月前
矢崎総業株式会社
コネクタ
12日前
矢崎総業株式会社
コネクタ
27日前
矢崎総業株式会社
コネクタ
18日前
矢崎総業株式会社
コネクタ
27日前
矢崎総業株式会社
コネクタ
27日前
矢崎総業株式会社
コネクタ
1か月前
矢崎総業株式会社
コネクタ
1か月前
矢崎総業株式会社
コネクタ
6日前
矢崎総業株式会社
止水部材
4日前
矢崎総業株式会社
コネクタ
今日
矢崎総業株式会社
コネクタ
1か月前
矢崎総業株式会社
照明装置
1か月前
矢崎総業株式会社
コネクタ
今日
矢崎総業株式会社
コネクタ
4日前
矢崎総業株式会社
コネクタ
4日前
矢崎総業株式会社
コネクタ
6日前
矢崎総業株式会社
照明構造
4日前
矢崎総業株式会社
配索構造
1か月前
矢崎総業株式会社
コネクタ
1か月前
矢崎総業株式会社
コネクタ
1か月前
矢崎総業株式会社
コネクタ
20日前
続きを見る
他の特許を見る