TOP
|
特許
|
意匠
|
商標
特許ウォッチ
Twitter
他の特許を見る
公開番号
2025164100
公報種別
公開特許公報(A)
公開日
2025-10-30
出願番号
2024067869
出願日
2024-04-19
発明の名称
ホルダ付きコネクタ
出願人
矢崎総業株式会社
代理人
個人
,
個人
,
個人
主分類
H01R
43/22 20060101AFI20251023BHJP(基本的電気素子)
要約
【課題】本係止状態から仮係止状態へのホルダの解除時において端子の損傷を抑制する。
【解決手段】ホルダ付きコネクタが、ホルダ収容部5内に突出する第1オス端子1が設けられたオスハウジング3と、ホルダ収容部5に挿入され、オスハウジング3の基壁部6に係止可能なオスフロントホルダ4とを備える。オスフロントホルダ4は、基部15と、基部15からホルダ収容部5の開口端5a側へ張り出したリブ本体部16と、リブ本体部16の上面16aから突出したリブ補強部17とを有する。リブ本体部16のうちリブ補強部17および基部15に隣接した位置には挿入孔21が形成されている。挿入孔21には、オスハウジング3に対してオスフロントホルダ4を移動させる抜き治具22の先端部に設けられたフック部22cが挿入される。
【選択図】図2
特許請求の範囲
【請求項1】
ホルダ収容部を有し、該ホルダ収容部内に突出する端子が設けられた有底筒状のハウジングと、
前記ホルダ収容部に挿入され、前記ホルダ収容部の開口端とは反対側に位置する前記ホルダ収容部の壁部に係止可能なホルダであって、前記端子が挿通する穴部が形成された基部を有する前記ホルダと、
を備え、
前記ホルダは、前記基部から前記ホルダ収容部の開口端側へ張り出したリブ本体部と、前記リブ本体部の上面から突出し、前記基部から前記リブ本体部の先端まで延びるリブ補強部とを有し、
前記リブ本体部のうち前記リブ補強部に隣接した位置、または前記リブ補強部のうち前記リブ本体部に隣接した位置には、挿入孔が形成されており、
前記挿入孔には、前記ハウジングに対して前記ホルダを移動させる治具の先端部に設けられたフック部が挿入される、
ホルダ付きコネクタ。
続きを表示(約 76 文字)
【請求項2】
前記挿入孔は、前記リブ本体部のうち前記基部に隣接した位置に形成されることを特徴とする請求項1に記載のホルダ付きコネクタ。
発明の詳細な説明
【技術分野】
【0001】
本発明は、ホルダ付きコネクタに関する。
続きを表示(約 1,800 文字)
【背景技術】
【0002】
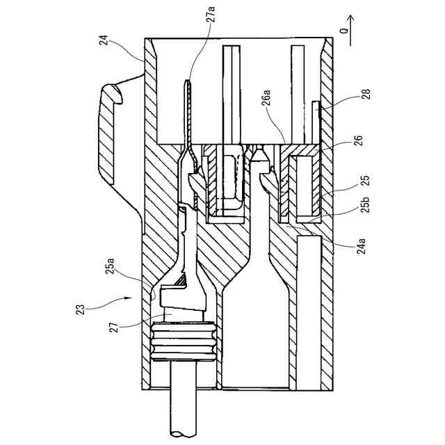
図6に示すように、特許文献1に記載のホルダ付きコネクタ23は、隔壁部24aを有した有底筒状のハウジング24と、該隔壁部24aに設けられたホルダ収容部25に収容されるフロントホルダ26とを有している。また、隔壁部24aのうちホルダ収容部25よりも上側の位置には、オス端子27が挿入される貫通穴25aが形成されており、この貫通穴25aを通して、オス端子27のタブ27aがホルダ収容部25内に突出している。また、図6に示す配置では、フロントホルダ26がハウジング24のホルダ収容部25に完全に挿入されたうえで隔壁部24aに係止された本係止状態となっている。また、図6および図7に示すように、フロントホルダ26の厚さ方向の一端部26bには、該一端部26aから突出した鉤状部28が突出形成されている。
【0003】
また、フロントホルダ26は、例えば出荷作業時に、図6に示す本係止状態から、フロントホルダ26がハウジング24のホルダ収容部25から所定の距離だけ引き抜かれた仮係止状態とされる。本係止状態から仮係止状態へフロントホルダ26を引き抜く際には、先端部にフック部を有する抜き治具のフック部をフロントホルダ26の鉤状部28に引っ掛けた状態で、ホルダ収容部25の端部25aから離間する方向Qに沿ってフロントホルダ26を引き抜く。
【先行技術文献】
【特許文献】
【0004】
特開平9-45411号公報
【発明の概要】
【発明が解決しようとする課題】
【0005】
特許文献1では、本係止状態から仮係止状態へのフロントホルダ26の解除時において、作業者がフロントホルダ26の鉤状部28に抜き治具のフック部を近づけて引っ掛けるときに、抜き治具がフロントホルダ26の上方に位置するオス端子27のタブ27aに接触することで、タブ27aが損傷する虞があった。
【0006】
本発明は、従来の実情に鑑みて案出されたもので、ホルダの本係止状態から仮係止状態への解除時に端子の損傷を抑制することが可能なホルダ付きコネクタを提供することを1つの目的としている。
【課題を解決するための手段】
【0007】
本発明は、ホルダ付きコネクタに関し、このホルダ付きコネクタは、ホルダ収容部を有し、ホルダ収容部内に突出する端子が設けられた有底筒状のハウジングと、ホルダ収容部に挿入され、ホルダ収容部の開口端とは反対側に位置するホルダ収容部の壁部に係止可能なホルダであって、端子が挿通する穴部が形成された基部を有するホルダと、を備える。ホルダは、基部からホルダ収容部の開口端側へ張り出したリブ本体部と、リブ本体部の上面から突出し、基部からリブ本体部の先端まで延びるリブ補強部とを有する。リブ本体部のうちリブ補強部に隣接した位置、またはリブ補強部のうちリブ本体部に隣接した位置には、挿入孔が形成されており、挿入孔には、ハウジングに対してホルダを移動させる治具の先端部に設けられたフック部が挿入される。
【発明の効果】
【0008】
本発明によれば、本係止状態から仮係止状態へのホルダの解除時において治具のフック部がリブ本体部またはリブ補強部に沿って挿入孔まで案内され、治具と端子とが接触し難くなるので、端子の損傷を抑制することができる。
【図面の簡単な説明】
【0009】
一実施形態のホルダ付きコネクタの分解斜視図である。
本係止状態におけるホルダ付きコネクタを示す斜視図である。
本係止状態から仮係止状態へのオスフロントホルダの解除時における抜き治具の挿入工程を示す説明図である。
本係止状態から仮係止状態へのオスフロントホルダの解除時における抜き治具の引っ掛け工程を示す説明図である。
本係止状態から仮係止状態へのオスフロントホルダの解除時における抜き治具の引き抜き工程を示す説明図である。
従来技術のホルダ付きコネクタの断面図である。
従来技術のホルダの斜視図である。
【発明を実施するための形態】
【0010】
以下、本発明のホルダ付きコネクタの実施形態を図面に基づき説明する。
(【0011】以降は省略されています)
この特許をJ-PlatPat(特許庁公式サイト)で参照する
関連特許
矢崎総業株式会社
端子
4日前
矢崎総業株式会社
箱状体
24日前
矢崎総業株式会社
箱状体
24日前
矢崎総業株式会社
照明灯
1か月前
矢崎総業株式会社
止水部材
29日前
矢崎総業株式会社
コネクタ
18日前
矢崎総業株式会社
報知装置
11日前
矢崎総業株式会社
コネクタ
29日前
矢崎総業株式会社
バスバー
15日前
矢崎総業株式会社
コネクタ
1か月前
矢崎総業株式会社
コネクタ
1か月前
矢崎総業株式会社
コネクタ
1か月前
矢崎総業株式会社
コネクタ
22日前
矢崎総業株式会社
コネクタ
25日前
矢崎総業株式会社
コネクタ
23日前
矢崎総業株式会社
照明装置
10日前
矢崎総業株式会社
コネクタ
25日前
矢崎総業株式会社
照明構造
29日前
矢崎総業株式会社
コネクタ
24日前
矢崎総業株式会社
コネクタ
24日前
矢崎総業株式会社
コネクタ
25日前
矢崎総業株式会社
コネクタ
1か月前
矢崎総業株式会社
コネクタ
1か月前
矢崎総業株式会社
コネクタ
29日前
矢崎総業株式会社
照明装置
5日前
矢崎総業株式会社
コネクタ
1か月前
矢崎総業株式会社
コネクタ
1か月前
矢崎総業株式会社
照明装置
4日前
矢崎総業株式会社
照明装置
5日前
矢崎総業株式会社
コネクタ
1か月前
矢崎総業株式会社
電気接続箱
1か月前
矢崎総業株式会社
プロテクタ
29日前
矢崎総業株式会社
電気接続箱
24日前
矢崎総業株式会社
ゴムブーツ
29日前
矢崎総業株式会社
電気接続箱
24日前
矢崎総業株式会社
電気接続箱
24日前
続きを見る
他の特許を見る