TOP
|
特許
|
意匠
|
商標
特許ウォッチ
Twitter
他の特許を見る
10個以上の画像は省略されています。
公開番号
2025162005
公報種別
公開特許公報(A)
公開日
2025-10-27
出願番号
2024065066
出願日
2024-04-15
発明の名称
車両用表示装置
出願人
矢崎総業株式会社
代理人
弁理士法人虎ノ門知的財産事務所
主分類
B60K
35/231 20240101AFI20251020BHJP(車両一般)
要約
【課題】品質を確保しつつ視距離の延伸を図ること。
【解決手段】表示ユニット10と、表示器11からの表示光を反射させる平面鏡20と、平面鏡の反射光を反射させる第1凹面鏡30と、第1凹面鏡の反射光を反射させ、アウタケースの出射口70aから被投影部Rwfに投影させる第2凹面鏡40と、を備え、アウタケースは、室外に固定した表示ユニットの表示器からの表示光を室内に入射させる入射口70bを有し、かつ、平面鏡と第2凹面鏡を室内で保持し、かつ、車体に固定されるロアケース70Aと、表示ユニットを収容し、かつ、ロアケースに固定されるロアカバー70Bと、出射口を有し、かつ、ロアケースに固定され、かつ、ロアケースとの間で第1凹面鏡を挟持するアッパケース70Cと、を備え、インナケース80は、ロアケースの室内で当該ロアケースに固定され、かつ、ロアケースとの間で平面鏡を挟持すること。
【選択図】図3
特許請求の範囲
【請求項1】
アウタケースと、
前記アウタケースの中に配置されるインナケースと、
車室内の乗員に虚像として視認させる表示情報を前記アウタケースの中に表示光として出射する表示ユニットと、
前記表示ユニットの表示器から出射された前記表示光を前記アウタケースの中で反射させる平面鏡と、
前記平面鏡で反射した前記表示光を前記アウタケースの中で反射させる第1凹面鏡と、
前記第1凹面鏡で反射した前記表示光を前記アウタケースの中で反射させ、前記表示光を前記アウタケースの出射口から車室内の被投影部に投影させる第2凹面鏡と、
を備え、
前記アウタケースは、室外に固定した前記表示ユニットの前記表示器から出射された前記表示光を室内に入射させる入射口を有し、かつ、前記平面鏡と前記第2凹面鏡を室内で保持し、かつ、車体に固定されるロアケースと、前記ロアケースの室外で前記表示ユニットを収容し、かつ、前記ロアケースに固定されるロアカバーと、前記出射口を有し、かつ、前記ロアケースに固定され、かつ、前記ロアケースとの間で前記第1凹面鏡を挟持するアッパケースと、を備え、
前記インナケースは、前記ロアケースの室内で当該ロアケースに固定され、かつ、前記ロアケースとの間で前記平面鏡を挟持することを特徴とした車両用表示装置。
続きを表示(約 950 文字)
【請求項2】
前記インナケースは、前記表示器と前記出射口との間の光路を形成することを特徴とした請求項1に記載の車両用表示装置。
【請求項3】
前記インナケースは、前記ロアケースの室内で当該ロアケースに固定され、かつ、前記ロアケースとの間で当該ロアケースの室内の前記平面鏡を挟持する第1インナケースと、前記ロアケースの室内で当該ロアケースに固定される第2インナケースと、を備え、
前記第1インナケースには、前記表示器と前記平面鏡との間の光路及び前記平面鏡と前記第1凹面鏡との間の光路を成す第1内部空間と、前記表示器に対向配置させ、かつ、前記表示器から出射された前記表示光を前記第1内部空間に入射させる第1開口と、前記平面鏡の周縁部を前記ロアケースとの間で挟持する開口周縁部を有し、かつ、前記第1内部空間に入射した前記表示器からの前記表示光を前記平面鏡に入射させ、かつ、前記平面鏡で反射した前記表示光を前記第1凹面鏡に向けて出射させる第2開口と、前記平面鏡で反射した前記表示光を前記第1凹面鏡に向けて前記第1内部空間の外に出射させる第3開口と、が形成され、
前記第2インナケースには、前記平面鏡と前記第1凹面鏡との間の光路及び前記第1凹面鏡と前記第2凹面鏡との間の光路及び前記第2凹面鏡と前記被投影部との間の光路を成す第2内部空間と、前記第1インナケースの前記第3開口に対向配置させ、かつ、前記第1凹面鏡に向けて前記平面鏡で反射した前記表示光を前記第2内部空間に入射させる第1開口と、前記第1凹面鏡に対向配置させ、かつ、前記第2内部空間に入射した前記平面鏡からの前記表示光を前記第1凹面鏡に入射させ、かつ、前記第1凹面鏡で反射した前記表示光を前記第2凹面鏡に向けて出射させる第2開口と、前記第2凹面鏡に対向配置させ、かつ、前記第1凹面鏡で反射した前記表示光を前記第2凹面鏡に入射させ、かつ、前記第2凹面鏡で反射した前記表示光を前記被投影部に向けて出射させる第3開口と、前記出射口に対向配置させ、かつ、前記第2凹面鏡で反射した前記表示光を前記被投影部に向けて前記第2内部空間の外に出射させる第4開口と、が形成されることを特徴とした請求項1又は2に記載の車両用表示装置。
発明の詳細な説明
【技術分野】
【0001】
本発明は、車両用表示装置に関する。
続きを表示(約 2,800 文字)
【背景技術】
【0002】
従来、車両には、車室内の乗員に提供する情報を虚像表示させる車両用表示装置が搭載されている。この車両用表示装置は、所謂ヘッドアップディスプレイ装置であり、被投影部に投影させる表示情報を表示光として出射する表示ユニットと、この表示ユニットの表示器から出射された表示光を反射させて、この表示光を被投影部に投影させる反射部材と、これらを収容する筐体と、を備えている。この車両用表示装置は、反射部材で反射させた表示光を筐体の外の被投影部に投影し、その投影されている表示光に応じた表示情報を乗員に虚像として視認させる。この種の車両用表示装置については、例えば、下記の特許文献1に開示されている。
【先行技術文献】
【特許文献】
【0003】
特開2020-148950号公報
【発明の概要】
【発明が解決しようとする課題】
【0004】
ところで、車両用表示装置においては、視距離の延伸を図るべく、光学部品としての反射部材の枚数を筐体内で増やすことによって、その光学部品による光路長を伸ばせばよい。例えば、上記の特許文献1では、1枚の平面鏡と2枚の非球面鏡を筐体内に配置している。しかしながら、車両用表示装置においては、反射部材の枚数が増えるほど、その相互間での位置精度を高めなければ、虚像の表示品質の確保が難しくなってしまう可能性がある。
【0005】
そこで、本発明は、品質を確保しつつ視距離の延伸を図り得る車両用表示装置を提供することを、その目的とする。
【課題を解決するための手段】
【0006】
本発明は、アウタケースと、前記アウタケースの中に配置されるインナケースと、車室内の乗員に虚像として視認させる表示情報を前記アウタケースの中に表示光として出射する表示ユニットと、前記表示ユニットの表示器から出射された前記表示光を前記アウタケースの中で反射させる平面鏡と、前記平面鏡で反射した前記表示光を前記アウタケースの中で反射させる第1凹面鏡と、前記第1凹面鏡で反射した前記表示光を前記アウタケースの中で反射させ、前記表示光を前記アウタケースの出射口から車室内の被投影部に投影させる第2凹面鏡と、を備え、前記アウタケースは、室外に固定した前記表示ユニットの前記表示器から出射された前記表示光を室内に入射させる入射口を有し、かつ、前記平面鏡と前記第2凹面鏡を室内で保持し、かつ、車体に固定されるロアケースと、前記ロアケースの室外で前記表示ユニットを収容し、かつ、前記ロアケースに固定されるロアカバーと、前記出射口を有し、かつ、前記ロアケースに固定され、かつ、前記ロアケースとの間で前記第1凹面鏡を挟持するアッパケースと、を備え、前記インナケースは、前記ロアケースの室内で当該ロアケースに固定され、かつ、前記ロアケースとの間で前記平面鏡を挟持することを特徴とする。
【発明の効果】
【0007】
本発明に係る車両用表示装置は、3枚の反射部材(平面鏡、第1凹面鏡、第2凹面鏡)を用いているので、高倍率化が図れると共に、筐体(アウタケース、インナケース)の中での光路長を伸ばして視距離の延伸を図ることができる。その一方で、この車両用表示装置は、光路長を長く取ることから、虚像の表示品質の確保が難しくなる。しかしながら、本発明に係る車両用表示装置は、その3枚の反射部材(平面鏡、第1凹面鏡、第2凹面鏡)の内、2枚の反射部材(第1凹面鏡、第2凹面鏡)に非球面鏡(自由曲面鏡)を用いているので、虚像の表示品質を確保することができる。また、本発明に係る車両用表示装置においては、平面鏡がアウタケースのロアケースとインナケースとの間で挟持され、第1凹面鏡がアウタケースにおけるロアケースとアッパケースとの間で挟持され、第2凹面鏡がロアケースに保持されている。つまり、本発明に係る車両用表示装置においては、3枚の反射部材(平面鏡、第1凹面鏡、第2凹面鏡)がその相互間に介在させた1つのロアケースに全て保持されることになる。よって、この車両用表示装置は、3枚の反射部材(平面鏡、第1凹面鏡、第2凹面鏡)におけるそれぞれの相対的な位置関係に関与する設計公差の数を最低限に抑えることができ、積み上げ公差による相互間のばらつきを最小限に抑えることができる。従って、本発明に係る車両用表示装置は、平面鏡と第1凹面鏡との間の位置精度を向上させ、かつ、第1凹面鏡と第2凹面鏡との間の位置精度を向上させることができ、筐体(アウタケース、インナケース)の中で精度の高い光路を作り出すことができるので、虚像の表示品質を確保することができる。また、本発明に係る車両用表示装置は、そのロアケースを車体に固定しているので、この固定点からそれぞれの反射部材(平面鏡、第1凹面鏡、第2凹面鏡)までの位置精度を向上させることができ、これに伴い、第2凹面鏡と被投影部との間の位置精度についても向上させることができる。従って、本発明に係る車両用表示装置は、筐体(アウタケース、インナケース)の中だけでなく、筐体の外に至るまでの光路の精度を高めることができるので、虚像の表示品質を確保することができる。このように、本発明に係る車両用表示装置は、虚像の表示品質を確保しつつ視距離の延伸を図ることができる。
【図面の簡単な説明】
【0008】
図1は、実施形態の車両用表示装置について示す模式図である。
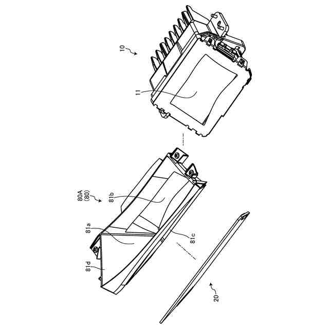
図2は、実施形態の車両用表示装置を示す斜視図である。
図3は、実施形態の車両用表示装置を示す分解斜視図であって、アウタケースを一部分解した状態を示している。
図4は、アウタケースにおけるロアケース及びロアカバーと表示ユニットの分解斜視図である。
図5は、3つの反射部材をインナケースと共に示す分解斜視図である。
図6は、第2凹面鏡とその関連部品について示す斜視図である。
図7は、第1インナケースを表示ユニット及び平面鏡と共に示す分解斜視図である。
図8は、第1インナケースを表示ユニット及び平面鏡と共に別角度から見た分解斜視図である。
図9は、第2インナケースを第1凹面鏡及び第2凹面鏡と共に示す分解斜視図である。
【発明を実施するための形態】
【0009】
以下に、本発明に係る車両用表示装置の実施形態を図面に基づいて詳細に説明する。尚、この実施形態によりこの発明が限定されるものではない。
【0010】
[実施形態]
本発明に係る車両用表示装置の実施形態の1つを図1から図9に基づいて説明する。
(【0011】以降は省略されています)
この特許をJ-PlatPat(特許庁公式サイト)で参照する
関連特許
矢崎総業株式会社
箱状体
18日前
矢崎総業株式会社
箱状体
18日前
矢崎総業株式会社
箱状体
18日前
矢崎総業株式会社
電源回路
2日前
矢崎総業株式会社
コネクタ
3日前
矢崎総業株式会社
コネクタ
2日前
矢崎総業株式会社
コネクタ
17日前
矢崎総業株式会社
コネクタ
17日前
矢崎総業株式会社
接続構造
18日前
矢崎総業株式会社
コネクタ
2日前
矢崎総業株式会社
連結コネクタ
2日前
矢崎総業株式会社
通信ケーブル
15日前
矢崎総業株式会社
車両用室内灯
15日前
矢崎総業株式会社
車両用室内灯
15日前
矢崎総業株式会社
スイッチ装置
15日前
矢崎総業株式会社
スイッチ装置
15日前
矢崎総業株式会社
スイッチ装置
15日前
矢崎総業株式会社
導電モジュール
2日前
矢崎総業株式会社
導電モジュール
17日前
矢崎総業株式会社
レバー式コネクタ
18日前
矢崎総業株式会社
ワイヤーハーネス
18日前
矢崎総業株式会社
シールドコネクタ
2日前
矢崎総業株式会社
導通検査システム
15日前
矢崎総業株式会社
ホルダ付きコネクタ
23日前
矢崎総業株式会社
車両用対話システム
16日前
矢崎総業株式会社
放熱体、及び、箱状体
18日前
矢崎総業株式会社
放熱体、及び、箱状体
18日前
矢崎総業株式会社
ジャンクションボックス
18日前
矢崎総業株式会社
端子付き電線の製造方法
3日前
矢崎総業株式会社
コネクタ及び伝送システム
17日前
矢崎総業株式会社
導電モジュール及び測温装置
16日前
矢崎総業株式会社
導電性部材のボルト締結構造
15日前
矢崎総業株式会社
ホルダ体、および車体固定構造
16日前
矢崎総業株式会社
プロテクタおよびワイヤハーネス
10日前
矢崎総業株式会社
端子付き電線及びワイヤーハーネス
18日前
トヨタ自動車株式会社
リレーユニット
23日前
続きを見る
他の特許を見る