TOP
|
特許
|
意匠
|
商標
特許ウォッチ
Twitter
他の特許を見る
公開番号
2025165160
公報種別
公開特許公報(A)
公開日
2025-11-04
出願番号
2024069093
出願日
2024-04-22
発明の名称
放熱体、及び、箱状体
出願人
矢崎総業株式会社
代理人
弁理士法人栄光事務所
主分類
H05K
7/20 20060101AFI20251027BHJP(他に分類されない電気技術)
要約
【課題】放熱性能に優れた放熱体を提供すること。
【解決手段】熱源が発する熱を放熱する放熱体30は、熱が伝達される基部32と、基部32に設けられて所定の延在方向に延びる複数の放熱フィン37a,37b,37cと、前記延在方向において複数の放熱フィン37a,37b,37cに隣り合う壁部35,34a,34bと、を備える。複数の放熱フィン37a,37b,37cは、前記延在方向における各々の放熱フィン37a,37b,37cと壁部35,34a,34bとの間隔が、前記延在方向に交差する交差方向における壁部35,34a,34bの一の端部に近付くにつれて広がるように構成される、2以上の放熱フィン37a,37b,37cを含む。
【選択図】図5
特許請求の範囲
【請求項1】
熱源が発する熱を放熱する放熱体であって、
前記熱が伝達される基部と、前記基部に設けられて所定の延在方向に延びる複数の放熱フィンと、前記延在方向において前記複数の前記放熱フィンに隣り合う壁部と、を備え、
前記複数の前記放熱フィンは、
前記延在方向における各々の前記放熱フィンと前記壁部との間隔が、前記延在方向に交差する交差方向における前記壁部の一の端部に近付くにつれて広がるように構成される、2以上の前記放熱フィンを含む、
放熱体。
続きを表示(約 590 文字)
【請求項2】
請求項1に記載の放熱体において、
前記複数の前記放熱フィンは、
前記交差方向における前記壁部の中央部から前記一の端部に近付くにつれて前記間隔が広がるように構成される2以上の前記放熱フィンと、前記交差方向における前記壁部の前記中央部から他の端部に近付くにつれて前記間隔が広がるように構成される他の2以上の前記放熱フィンと、を含む、
放熱体。
【請求項3】
請求項1に記載の放熱体であって、
前記交差方向において前記壁部に隣り合う位置に、他の壁部を更に備える、
放熱体。
【請求項4】
熱源を内部空間に収容可能な箱状体であって、
請求項1~請求項3の何れか一項に記載の放熱体を、当該箱状体の外壁の少なくとも一部として備える、
箱状体。
【請求項5】
請求項4に記載の箱状体において、
前記放熱体の前記壁部は、
当該箱状体の内外を電気的に接続する端子を固定可能な台座部である、
箱状体。
【請求項6】
請求項4に記載の箱状体であって、
前記内部空間を画成するケースとカバーとを備え、
前記放熱体の前記壁部は、
前記ケースに前記カバーを固定する固定具を取付可能な取付部である、
箱状体。
発明の詳細な説明
【技術分野】
【0001】
本発明は、熱源が発する熱を放熱する放熱体、及び、この放熱体を外壁の少なくとも一部として備える箱状体に関する。
続きを表示(約 1,600 文字)
【背景技術】
【0002】
従来から、車両等に搭載される電気接続箱が提案されている。例えば、従来の電気接続箱の一つは、その内部空間に電子部品やバスバ等を収容して、それら電子部品等への誤触を抑制するようになっている(例えば、特許文献1を参照)
【先行技術文献】
【特許文献】
【0003】
特開2013-240217号公報
【発明の概要】
【発明が解決しようとする課題】
【0004】
ところで、上述した種類の電気接続箱は、電子部品が作動中に発する熱を外部に放熱するための放熱フィンを備える場合がある。ところが、例えば、給電のために電気接続箱の内外を電気的に接続する電源入力端子を放熱フィンの近傍に設けると、電源入力端子そのものや、電源入力端子を固定する台座部が、放熱フィンに沿って流れる空気の流れを妨げることで、電気接続箱の放熱性能が損なわれる場合がある。電気接続箱を適正に作動させる観点から、電気接続箱の放熱性能を向上させることが望ましい。なお、上記説明から理解されるように、電気接続箱に限らず、熱源を内部空間に収容可能な箱状体において、放熱性能を向上することが望ましい。このような理由から、箱状体に適用し得る放熱性能に優れた放熱体が、望まれている。
【0005】
本発明の目的の一つは、放熱性能に優れた放熱体、及び、その放熱体を用いた箱状体の提供である。
【課題を解決するための手段】
【0006】
前述した目的を達成するために、本発明に係る放熱体及び箱状体は、以下を特徴としている。
【0007】
熱源が発する熱を放熱する放熱体であって、
前記熱が伝達される基部と、前記基部に設けられて所定の延在方向に延びる複数の放熱フィンと、前記延在方向において前記複数の前記放熱フィンに隣り合う壁部と、を備え、
前記複数の前記放熱フィンは、
前記延在方向における各々の前記放熱フィンと前記壁部との間隔が、前記延在方向に交差する交差方向における前記壁部の一の端部に近付くにつれて広がるように構成される、2以上の前記放熱フィンを含む、
放熱体であること。
【0008】
熱源を内部空間に収容可能な箱状体であって、
上述した放熱体を、当該箱状体の外壁の少なくとも一部として備える、
箱状体であること。
【発明の効果】
【0009】
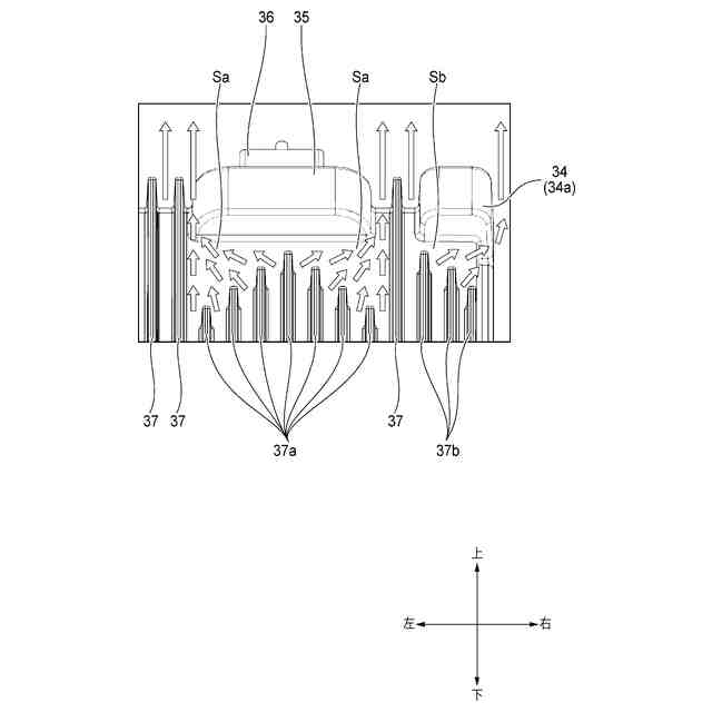
本発明の放熱体によれば、複数の放熱フィンに隣り合って設けられる壁部と、複数の放熱フィンのうちの少なくとも一部(即ち、2以上の放熱フィン)と、の間隔が、壁部の一の端部に近付くにつれて広がる。これにより、それら2以上の放熱フィン同士の間の流路から、壁部とそれら2以上の放熱フィンとの間の領域に、空気が流れ込んだとき、上記間隔が広い領域のほうが狭い領域よりも一般に低圧になるため、その空気は、上記間隔が狭い領域から広い領域に向けて(即ち、壁部の一の端部に向けて)流れることになる。換言すると、その空気は、壁部に単純に衝突するように流れるのではなく、壁部の一の端部を回り込んで流れるように、案内される。そのため、放熱フィンの近傍に壁部が存在していても、その空気の流れが壁部によって妨げられ難い。よって、例えば、電源入力端子を固定する台座部等に利用する壁部と放熱フィンとを基部に一体的に設けるような、壁部と放熱フィンとが密接して配置される場合であっても、放熱フィンから効率良く熱を放出することができる。したがって、本発明の放熱体は、放熱性能に優れる。
【0010】
本発明の箱状体によれば、上述した放熱体をその箱状体の外壁の少なくとも一部として備えることで、箱状体の内部の熱源が発する熱を、箱状体の外部に効率良く放熱することができる。したがって、本発明の箱状体は、放熱性能に優れる。
(【0011】以降は省略されています)
この特許をJ-PlatPat(特許庁公式サイト)で参照する
関連特許
矢崎総業株式会社
端子
6日前
矢崎総業株式会社
端子
1か月前
矢崎総業株式会社
箱状体
1か月前
矢崎総業株式会社
端子台
1日前
矢崎総業株式会社
箱状体
1か月前
矢崎総業株式会社
箱状体
1か月前
矢崎総業株式会社
端子台
1日前
矢崎総業株式会社
端子台
1日前
矢崎総業株式会社
端子台
1日前
矢崎総業株式会社
箱状体
1か月前
矢崎総業株式会社
箱状体
1か月前
矢崎総業株式会社
コネクタ
7日前
矢崎総業株式会社
照明装置
1か月前
矢崎総業株式会社
コネクタ
1か月前
矢崎総業株式会社
コネクタ
1か月前
矢崎総業株式会社
コネクタ
1か月前
矢崎総業株式会社
コネクタ
29日前
矢崎総業株式会社
照明装置
1か月前
矢崎総業株式会社
接続構造
1か月前
矢崎総業株式会社
給電装置
7日前
矢崎総業株式会社
コネクタ
1か月前
矢崎総業株式会社
バスバー
1か月前
矢崎総業株式会社
電源回路
14日前
矢崎総業株式会社
コネクタ
14日前
矢崎総業株式会社
照明装置
1か月前
矢崎総業株式会社
コネクタ
1か月前
矢崎総業株式会社
コネクタ
1か月前
矢崎総業株式会社
照明構造
2か月前
矢崎総業株式会社
コネクタ
2か月前
矢崎総業株式会社
照明装置
1か月前
矢崎総業株式会社
コネクタ
2か月前
矢崎総業株式会社
コネクタ
今日
矢崎総業株式会社
コネクタ
今日
矢崎総業株式会社
止水部材
2か月前
矢崎総業株式会社
コネクタ
15日前
矢崎総業株式会社
報知装置
1か月前
続きを見る
他の特許を見る