TOP
|
特許
|
意匠
|
商標
特許ウォッチ
Twitter
他の特許を見る
公開番号
2025165159
公報種別
公開特許公報(A)
公開日
2025-11-04
出願番号
2024069092
出願日
2024-04-22
発明の名称
放熱体、及び、箱状体
出願人
矢崎総業株式会社
代理人
弁理士法人栄光事務所
主分類
H05K
7/20 20060101AFI20251027BHJP(他に分類されない電気技術)
要約
【課題】放熱性能に優れた放熱体を提供すること。
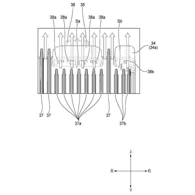
【解決手段】熱源が発する熱を放熱する放熱体30は、熱が伝達される基部32と、基部32に設けられる放熱フィン37a,37b,37cと、放熱フィン37a,37b,37cが延びる方向において放熱フィン37a,37b,37cに隣り合って基部32に設けられる壁部35,34a,34bと、を備える。壁部35,34a,34bは、前記方向において放熱フィン37a,37b,37cに向かい合う壁部35,34a,34bの面に開口し且つ壁部35,34a,34bを貫通する貫通孔38a,38b,38cを有する。複数の貫通孔38a,38b,38cのうちの少なくとも一つは、一対の隣り合う放熱フィン37a,37b,37cに挟まれる隙間に、前記方向において隣り合う位置に、開口する。
【選択図】図5
特許請求の範囲
【請求項1】
熱源が発する熱を放熱する放熱体であって、
前記熱が伝達される基部と、前記基部に設けられる放熱フィンと、前記放熱フィンが延びる方向において前記放熱フィンに隣り合って前記基部に設けられる壁部と、を備え、
前記壁部は、
前記方向において前記放熱フィンに向かい合う当該壁部の面に開口し且つ当該壁部を貫通する貫通孔を有する、
放熱体。
続きを表示(約 550 文字)
【請求項2】
請求項1に記載の放熱体において、
複数の前記放熱フィンと、複数の前記貫通孔と、を備え、
前記複数の前記貫通孔のうちの少なくとも一つは、
一対の隣り合う前記放熱フィンに挟まれる隙間に、前記方向において隣り合う位置に、開口する、
放熱体。
【請求項3】
請求項1に記載の放熱体であって、
前記方向に交差する方向において前記壁部に隣り合う位置に、他の壁部を更に備える、
放熱体。
【請求項4】
熱源を内部空間に収容可能な箱状体であって、
請求項1~請求項3の何れか一項に記載の放熱体を、当該箱状体の外壁の少なくとも一部として備える、
箱状体。
【請求項5】
請求項4に記載の箱状体において、
前記放熱体の前記壁部は、
当該箱状体の内外を電気的に接続する端子を固定可能な台座部である、
箱状体。
【請求項6】
請求項4に記載の箱状体であって、
前記内部空間を画成するケースとカバーとを備え、
前記放熱体の前記壁部は、
前記ケースに前記カバーを固定する固定具を取付可能な取付部である、
箱状体。
発明の詳細な説明
【技術分野】
【0001】
本発明は、熱源が発する熱を放熱する放熱体、及び、この放熱体を外壁の少なくとも一部として備える箱状体に関する。
続きを表示(約 1,400 文字)
【背景技術】
【0002】
従来から、車両等に搭載される電気接続箱が提案されている。例えば、従来の電気接続箱の一つは、その内部空間に電子部品やバスバ等を収容して、それら電子部品等への誤触を抑制するようになっている(例えば、特許文献1を参照)
【先行技術文献】
【特許文献】
【0003】
特開2013-240217号公報
【発明の概要】
【発明が解決しようとする課題】
【0004】
ところで、上述した種類の電気接続箱は、電子部品が作動中に発する熱を外部に放熱するための放熱フィンを備える場合がある。ところが、例えば、給電のために電気接続箱の内外を電気的に接続する電源入力端子を放熱フィンの近傍に設けると、電源入力端子そのものや、電源入力端子を固定する台座部が、放熱フィンに沿って流れる空気の流れを妨げることで、電気接続箱の放熱性能が損なわれる場合がある。電気接続箱を適正に作動させる観点から、電気接続箱の放熱性能を向上させることが望ましい。なお、上記説明から理解されるように、電気接続箱に限らず、熱源を内部空間に収容可能な箱状体において、放熱性能を向上することが望ましい。このような理由から、箱状体に適用し得る放熱性能に優れた放熱体が、望まれている。
【0005】
本発明の目的の一つは、放熱性能に優れた放熱体、及び、その放熱体を用いた箱状体の提供である。
【課題を解決するための手段】
【0006】
前述した目的を達成するために、本発明に係る放熱体及び箱状体は、以下を特徴としている。
【0007】
熱源が発する熱を放熱する放熱体であって、
前記熱が伝達される基部と、前記基部に設けられる放熱フィンと、前記放熱フィンが延びる方向において前記放熱フィンに隣り合って前記基部に設けられる壁部と、を備え、
前記壁部は、
前記方向において前記放熱フィンに向かい合う当該壁部の面に開口し且つ当該壁部を貫通する貫通孔を有する、
放熱体であること。
【0008】
熱源を内部空間に収容可能な箱状体であって、
上述した放熱体を、当該箱状体の外壁の少なくとも一部として備える、
箱状体であること。
【発明の効果】
【0009】
本発明の放熱体によれば、放熱フィンが延びる方向において放熱フィンに隣り合って設けられる壁部が、放熱フィンに向かい合う壁面に開口し且つその壁部を貫通する貫通孔を、有する。これにより、放熱フィンの近傍に壁部が存在していても、放熱フィンに沿って流れる空気が壁部の貫通孔を通り抜けることができるため、その空気の流れが壁部によって妨げられ難い。よって、例えば、電源入力端子を固定する台座部等に利用するための壁部と放熱フィンとを基部に一体的に設けるような、壁部と放熱フィンとが密接して配置される場合であっても、放熱フィンから効率良く熱を放出することができる。したがって、本発明の放熱体は、放熱性能に優れる。
【0010】
本発明の箱状体によれば、上述した放熱体をその箱状体の外壁の少なくとも一部として備えることで、箱状体の内部の熱源が発する熱を、箱状体の外部に効率良く放熱することができる。したがって、本発明の箱状体は、放熱性能に優れる。
(【0011】以降は省略されています)
この特許をJ-PlatPat(特許庁公式サイト)で参照する
関連特許
矢崎総業株式会社
端子
5日前
矢崎総業株式会社
端子
1か月前
矢崎総業株式会社
箱状体
29日前
矢崎総業株式会社
箱状体
1か月前
矢崎総業株式会社
箱状体
1か月前
矢崎総業株式会社
箱状体
29日前
矢崎総業株式会社
箱状体
29日前
矢崎総業株式会社
端子台
今日
矢崎総業株式会社
端子台
今日
矢崎総業株式会社
端子台
今日
矢崎総業株式会社
端子台
今日
矢崎総業株式会社
コネクタ
13日前
矢崎総業株式会社
照明装置
1か月前
矢崎総業株式会社
電源回路
13日前
矢崎総業株式会社
コネクタ
14日前
矢崎総業株式会社
コネクタ
13日前
矢崎総業株式会社
コネクタ
28日前
矢崎総業株式会社
照明装置
1か月前
矢崎総業株式会社
照明装置
1か月前
矢崎総業株式会社
コネクタ
6日前
矢崎総業株式会社
照明装置
1か月前
矢崎総業株式会社
コネクタ
28日前
矢崎総業株式会社
バスバー
1か月前
矢崎総業株式会社
接続構造
29日前
矢崎総業株式会社
コネクタ
1か月前
矢崎総業株式会社
コネクタ
1か月前
矢崎総業株式会社
コネクタ
1か月前
矢崎総業株式会社
コネクタ
1か月前
矢崎総業株式会社
コネクタ
1か月前
矢崎総業株式会社
コネクタ
1か月前
矢崎総業株式会社
コネクタ
5日前
矢崎総業株式会社
コネクタ
5日前
矢崎総業株式会社
コネクタ
1か月前
矢崎総業株式会社
報知装置
1か月前
矢崎総業株式会社
給電装置
6日前
矢崎総業株式会社
電気接続箱
1か月前
続きを見る
他の特許を見る