TOP
|
特許
|
意匠
|
商標
特許ウォッチ
Twitter
他の特許を見る
公開番号
2025163546
公報種別
公開特許公報(A)
公開日
2025-10-29
出願番号
2024066923
出願日
2024-04-17
発明の名称
バスバー放熱構造
出願人
矢崎総業株式会社
代理人
個人
,
個人
,
個人
主分類
H01B
7/42 20060101AFI20251022BHJP(基本的電気素子)
要約
【課題】バスバーにおいて発生する熱を効率よく放熱することが可能なバスバー放熱構造を提供する。
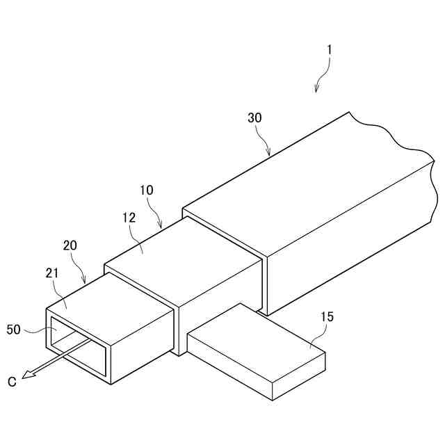
【解決手段】バスバー放熱構造1は、筒状に形成されたバスバー10と、バスバー10の内周面11を被覆する絶縁性の内側被覆層20と、バスバー10の外周面12を被覆する絶縁性の外側被覆層30とを備え、内側被覆層20の内側に設けられ、冷却液Cが流れるように構成された冷却流路50を有し、冷却流路50の外壁は内側被覆層20によって形成されている。
【選択図】図1
特許請求の範囲
【請求項1】
筒状に形成されたバスバーと、
前記バスバーの内周面を被覆する絶縁性の内側被覆層と、
前記バスバーの外周面を被覆する絶縁性の外側被覆層と、
を備え、
前記内側被覆層の内側に設けられ、冷却液が流れるように構成された冷却流路を有し、前記冷却流路の外壁は前記内側被覆層によって形成されている、バスバー放熱構造。
続きを表示(約 190 文字)
【請求項2】
前記バスバーの長手方向端部において、前記バスバーの外周面は露出しており、
前記バスバー放熱構造は、露出した前記バスバーの外周面に接続された端子接合部を備える、請求項1に記載のバスバー放熱構造。
【請求項3】
前記バスバー放熱構造の長手方向端部において、前記内側被覆層の外周面は露出している、請求項1又は2に記載のバスバー放熱構造。
発明の詳細な説明
【技術分野】
【0001】
本発明は、バスバー放熱構造に関する。
続きを表示(約 1,300 文字)
【背景技術】
【0002】
電気自動車及びプラグインハイブリッド自動車などのような電動車両の高性能化に伴い、ワイヤーハーネスに流れる電流量の増加が求められている。ワイヤーハーネスに流れる電流量を増やすためには、ワイヤーハーネスに電流を流した際の発熱や電流の損失を小さくするために電線径を大きくすることが考えられる。しかしながら、電線径を大きくすると、ワイヤーハーネスの重量が増大するおそれがある。一方、円筒状のソリッドコアを用いて大電流を流すことが可能な一体型バスバーが知られている。
【0003】
特許文献1には、一体型バスバーと、バスバー上で成形コネクタと電気接続するよう構成される第1の接続点と、成形コネクタと反対側にある端部においてバスバーに電気的に結合される第2の接続点とを備える、電気自動車配電システムが開示されている。一体型バスバーは、ソリッドコア導体、絶縁層、シールド層、及び、ソリッドコア導体から形成される少なくとも1つの成形コネクタを備えている。
【先行技術文献】
【特許文献】
【0004】
特開2023-517714号公報
【発明の概要】
【発明が解決しようとする課題】
【0005】
電線に代えてバスバーを用いることで、電流量を増やした場合の温度上昇を抑制し、配策材を細くすることができる。しかしながら、大電流を流すバスバーを準備する場合には、バスバーの発熱を抑制するため、バスバーをさらに太くする必要がある。このような場合には、車両搭載スペースを圧迫してしまうおそれがある。
【0006】
本発明は、このような従来技術が有する課題に鑑みてなされたものである。そして本発明の目的は、バスバーにおいて発生する熱を効率よく放熱することが可能なバスバー放熱構造を提供することにある。
【課題を解決するための手段】
【0007】
本発明の態様に係るバスバー放熱構造は、筒状に形成されたバスバーと、バスバーの内周面を被覆する絶縁性の内側被覆層と、バスバーの外周面を被覆する絶縁性の外側被覆層とを備えている。バスバー放熱構造は、内側被覆層の内側に設けられ、冷却液が流れるように構成された冷却流路を有し、冷却流路の外壁は内側被覆層によって形成されている。
【発明の効果】
【0008】
本発明によれば、バスバーにおいて発生する熱を効率よく放熱することが可能なバスバー放熱構造を提供することができる。
【図面の簡単な説明】
【0009】
一実施形態に係るバスバー放熱構造を示す斜視図である。
一実施形態に係るバスバー放熱構造を示す断面図である。
一実施形態に係るバスバー放熱構造を示す斜視図である。
【発明を実施するための形態】
【0010】
以下、図面を用いて本実施形態に係るバスバー放熱構造について詳細に説明する。なお、図面の寸法比率は説明の都合上誇張されており、実際の比率と異なる場合がある。
(【0011】以降は省略されています)
この特許をJ-PlatPat(特許庁公式サイト)で参照する
関連特許
矢崎総業株式会社
箱状体
18日前
矢崎総業株式会社
箱状体
18日前
矢崎総業株式会社
箱状体
18日前
矢崎総業株式会社
電源回路
2日前
矢崎総業株式会社
コネクタ
2日前
矢崎総業株式会社
接続構造
18日前
矢崎総業株式会社
コネクタ
17日前
矢崎総業株式会社
コネクタ
17日前
矢崎総業株式会社
コネクタ
2日前
矢崎総業株式会社
コネクタ
3日前
矢崎総業株式会社
カバー構造
23日前
矢崎総業株式会社
通信ケーブル
15日前
矢崎総業株式会社
車両用室内灯
15日前
矢崎総業株式会社
車両用室内灯
15日前
矢崎総業株式会社
スイッチ装置
15日前
矢崎総業株式会社
スイッチ装置
15日前
矢崎総業株式会社
スイッチ装置
15日前
矢崎総業株式会社
連結コネクタ
2日前
矢崎総業株式会社
導電モジュール
2日前
矢崎総業株式会社
バスバ配置構造
24日前
矢崎総業株式会社
導電モジュール
23日前
矢崎総業株式会社
導電モジュール
23日前
矢崎総業株式会社
導電モジュール
17日前
矢崎総業株式会社
車室内照明装置
25日前
矢崎総業株式会社
レバー式コネクタ
18日前
矢崎総業株式会社
シールドコネクタ
2日前
矢崎総業株式会社
バスバー放熱構造
24日前
矢崎総業株式会社
導通検査システム
15日前
矢崎総業株式会社
ワイヤーハーネス
18日前
矢崎総業株式会社
車両用対話システム
16日前
矢崎総業株式会社
ホルダ付きコネクタ
23日前
矢崎総業株式会社
放熱体、及び、箱状体
18日前
矢崎総業株式会社
放熱体、及び、箱状体
18日前
矢崎総業株式会社
端子付き電線の製造方法
3日前
矢崎総業株式会社
ジャンクションボックス
18日前
矢崎総業株式会社
コネクタ及び伝送システム
17日前
続きを見る
他の特許を見る