TOP
|
特許
|
意匠
|
商標
特許ウォッチ
Twitter
他の特許を見る
10個以上の画像は省略されています。
公開番号
2025181465
公報種別
公開特許公報(A)
公開日
2025-12-11
出願番号
2024089465
出願日
2024-05-31
発明の名称
電力変換装置
出願人
株式会社TMEIC
代理人
弁理士法人iX
主分類
H02M
3/07 20060101AFI20251204BHJP(電力の発電,変換,配電)
要約
【課題】部品の定期的な交換を必要とすることなく、健全なスイッチング素子の連鎖的な故障の発生を抑制できる電力変換装置を提供する。
【解決手段】直列に接続された複数のスイッチング素子のスイッチングにより、電力の変換を行う主回路部と、複数のスイッチング素子のスイッチングを制御することにより、主回路部による電力の変換の動作を制御する制御回路と、を備え、複数のスイッチング素子は、一対の主端子と、制御端子と、を有し、一対の主端子を介して直列に接続され、主回路部は、複数のスイッチング素子の一対の主端子間の電圧の印加状態の周期的な変化の有無を監視することにより、複数のスイッチング素子の故障の検出を行う複数の監視回路を有し、制御回路は、複数の監視回路によって複数のスイッチング素子のいずれかの故障が検出された際に、主回路部による電力の変換の動作を停止させる電力変換装置が提供される。
【選択図】図1
特許請求の範囲
【請求項1】
直列に接続された複数のスイッチング素子を有し、前記複数のスイッチング素子のスイッチングにより、電力の変換を行う主回路部と、
前記複数のスイッチング素子のスイッチングを制御することにより、前記主回路部による電力の変換の動作を制御する制御回路と、
を備え、
前記複数のスイッチング素子は、一対の主端子と、制御端子と、を有し、前記一対の主端子を介して直列に接続され、
前記主回路部は、前記複数のスイッチング素子の前記一対の主端子間の電圧の印加状態の周期的な変化の有無を監視することにより、前記複数のスイッチング素子の故障の検出を行う複数の監視回路を有し、
前記制御回路は、前記複数の監視回路によって前記複数のスイッチング素子のいずれかの故障が検出された際に、前記主回路部による電力の変換の動作を停止させる電力変換装置。
続きを表示(約 1,300 文字)
【請求項2】
前記複数の監視回路は、
前記スイッチング素子に対して並列に設けられたコンデンサと、
前記コンデンサの充電を行う電源回路と、
を有し、
前記コンデンサは、前記スイッチング素子の健全時には、前記スイッチング素子のスイッチングに応じて充放電を繰り返すことにより、電圧を所定電圧未満とし、前記スイッチング素子の故障時には、前記スイッチング素子のスイッチングの停止に応じて前記電源回路によって充電されることにより、電圧を前記所定電圧以上とし、
前記複数の監視回路は、前記コンデンサの電圧が前記所定電圧以上の時に、前記スイッチング素子の故障を検出する請求項1記載の電力変換装置。
【請求項3】
前記複数の監視回路は、前記スイッチング素子のオフ状態の時に、前記スイッチング素子の高電位側の主端子の電圧に基づいて充電され、前記スイッチング素子のオン状態の時に、オン状態の前記スイッチング素子を介して放電されるように、前記スイッチング素子に対して並列に設けられたコンデンサを有し、前記コンデンサの電圧が上限値以上の時、及び前記コンデンサの電圧が下限値未満の時に、前記スイッチング素子の故障を検出する請求項1記載の電力変換装置。
【請求項4】
前記主回路部は、前記複数の監視回路のそれぞれの出力端子をダイオードチェーン接続する複数のダイオードをさらに有し、
前記複数の監視回路は、前記複数のスイッチング素子のそれぞれが健全であることを表す状態と、前記複数のスイッチング素子のいずれかの故障が検出されたことを表す状態と、を有する1つの故障検出信号を前記制御回路に出力する請求項1記載の電力変換装置。
【請求項5】
前記主回路部は、
一対の入力端子と、一対の出力端子と、複数の蓄電素子と、を有し、前記複数の蓄電素子を前記一対の入力端子間に直列に接続した第1状態と、前記複数の蓄電素子のそれぞれを前記一対の出力端子に対して並列に接続した第2状態と、を切り替える切替回路と、
前記切替回路を直流電源に接続し、前記直流電源の直流電力を前記切替回路の前記一対の入力端子間に供給する供給状態と、前記直流電源の直流電力の前記一対の入力端子間への供給を停止した停止状態と、を切り替える接続回路と、
を有し、
前記複数の蓄電素子は、前記一対の入力端子の一方と、前記一対の出力端子の一方と、の間に直列に接続され、
前記複数のスイッチング素子は、前記切替回路に設けられ、前記複数の蓄電素子に対して並列に接続されることにより、前記一対の入力端子の前記一方と、前記一対の出力端子の前記一方と、の間に直列に接続され、
前記切替回路は、前記複数のスイッチング素子のスイッチングにより、前記第1状態と前記第2状態とを切り替え、
前記制御回路は、前記複数のスイッチング素子のスイッチングを制御することにより、前記切替回路の前記第1状態と前記第2状態との切り替えを制御するとともに、前記接続回路の前記供給状態と前記停止状態との切り替えを制御する請求項1記載の電力変換装置。
発明の詳細な説明
【技術分野】
【0001】
本発明の実施形態は、電力変換装置に関する。
続きを表示(約 1,900 文字)
【背景技術】
【0002】
複数のスイッチング素子を有し、複数のスイッチング素子のスイッチングにより、電力の変換を行う電力変換装置がある。このような電力変換装置において、高電圧化のため、複数のスイッチング素子を直列に接続することが行われている。直列に接続された複数のスイッチング素子を有する電力変換装置の一例として、例えば、スイッチトキャパシタ回路が知られている。
【0003】
直列に接続された複数のスイッチング素子を有する電力変換装置では、直列に接続された複数のスイッチング素子のうちのいずれかが故障すると、他の健全なスイッチング素子の責務が増加し、他の健全なスイッチング素子も連鎖的に故障してしまう可能性がある。また、連鎖的な故障が発生した場合には、例えば、装置の入出力間などに短絡が発生し、過大な電流が流れ、他の素子の破損など、より深刻な故障が装置に発生してしまう恐れがある。
【0004】
例えば、入力部など、連鎖的な故障が発生した場合に電流の流れる経路上にヒューズを設け、連鎖的な故障が発生した場合に、ヒューズを溶断させることにより、過大な電流による深刻な故障の発生を抑制することが提案されている。しかしながら、ヒューズは、寿命部品であるため、定期的に交換を行わなければならない。このため、ヒューズのメンテナンスに手間がかかるとともに、これにともなう費用や作業時間の増加などが懸念される。また、ヒューズを設ける構成では、過大な電流による深刻な故障の発生を抑制できるものの、複数のスイッチング素子のうちのいずれかの故障にともなう他の健全なスイッチング素子の連鎖的な故障の発生を抑制することはできない。
【0005】
従って、直列に接続された複数のスイッチング素子を有する電力変換装置では、部品の定期的な交換を必要とすることなく、健全なスイッチング素子の連鎖的な故障の発生を抑制できるようにすることが望まれる。
【先行技術文献】
【特許文献】
【0006】
特開2022-74472号公報
【発明の概要】
【発明が解決しようとする課題】
【0007】
本発明の実施形態は、直列に接続された複数のスイッチング素子を有し、部品の定期的な交換を必要とすることなく、健全なスイッチング素子の連鎖的な故障の発生を抑制できる電力変換装置を提供する。
【課題を解決するための手段】
【0008】
本発明の実施形態によれば、直列に接続された複数のスイッチング素子を有し、前記複数のスイッチング素子のスイッチングにより、電力の変換を行う主回路部と、前記複数のスイッチング素子のスイッチングを制御することにより、前記主回路部による電力の変換の動作を制御する制御回路と、を備え、前記複数のスイッチング素子は、一対の主端子と、制御端子と、を有し、前記一対の主端子を介して直列に接続され、前記主回路部は、前記複数のスイッチング素子の前記一対の主端子間の電圧の印加状態の周期的な変化の有無を監視することにより、前記複数のスイッチング素子の故障の検出を行う複数の監視回路を有し、前記制御回路は、前記複数の監視回路によって前記複数のスイッチング素子のいずれかの故障が検出された際に、前記主回路部による電力の変換の動作を停止させる電力変換装置が提供される。
【発明の効果】
【0009】
直列に接続された複数のスイッチング素子を有し、部品の定期的な交換を必要とすることなく、健全なスイッチング素子の連鎖的な故障の発生を抑制できる電力変換装置が提供される。
【図面の簡単な説明】
【0010】
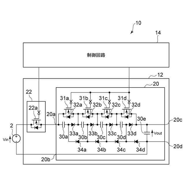
実施形態に係る電力変換装置を模式的に表すブロック図である。
図2(a)及び図2(b)は、切替回路の動作を模式的に表す説明図である。
切替回路の一部を模式的に表すブロック図である。
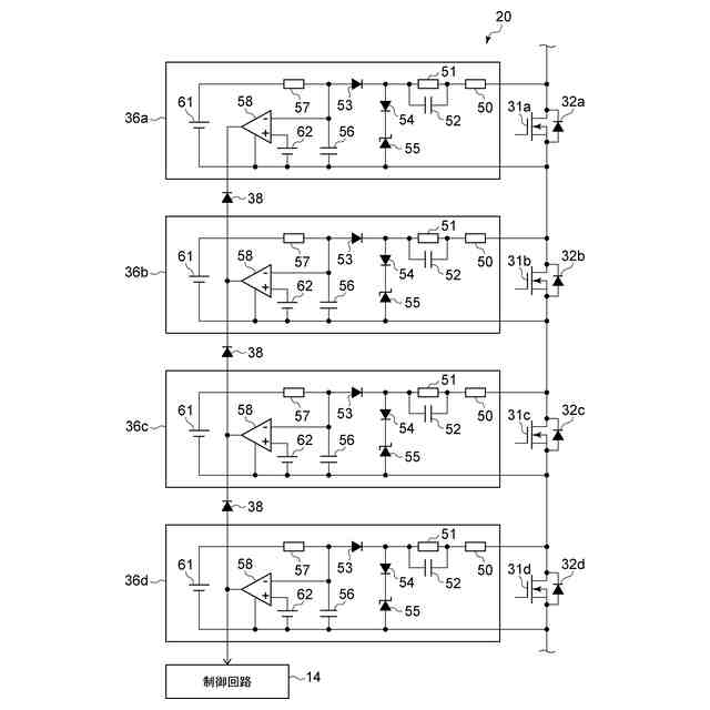
監視回路を模式的に表すブロック図である。
図5(a)~図5(f)は、監視回路の動作の一例を模式的に表すグラフである。
監視回路の変形例を模式的に表すブロック図である。
図7(a)及び図7(b)は、変形例の監視回路の動作の一例を模式的に表すグラフである。
切替回路の変形例を模式的に表すブロック図である。
実施形態に係る電力変換装置の変形例を模式的に表すブロック図である。
【発明を実施するための形態】
(【0011】以降は省略されています)
この特許をJ-PlatPat(特許庁公式サイト)で参照する
関連特許
他の特許を見る