TOP
|
特許
|
意匠
|
商標
特許ウォッチ
Twitter
他の特許を見る
公開番号
2025154676
公報種別
公開特許公報(A)
公開日
2025-10-10
出願番号
2024057803
出願日
2024-03-29
発明の名称
クッキー終端処理プログラム及び中継装置
出願人
サクサ株式会社
代理人
個人
,
個人
主分類
H04L
67/561 20220101AFI20251002BHJP(電気通信技術)
要約
【課題】 LANに接続された端末装置のそれぞれがWebページを利用する場合のクッキーの利用に関し、使用者がクッキーの利用を意識しなくても、利便性を向上させる。
【解決手段】 LANに接続されたPC3からのWebページへのアクセス要求を受け付けた場合に、取得ステップにおいて、アクセス要求の送信先のサーバ装置のドメインに基づいて、同意/不同意記憶手段が参照され、格納情報が取得される(ステップS103)。取得手ステップにおいて、格納情報が取得できた場合には、要求送信ステップにおいて、当該格納情報に含まれるクッキーの使用に対して同意/不同意を示す情報を含むようにしたアクセス要求が、Webページの提供元のサーバ装置に送信される(ステップS107、ステップS110、ステップS111)。
【選択図】図7
特許請求の範囲
【請求項1】
WAN(Wide Area Network)とLAN(Local Area Network)との間を中継する中継装置に搭載されるコンピュータで実行されるクッキー(Cookie)終端処理プログラムであって、
前記中継装置は、Webページを提供するサーバ装置のドメインと、クッキーの使用に対する同意/不同意を示す情報とを対応付けて記憶する同意/不同意記憶手段を備えており、
前記LANに接続された端末装置からの、当該端末装置の端末識別情報と、WebページのURL(Uniform Resource Locator)とを含むアクセス要求を受け付けた場合に、前記アクセス要求の送信先の前記サーバ装置のドメインに基づいて、前記同意/不同意記憶手段を参照し、格納情報を取得する取得ステップと、
前記取得ステップにおいて、前記格納情報が取得できた場合には、前記アクセス要求に前記格納情報に含まれる情報であるクッキーの使用に対して同意/不同意を示す情報を含めて、前記サーバ装置に送信する要求送信ステップと
を有することを特徴とするクッキー終端処理プログラム。
続きを表示(約 1,700 文字)
【請求項2】
請求項1に記載のクッキー終端処理プログラムであって、
前記中継装置は、前記端末識別情報と、閲覧したWebページのURLと、前記Webページを提供するサーバ装置からのクッキー情報とを対応付けて記憶するクッキー記憶手段を備えており、
前記取得ステップにおいて取得した前記格納情報が、クッキーの使用に対する同意を示すものである場合に、前記アクセス要求に含まれる前記端末装置の端末識別情報と、前記アクセス要求に含まれる前記URLとに基づいて、前記クッキー記憶手段を参照して前記クッキー情報を取得するクッキー取得ステップと
を有し、
前記クッキー取得ステップを通じて前記クッキー情報が取得できた場合には、前記要求送信ステップでは、取得した前記クッキー情報を含めた前記アクセス要求を前記サーバ装置に送信し、
前記サーバ装置から、クッキー情報を含むWebページの提供を受けた場合には、当該クッキー情報と、前記アクセス要求に含まれる情報である、前記端末識別情報と、前記URLとを対応付けて、前記クッキー記憶手段に記録するクッキー記録ステップと、
前記サーバ装置から、クッキー情報を含むWebページの提供を受けた場合には、前記クッキー情報を除去した前記Webページを要求元の前記端末装置に提供するWebページ提供ステップと
を有することを特徴とするクッキー終端処理プログラム。
【請求項3】
請求項1または請求項2に記載のクッキー終端処理プログラムであって、
前記取得ステップにおいて、前記格納情報を取得できなかった場合には、前記要求送信ステップは、前記端末装置からの前記アクセス要求を、前記サーバ装置に送信し、
前記アクセス要求に応じて、前記サーバ装置から提供されるWebページに加えて、クッキーの使用に対する同意/不同意の選択画面が提供された場合には、前記Webページと、前記選択画面とを前記アクセス要求の提供元の前記端末装置に提供する選択画面提供ステップと、
前記選択画面提供ステップを通じて前記選択画面を提供した前記端末装置からのクッキーの使用に対する同意/不同意を示す情報を受け付ける受付ステップと、
前記選択画面の提供元の前記サーバ装置のドメインと、前記受付ステップを通じて受け付けた前記同意/不同意を示す情報とを対応付けて、前記同意/不同意記憶手段に記録する記録ステップと、
前記受付ステップを通じて受け付けた前記同意/不同意を示す情報を、前記サーバ装置に送信する同意/不同意送信ステップと
ことを特徴とするクッキー終端処理プログラム。
【請求項4】
請求項3に記載のクッキー終端処理プログラムであって、
前記受付ステップを通じて受け付けた前記同意/不同意を示す情報が、クッキーの使用に対して同意を示す情報である場合に、所定の管理者に対して、前記アクセス要求に含まれるURLと共に、クッキーの使用に対して同意を示す情報が選択されたことを通知する通知ステップ
を備えることを特徴とするクッキー終端処理プログラム。
【請求項5】
WAN(Wide Area Network)とLAN(Local Area Network)との間を中継する中継装置であって、
Webページを提供するサーバ装置のドメインと、クッキーの使用に対する同意/不同意を示す情報とを対応付けて記憶する同意/不同意記憶手段と、
前記LANに接続された端末装置からの、当該端末装置の端末識別情報と、WebページのURL(Uniform Resource Locator)とを含むアクセス要求を受け付けた場合に、前記アクセス要求の送信先の前記サーバ装置のドメインに基づいて、前記同意/不同意記憶手段を参照し、格納情報を取得する取得手段と、
前記取得手段において、前記格納情報が取得できた場合には、前記アクセス要求に前記格納情報に含まれる情報である、クッキーの使用に対して同意/不同意を示す情報を含めて、前記サーバ装置に送信する要求送信手段と
を備えることを特徴とする中継装置。
発明の詳細な説明
【技術分野】
【0001】
この発明は、LAN(Local Area Network)に接続された複数の端末装置を、WAN(Wide Area Network)に接続するための中継装置で用いられるプログラム及び当該中継装置に関する。
続きを表示(約 2,900 文字)
【背景技術】
【0002】
Webページ(Webサイト)の閲覧に関して、クッキー(Cookie)と呼ばれる情報が利用される場合が多い。クッキーは、Webページを提供するサーバ装置から閲覧元のPC(Personal Computer)やスマートフォンに提供され、閲覧に利用されているブラウザに保存される情報である。具体的には、(1)Webページの閲覧時において、サーバ装置がブラウザに対してその状態を区別する識別子をHTTP(Hyper Text Transfer Protocol)ヘッダに含めて渡す。(2)ブラウザは当該識別子を保持して、次に当該サーバ装置と通信する場合に、保持している識別子をHTTPヘッダに含めて送信する。(3)サーバ装置は、その識別子を元にコンテンツの内容を送信元のユーザに合わせてカスタマイズし、ブラウザに渡す。この場合に、必要があれば新たな識別子もHTTPヘッダに含める。上記における識別子がクッキーに相当する。
【0003】
PC等の端末装置は、Webページの閲覧状態に関する情報であるクッキー(クッキー情報)の提供をサーバ装置から受けて、これをブラウザ内に保持しておくことにより、クッキーをサーバ装置に引き継いで、続きの処理を行うことができる。クッキーを用いることにより、ID(identification)とパスワードとを入力して一度ログインしたWebサイトに、しばらくしてからもう一度アクセスする場合に、IDとパスワードとを再度入力しなくてもアクセス可能にできる。また、ショッピングサイトで買い物をしている途中で、商品をカートに入れたままログアウトしたとする。この場合に、クッキーを用いるようにしておけば、しばらくしてからもう一度同じショッピングサイトにログインすると、カートの中の品物が消えずに残っており、買い物の続きを行うことができる。
【0004】
このように、クッキーはWebページの利用者の利便性を向上させる上で有用な情報であるが、Webページの利用時における利用者に関する情報(個人情報)であるため、その利用に際しては、利用者の同意を得る必要がある。このため、Webページの利用に際して、当該Webページを提供するサーバ装置が、クッキーの使用に対する同意/不同意の選択入力を求める選択画面(ポップアップ画面)を、利用者のPCやスマートフォンに提供し、利用者に対して、同意/不同意の選択入力を求めている。しかしながら、連携する複数のドメイン(サーバ装置)からユーザがサービスの提供を受ける場合に、各ドメインからの選択入力の求めに応じることは面倒である。このため、後に記す特許文献1には、連携する複数のドメインからユーザがサービスの提供を受ける場合に、ユーザが各ドメインにアクセスする毎にユーザからのクッキーの利用の同意の取得を不要にした情報処理装置及びプログラムに関する発明が開示されている。
【先行技術文献】
【特許文献】
【0005】
特開2023-170155号公報
【発明の概要】
【発明が解決しようとする課題】
【0006】
特許文献1に開示された発明は、連携する複数のドメインからユーザがサービスの提供を受ける場合には有用なものである。しかし、例えば会社に構築されるLANシステムにおいて、LANに接続された複数のPCなどの端末装置のそれぞれが、同じWebページを利用する場合にも、端末装置のそれぞれにおいて、クッキーの使用に対する同意/不同意の選択入力を行わなければならない。クッキーは、LANに接続された端末装置ごとに区別して使用でききなければならないためである。このように、LANに接続された端末装置のそれぞれごとに、クッキーの使用に対する同意/不同意の選択入力を行わなければならないのは非効率である。
【0007】
また、LANに接続された端末装置のそれぞれのブラウザにおいて、クッキーを保持することは好ましくない場合もある。会社で使用されるPCなどの端末装置は、会社から社員に対して貸与されるものであり、主に貸与された社員が社内において使用する。しかし、なんらかの要因で、社員に貸与された端末装置が、社外に持ち出されて使用された場合、ブラウザにクッキーが残っていると、どのようなWebページをどのように使用したのかが分かってしまい、好ましくない。もちろん、端末装置のブラウザに保存されているクッキーを消去すれば、上述した問題は生じない。しかし、ブラウザに保持されるクッキーの消去の仕方がわからなかったり、ブラウザに保持されたクッキーの消去の必要性すら認識していなかったりする場合もある。
【0008】
以上のことに鑑み、この発明は、LANに接続された端末装置のそれぞれがWebページを利用する場合のクッキーの利用に関し、使用者がクッキーの利用を意識しなくても、利便性を向上させることができるようにすることを目的とする。
【課題を解決するための手段】
【0009】
上記課題を解決するため、請求項1に記載の発明のクッキー終端処理プログラムは、
WAN(Wide Area Network)とLAN(Local Area Network)との間を中継する中継装置に搭載されるコンピュータで実行されるクッキー(Cookie)終端処理プログラムであって、
前記中継装置は、Webページを提供するサーバ装置のドメインと、クッキーの使用に対する同意/不同意を示す情報とを対応付けて記憶する同意/不同意記憶手段を備えており、
前記LANに接続された端末装置からの、当該端末装置の端末識別情報と、WebページのURL(Uniform Resource Locator)とを含むアクセス要求を受け付けた場合に、前記アクセス要求の送信先の前記サーバ装置のドメインに基づいて、前記同意/不同意記憶手段を参照し、格納情報を取得する取得ステップと、
前記取得ステップにおいて、前記格納情報が取得できた場合には、前記アクセス要求に前記格納情報に含まれる情報であるクッキーの使用に対して同意/不同意を示す情報を含めて、前記サーバ装置に送信する要求送信ステップと
を有することを特徴とする。
【0010】
請求項1に記載の発明のクッキー終端処理プログラムによれば、LANに接続された端末装置からのWebページへのアクセス要求を受け付けたとする。この場合に、取得ステップにおいて、アクセス要求に含まれるURLのドメイン(送信先のサーバ装置のドメイン)に基づいて、同意/不同意記憶手段が参照され、格納情報が取得される。取得手ステップにおいて、格納情報が取得できた場合には、要求送信ステップにおいて、当該格納情報に含まれるクッキーの使用に対して同意/不同意を示す情報を含むようにしたアクセス要求が、Webページの提供元のサーバ装置に送信される。
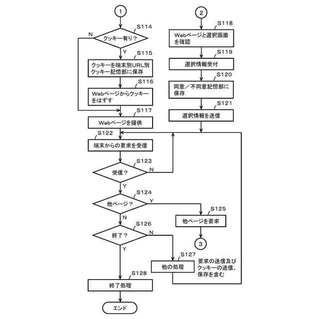
(【0011】以降は省略されています)
この特許をJ-PlatPat(特許庁公式サイト)で参照する
関連特許
サクサ株式会社
中継装置
1か月前
サクサ株式会社
中継装置
1か月前
サクサ株式会社
中継装置
2か月前
サクサ株式会社
無線システム
1か月前
サクサ株式会社
無線通信装置
1か月前
サクサ株式会社
無線通信装置
1か月前
サクサ株式会社
電池の固定構造
1か月前
サクサ株式会社
開き角度規制構造
1か月前
サクサ株式会社
電子メール中継装置
今日
サクサ株式会社
管理装置及び管理方法
1か月前
サクサ株式会社
通信装置及びプログラム
1か月前
サクサ株式会社
選曲装置及び選曲プログラム
1か月前
サクサ株式会社
クッキー終端処理プログラム及び中継装置
1か月前
サクサ株式会社
ネットワークシステム、コードレス電話装置及びネットワーク制御装置
8日前
サクサ株式会社
ネットワークシステム、ネットワーク制御装置及びアクセスポイント装置
27日前
個人
イヤーピース
27日前
個人
イヤーマフ
1か月前
個人
監視カメラシステム
1か月前
キーコム株式会社
光伝送線路
1か月前
個人
スイッチシステム
1か月前
個人
スキャン式車載用撮像装置
1か月前
WHISMR合同会社
収音装置
2か月前
サクサ株式会社
中継装置
1か月前
サクサ株式会社
中継装置
1か月前
アイホン株式会社
電気機器
2か月前
キヤノン株式会社
撮像装置
6日前
キヤノン株式会社
撮像装置
3か月前
サクサ株式会社
無線システム
1か月前
キヤノン電子株式会社
画像読取装置
27日前
ヤマハ株式会社
放音制御装置
1か月前
個人
ワイヤレスイヤホン対応耳掛け
2か月前
キヤノン電子株式会社
画像読取装置
2か月前
株式会社リコー
画像形成装置
1か月前
株式会社リコー
画像形成装置
3か月前
キヤノン電子株式会社
画像読取装置
1か月前
キヤノン電子株式会社
画像読取装置
1か月前
続きを見る
他の特許を見る