TOP
|
特許
|
意匠
|
商標
特許ウォッチ
Twitter
他の特許を見る
10個以上の画像は省略されています。
公開番号
2025167457
公報種別
公開特許公報(A)
公開日
2025-11-07
出願番号
2024072083
出願日
2024-04-26
発明の名称
ネットワークシステム、ネットワーク制御装置及びアクセスポイント装置
出願人
サクサ株式会社
代理人
個人
,
個人
主分類
H04W
24/02 20090101AFI20251030BHJP(電気通信技術)
要約
【課題】 使用者の手を煩わせることなく、アクセスポイント装置に対する制御を適切に行って、より良好な通信環境を整えることができるようにする。
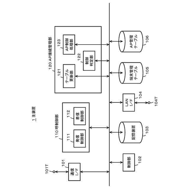
【解決手段】 アクセスポイント装置は、情報通知処理部を通じて、所定のタイミング毎に無線通信関連情報を主装置1に通知し、制御部によって、主装置1からの指示情報に応じて、自機の動作状態を制御する。主装置1は、接続端104Tを通じてアクセスポイント装置からの無線通信関連情報を受信し、テーブル更新部121によって、受信した無線通信関連情報に基づいてAP管理テーブル106を更新する。主装置1は、制御判定手部122によって、AP管理テーブル106の格納データに基づいて、アクセスポイント装置の制御が必要か否かを判定し、制御が必要な場合に、AP制御処理部123が、指示情報を形成して目的とするアクセスポイント装置に提供する。
【選択図】図2
特許請求の範囲
【請求項1】
広域ネットワークに接続されるネットワーク制御装置と、前記ネットワーク制御装置に接続された装置であって、無線接続される通信端末を、前記ネットワーク制御装置を通じて前記広域ネットワークに接続可能にする複数のアクセスポイント装置と、を備えて構成されるネットワークシステムであって、
前記アクセスポイント装置は、
所定のタイミング毎に、自機の装置識別情報を含む、自機の無線通信関連情報を、前記ネットワーク制御装置に通知する情報通知処理手段と、
前記ネットワーク制御装置からの指示情報に応じて、自機の動作状態を制御する動作状態制御手段と
を備え、
前記ネットワーク制御装置は、
前記アクセスポイント装置からの前記無線通信関連情報を受信する受信手段と、
前記受信手段を通じて受信した前記無線通信関連情報に基づいて、前記アクセスポイント装置ごとにアクセスポイント管理テーブルを更新するテーブル更新手段と、
前記テーブル更新手段で前記アクセスポイント管理テーブルに対して更新を行うようにした場合に、前記アクセスポイント管理テーブルの格納データに基づいて、前記アクセスポイント装置に対して制御が必要か否かを判定する制御判定手段と、
前記制御判定手段で制御が必要であると判定された場合に、目的とする前記アクセスポイント装置に対して、指示情報を形成して送信するアクセスポイント制御処理手段と
を備えることを特徴とするネットワークシステム。
続きを表示(約 1,600 文字)
【請求項2】
請求項1に記載のネットワークシステムであって、
前記無線通信関連情報は、前記アクセスポイント装置が選局した無線通信チャネルを識別するチャネル識別情報と、無線による受信信号から取得する送信元の装置識別情報と、前記受信信号の信号強度に関する情報との内の1つ以上を含む
ことを特徴とするネットワークシステム。
【請求項3】
請求項1または請求項2に記載のネットワークシステムであって、
前記ネットワーク制御装置の前記アクセスポイント制御処理手段で形成される前記指示情報は、無線による信号の受信は継続するが、無線による信号の送信は停止する停止指示、無線による信号の送信を開始する起動指示、無線通信チャネルを移動する移動指示を含む
ことを特徴とするネットワークシステム。
【請求項4】
広域ネットワークに接続されるネットワーク制御装置と、前記ネットワーク制御装置に接続された装置であって、無線接続される通信端末を、前記ネットワーク制御装置を通じて前記広域ネットワークに接続可能にする複数のアクセスポイント装置と、を備えて構成されるネットワークシステムの前記ネットワーク制御装置であって、
前記アクセスポイント装置は、所定のタイミング毎に、自機の装置識別情報を含む、自機の無線通信関連情報を、前記LANを通じて前記ネットワーク制御装置に通知する情報通知処理手段と、前記ネットワーク制御装置からの指示情報に応じて、自機の動作状態を制御する動作状態制御手段とを備えるものであり、
前記アクセスポイント装置からの前記無線通信関連情報を受信する受信手段と、
前記受信手段を通じて受信した前記無線通信関連情報に基づいて、前記アクセスポイント装置ごとにアクセスポイント管理テーブルを更新するテーブル更新手段と、
前記テーブル更新手段で前記アクセスポイント管理テーブルに対して更新を行うようにした場合に、前記アクセスポイント管理テーブルの格納データに基づいて、前記アクセスポイント装置に対して制御が必要か否かを判定する制御判定手段と、
前記制御判定手段で制御が必要であると判定された場合に、目的とする前記アクセスポイント装置に対して、指示情報を形成して送信するアクセスポイント制御処理手段と
を備えることを特徴とするネットワーク制御装置。
【請求項5】
広域ネットワークに接続されるネットワーク制御装置と、前記ネットワーク制御装置に接続された装置であって、無線接続される通信端末を、前記ネットワーク制御装置を通じて前記広域ネットワークに接続可能にする複数のアクセスポイント装置と、を備えて構成されるネットワークシステムの前記アクセスポイント装置であって、
前記ネットワーク制御装置は、前記アクセスポイント装置からの無線通信関連情報を受信する受信手段と、前記受信手段を通じて受信した前記無線通信関連情報に基づいて、前記アクセスポイント装置ごとにアクセスポイント管理テーブルを更新するテーブル更新手段と、前記テーブル更新手段で前記アクセスポイント管理テーブルに対して更新を行うようにした場合に、前記アクセスポイント管理テーブルの格納データに基づいて、前記アクセスポイント装置に対して制御が必要か否かを判定する制御判定手段と、前記制御判定手段で制御が必要であると判定された場合に、目的とする前記アクセスポイント装置に対して、指示情報を形成して送信するアクセスポイント制御処理手段とを備えるものであり、
所定のタイミング毎に、自機の装置識別情報を含む、自機の無線通信関連情報を、前記LANを通じて前記ネットワーク制御装置に通知する情報通知処理手段と、
前記ネットワーク制御装置からの指示情報に応じて、自機の動作状態を制御する動作状態制御手段と
を備えることを特徴とするアクセスポイント装置。
発明の詳細な説明
【技術分野】
【0001】
この発明は、例えば、所定の構内に構成されるビジネスホンシステムのように、限られたエリア内に構成され、無線通信端末の利用を可能にするシステム、当該システムで用いられる装置に関する。
続きを表示(約 2,500 文字)
【背景技術】
【0002】
後に記す特許文献1には、主装置部に対して、LANを通じて複数のアクセスポイント装置を接続し、これら複数のアクセスポイント装置と主装置部を通じて、携帯電話端末を外部ネットワークに接続可能にするビジネスホンシステムが開示されている。当該携帯電話端末は、アクセスポイント装置を通じて外部ネットワークに接続可能にされる無線LAN端末である。なお、ビジネスホンシステムは、主装置と複数台の電話機とで構成され、外線通話だけでなく、内線通話も可能にされた電話システムであり、ボタン電話システムなどとも呼ばれる。
【0003】
特許文献1に開示されたビジネスホンシステムは、無線LAN端末の現在位置でのチャンネルスキャンを、当該位置を通信範囲とするアクセスポイント装置の使用チャンネルを開始チャンネルとして実行する。これにより、チャンネルスキャン時間を非常に短いものとすることができるようにしている。従って、無線LAN端末が移動することにより、接続先となるアクセスポイント装置をシームレスに切り替えるいわゆるハンドオーバーを良好に行うことができる。
【先行技術文献】
【特許文献】
【0004】
特開2013-85154号公報
【発明の概要】
【発明が解決しようとする課題】
【0005】
特許文献1に開示されたビジネスホンシステムのように、アクセスポイント装置を用いて構成するネットワークシステムの場合には、アクセスポイント装置に対して無線接続される無線LAN端末の通信不具合が発生する場合がある。この場合に、当該ネットワークシステムの構築環境を詳しく見ると、アクセスポイント装置の設置台数が多く、アクセスポイント装置同士が電波の干渉を生じさせている場合が多い。アクセスポイント装置には、自動周波数選択機能が実装されているものもある。しかし、自動周波数選択機能で選択される周波数(通信チャネル)は、メーカーなどによる差異がほぼなく、複数のアクセスポイント装置で同じ周波数(通信チャネル)が選択される場合が多い。
【0006】
図15は、2.4GHz帯の無線LANであるIEEE802.11b規格の無線通信チャネルの状態を示している。図15に示すように、使用可能な無線通信チャネルは、1ch~14chまである。各チャネルは5MHzずつ離れており、指定されたチャネルで無線LANによる通信を行う場合は、中心周波数から両側に11MHzの帯域幅を有する合計22MHzの帯域を使用して通信を行う。このため、帯域が重複する隣接チャネルを使用して通信を行うと、当該隣接するチャネル同士で電波が干渉し合うことになる。
【0007】
このため、自動周波数選択機能を用いる場合、電波の干渉を生じさせないように、「1ch、6ch、11ch、14ch」、「2ch、7ch、12ch」などのように、5チャネルずつ離して通信チャネルの選択を行うことになる。このため、自動周波数選択機能を用いても、アクセスポイント装置の設置台数が多いと複数のアクセスポイント装置で同じ通信チャネルを選択してしまう場合が多くなる。上述した特許文献1に開示された発明の場合には、チャネル選択の迅速化やハンドオーバーの改善を図ることはできても、アクセスポイント装置の通信環境の改善まではできない。
【0008】
ここでは、2.4GHz帯を使用するIEEE802.11b規格の場合を例にして説明したが、同じく2.4GHz帯を使用するIEEE802.11g規格の場合にも、同様の問題が生じる。また、図16は、5GHz帯を使用するIEEE802.11a規格の無線通信チャネルの状態を示している。図16に示す5GHz帯を使用するIEEE802.11a規格の場合にも、同様の問題が生じる場合がある。
【0009】
以上のことに鑑み、この発明は、アクセスポイント装置を複数備えるネットワークシステムにおいて、使用者の手を煩わせることなく、アクセスポイント装置に対する制御を適切に行って、より良好な通信環境を整えることができるようにすることを目的とする。
【課題を解決するための手段】
【0010】
上記課題を解決するため、請求項1に記載の発明のネットワークシステムは、
広域ネットワークに接続されるネットワーク制御装置と、前記ネットワーク制御装置に接続された装置であって、無線接続される通信端末を、前記ネットワーク制御装置を通じて前記広域ネットワークに接続可能にする複数のアクセスポイント装置と、を備えて構成されるネットワークシステムであって、
前記アクセスポイント装置は、
所定のタイミング毎に、自機の装置識別情報を含む、自機の無線通信関連情報を、前記ネットワーク制御装置に通知する情報通知処理手段と、
前記ネットワーク制御装置からの指示情報に応じて、自機の動作状態を制御する動作状態制御手段と
を備え、
前記ネットワーク制御装置は、
前記アクセスポイント装置からの前記無線通信関連情報を受信する受信手段と、
前記受信手段を通じて受信した前記無線通信関連情報に基づいて、前記アクセスポイント装置ごとにアクセスポイント管理テーブルを更新するテーブル更新手段と、
前記テーブル更新手段で前記アクセスポイント管理テーブルに対して更新を行うようにした場合に、前記アクセスポイント管理テーブルの格納データに基づいて、前記アクセスポイント装置に対して制御が必要か否かを判定する制御判定手段と、
前記制御判定手段で制御が必要であると判定された場合に、目的とする前記アクセスポイント装置に対して、指示情報を形成して送信するアクセスポイント制御処理手段と
を備えることを特徴とする。
(【0011】以降は省略されています)
この特許をJ-PlatPat(特許庁公式サイト)で参照する
関連特許
サクサ株式会社
中継装置
1か月前
サクサ株式会社
中継装置
1か月前
サクサ株式会社
中継装置
2か月前
サクサ株式会社
無線システム
1か月前
サクサ株式会社
無線通信装置
1か月前
サクサ株式会社
無線通信装置
1か月前
サクサ株式会社
電池の固定構造
1か月前
サクサ株式会社
開き角度規制構造
1か月前
サクサ株式会社
管理装置及び管理方法
1か月前
サクサ株式会社
通信装置及びプログラム
1か月前
サクサ株式会社
選曲装置及び選曲プログラム
1か月前
サクサ株式会社
クッキー終端処理プログラム及び中継装置
1か月前
サクサ株式会社
ネットワークシステム、コードレス電話装置及びネットワーク制御装置
7日前
サクサ株式会社
ネットワークシステム、ネットワーク制御装置及びアクセスポイント装置
26日前
個人
イヤーピース
26日前
個人
イヤーマフ
1か月前
個人
監視カメラシステム
1か月前
キーコム株式会社
光伝送線路
1か月前
個人
スイッチシステム
1か月前
サクサ株式会社
中継装置
1か月前
サクサ株式会社
中継装置
1か月前
個人
スキャン式車載用撮像装置
1か月前
WHISMR合同会社
収音装置
2か月前
アイホン株式会社
電気機器
2か月前
キヤノン株式会社
撮像装置
3か月前
キヤノン株式会社
撮像装置
5日前
株式会社リコー
画像形成装置
3か月前
株式会社リコー
画像形成装置
1か月前
株式会社リコー
画像形成装置
3か月前
個人
映像表示装置、及びARグラス
1か月前
サクサ株式会社
無線通信装置
1か月前
キヤノン電子株式会社
画像読取装置
1か月前
キヤノン電子株式会社
画像読取装置
2か月前
個人
ワイヤレスイヤホン対応耳掛け
2か月前
ヤマハ株式会社
放音制御装置
1か月前
サクサ株式会社
無線通信装置
1か月前
続きを見る
他の特許を見る