TOP
|
特許
|
意匠
|
商標
特許ウォッチ
Twitter
他の特許を見る
公開番号
2025154410
公報種別
公開特許公報(A)
公開日
2025-10-10
出願番号
2024057396
出願日
2024-03-29
発明の名称
おしゃぶり器、及びおしゃぶりシステム
出願人
北道電設株式会社
代理人
個人
主分類
A61J
17/00 20060101AFI20251002BHJP(医学または獣医学;衛生学)
要約
【課題】乳幼児等の顎から直接的に、リラックスできる体内音を伝えることができるおしゃぶり器を得ることを目的とする。
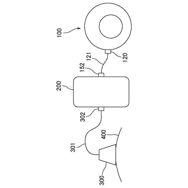
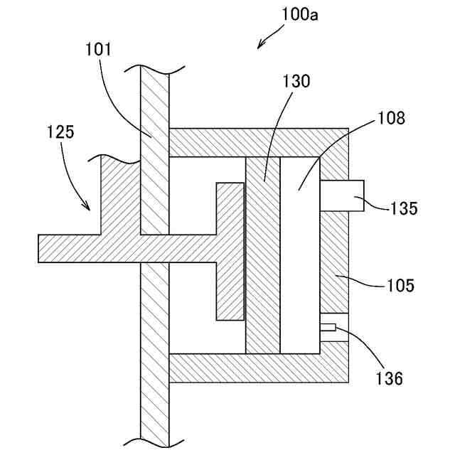
【解決手段】乳首部102を本体部101に有するおしゃぶり器100は、乳首部102の内側に配置された顎振動伝達部111と、リラックス体内音を生成するリラックス体内音生成部108と、リラックス体内音に基づき振動を発生させ、顎振動伝達部111に伝える振動発生部110とを備え、リラックス体内音生成部108は、母体が発生する体内音をリラックス体内音として取得する取得部135と、これを振動情報に変換するリラックス体内音変換部133とを有する。
【選択図】図1
特許請求の範囲
【請求項1】
乳首部を本体部に有するおしゃぶり器であって、
前記乳首部の内側に配置された顎振動伝達部と、
リラックス体内音を生成するリラックス体内音生成部と、前記リラックス体内音に基づき振動を発生させ、前記顎振動伝達部に伝える振動発生部とを備え、
前記リラックス体内音生成部は、母体が発生する体内音を前記リラックス体内音として取得する取得部と、これを振動情報に変換するリラックス体内音変換部とを有する、おしゃぶり器。
続きを表示(約 1,000 文字)
【請求項2】
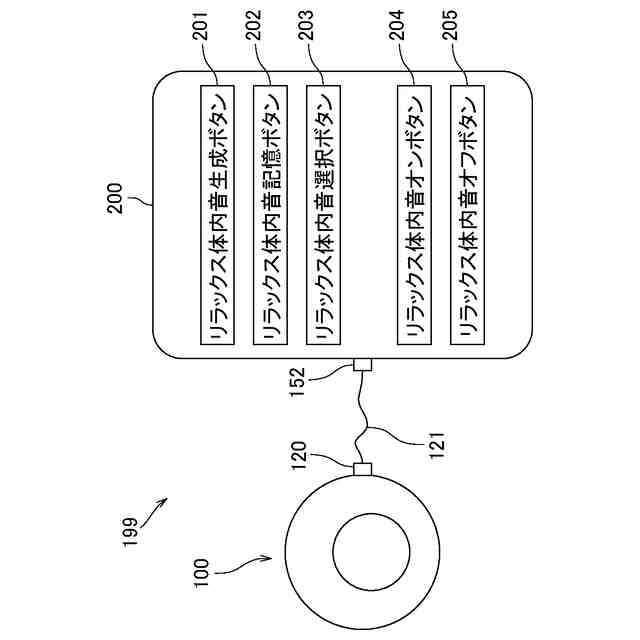
前記リラックス体内音生成部は、前記リラックス体内音を記憶する記憶部を有し、前記リラックス体内音は、複数種類記憶されており、選択されたいずれかの前記リラックス体内音を生成して前記リラックス体内音変換部を実行する、請求項1記載のおしゃぶり器。
【請求項3】
前記リラックス体内音は、母体の心音、又は胎動時の音である、請求項2記載のおしゃぶり器。
【請求項4】
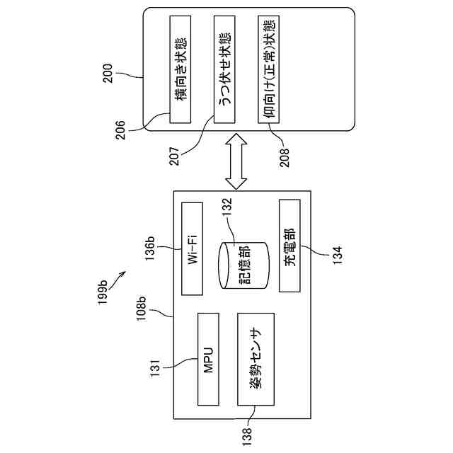
前記おしゃぶり器は、姿勢センサを有しており、前記おしゃぶり器をくわえた幼児の姿勢を3軸座標系で定義する3軸座標軸を備え、前記幼児の姿勢を報知する、請求項1記載のおしゃぶり器。
【請求項5】
乳首部を本体部に有するおしゃぶり器と、携帯端末とを有するおしゃぶりシステムであって、
前記乳首部の内側に配置された顎振動伝達部と、
リラックス体内音を生成するリラックス体内音生成部と、前記リラックス体内音に基づき振動を発生させ、前記顎振動伝達部に伝える振動発生部とを備え、
前記リラックス体内音生成部は、母体が発生する体内音を前記リラックス体内音として取得する取得部と、これを振動情報に変換するリラックス体内音変換部とを有し、
前記携帯端末は、収音マイクからの母体の体内音をリラックス体内音として取得する取得部と、
前記おしゃぶり器と通信を行って、前記リラックス体内音を前記記憶部に記憶する通信部と、
前記おしゃぶり器と通信を行って前記記憶部の前記リラックス体内音を再生させる再生部とを有する、おしゃぶりシステム。
【請求項6】
前記リラックス体内音生成部は、前記リラックス体内音を記憶する記憶部を有し、前記リラックス体内音は、複数種類記憶されており、選択されたいずれかの前記リラックス体内音を生成して前記リラックス体内音変換部を実行する、請求項5記載のおしゃぶりシステム。
【請求項7】
前記リラックス体内音は、母体の心音、又は胎動時の音である、請求項5記載のおしゃぶりシステム。
【請求項8】
前記おしゃぶり器は、姿勢センサを有しており、前記姿勢センサのデータを前記携帯端末に送信する送信部と、前記おしゃぶり器をくわえた幼児の姿勢を3軸座標系で定義する3軸座標軸とを備え、前記幼児の姿勢を画面に表示する、請求項5記載のおしゃぶりシステム。
発明の詳細な説明
【技術分野】
【0001】
本発明は、おしゃぶり器、及びおしゃぶりシステムに関する。
続きを表示(約 1,500 文字)
【背景技術】
【0002】
おしゃぶり器は、従来から使用されており、近年、以下のような効果が研究で明らかになった。すなわち、乳幼児等が哺乳する際に、自己の上顎に存在する凹部である「吸啜窩」に、乳首等が吸啜窩に配置されると、「吸啜反射」が起き、乳幼児等は、舌の蠕動様運動を開始する。
【0003】
このため、おしゃぶりは、乳幼児等の「吸啜反射」を満足させるという効果を発揮し、このような効果が生じることで、乳幼児等の心身の安静を促すものであることが明らかになった。一方、音と音楽は、乳幼児の注意を引きつける。この音楽を乳幼児等に感じさせるものが特許文献1に開示されている。
【0004】
特許文献1のミュージックおしゃぶりは、音の振動を乳幼児の顎を通り、乳幼児の耳に直接伝えることができるミュージックおしゃぶりを提供するものである。具体的には、おしゃぶりフレームと、フレームの側面に位置する乳首と、前記フレームのもう一つの側面に位置する収容部を含む。そして、収容部内に、音楽IC及び電源、絶縁ハウス、及び振動トランスデューサーを有する。軟質材料でできている絶縁ハウスは、振動を絶縁するために用いる。振動トランスデューサーは、事前に格納された音楽を振動へ変換するために用いる。振動トランスデューサーは、前記ハウス内に位置する。振動トランスデューサーは、上記音楽ICと接続する。振動タングは、前記振動トランスデューサーによって生じた振動を乳幼児の顎に伝えるために用いられる。振動タングは、上記ハウス内の前記振動トランスデューサーの接触部分、および前記ハウスから突き出し且つ前記乳首内に延びるタングを含む。と記載している。
【先行技術文献】
【特許文献】
【0005】
実用新案登録第3169145号公報
【発明の概要】
【発明が解決しようとする課題】
【0006】
しかしながら、特許文献1のおしゃぶりは、乳首内に振動タングと称するものを設けて、この振動タングに音楽ICからの音楽を振動トランスデューサーを介して伝えるものであるので、乳幼児等のリラックスを与えるにはつたない。
【0007】
本発明は以上の課題を鑑みてなされたものであり、軽量な構成で、かつ乳幼児等の顎に直接的に、リラックスできる体内音を伝えることができるおしゃぶりを得ることを目的とする。
【課題を解決するための手段】
【0008】
本発明は以上の問題に鑑みてなされたものであって、請求項1に係る発明は、乳首部を本体部に有するおしゃぶり器であって、前記乳首部の内側に配置された顎振動伝達部と、リラックス体内音を生成するリラックス体内音生成部と、前記リラックス体内音に基づき振動を発生させ、前記顎振動伝達部に伝える振動発生部とを備え、前記リラックス体内音生成部は、母体が発生する体内音を前記リラックス体内音として取得する取得部と、これを振動情報に変換するリラックス体内音変換部とを有する、おしゃぶり器である。
【0009】
請求項2に係る発明は、前記リラックス体内音生成部は、前記リラックス体内音を記憶する記憶部を有し、前記リラックス体内音は、複数種類記憶されており、選択されたいずれかの前記リラックス体内音を生成して前記リラックス体内音変換部を実行する、上記のおしゃぶり器である。
【0010】
請求項3に係る発明は、前記リラックス体内音は、母体の心音、又は胎動時の音である、上記のおしゃぶり器である。
(【0011】以降は省略されています)
この特許をJ-PlatPat(特許庁公式サイト)で参照する
関連特許
北道電設株式会社
配電具カバー
23日前
北道電設株式会社
おしゃぶり器、及びおしゃぶりシステム
1か月前
個人
貼付剤
20日前
個人
簡易担架
2日前
個人
短下肢装具
3か月前
個人
腋臭防止剤
2日前
個人
足踏み器具
9日前
個人
前腕誘導装置
4か月前
個人
洗井間専家。
7か月前
個人
排尿補助器具
1か月前
個人
嚥下鍛錬装置
4か月前
個人
歯の修復用材料
4か月前
個人
ホバーアイロン
7か月前
個人
ウォート指圧法
1か月前
個人
バッグ式オムツ
5か月前
個人
アイマスク装置
2か月前
個人
矯正椅子
5か月前
個人
腰ベルト
23日前
個人
汚れ防止シート
1か月前
個人
胸骨圧迫補助具
2か月前
個人
哺乳瓶冷まし容器
3か月前
個人
歯の保護用シール
5か月前
個人
排尿排便補助器具
4日前
個人
湿布連続貼り機。
3か月前
個人
陣痛緩和具
4か月前
個人
美容セット
11日前
個人
シャンプー
6か月前
個人
服薬支援装置
8か月前
個人
治療用酸化防御装置
2か月前
個人
性行為補助具
3か月前
株式会社コーセー
化粧料
1か月前
株式会社大野
骨壷
4か月前
個人
エア誘導コルセット
2か月前
株式会社八光
剥離吸引管
5か月前
株式会社ニデック
眼科装置
2か月前
株式会社松風
口腔用組成物
4か月前
続きを見る
他の特許を見る