TOP
|
特許
|
意匠
|
商標
特許ウォッチ
Twitter
他の特許を見る
公開番号
2025164590
公報種別
公開特許公報(A)
公開日
2025-10-30
出願番号
2024068656
出願日
2024-04-19
発明の名称
ティーチングチップおよびこれを装着した溶接ロボット
出願人
株式会社ダイヘン
代理人
弁理士法人平木国際特許事務所
主分類
B23K
9/127 20060101AFI20251023BHJP(工作機械;他に分類されない金属加工)
要約
【課題】溶接ロボットの教示の際に、ワイヤおよびコイルスプリングが、ワークに接触するおそれがあり、ワークの表面に傷をつけてしまうことが想定される。
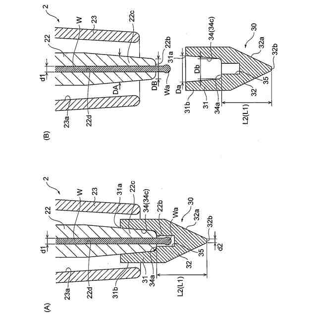
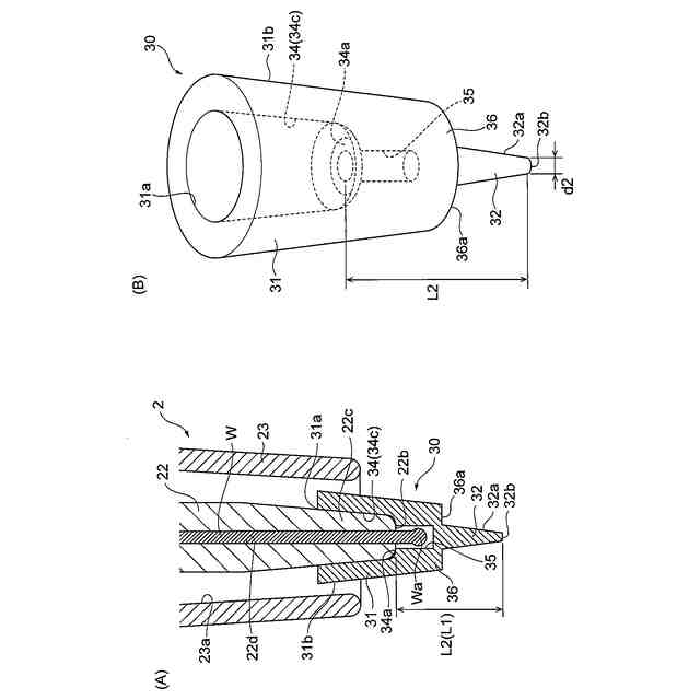
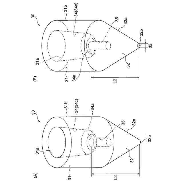
【解決手段】ティーチングチップ30は、給電チップ22の先端部分22cに着脱自在に取り付けられ、絶縁性を有した樹脂またはゴムからなる弾性体である。ティーチングチップ30の基端には、給電チップ22の先端部分22cが挿入される。給電チップ22に着脱自在となるチップ収容凹部34が形成されている。チップ収容凹部34には、給電チップ22の先端面22bに当接する当接面34aが形成されている。当接面34aからティーチングチップ30の先端32bまでの長手方向に沿った距離L2が、規定長さL1に設定されている。
【選択図】図2
特許請求の範囲
【請求項1】
溶接ロボットの溶接トーチに設けられた給電チップの先端面から、溶接時に規定長さで延びた溶接用のワイヤの先端に合わせた狙い位置を、前記溶接ロボットに教示させるためのティーチングチップであって、
前記ティーチングチップは、前記給電チップの先端部分に着脱自在に取り付けられ、絶縁性を有した樹脂またはゴムからなる弾性体であり、
前記ティーチングチップの基端には、前記給電チップの先端部分が挿入されるチップ収容凹部が形成されており、
前記チップ収容凹部には、前記給電チップの先端面に当接する当接面が形成されており、
前記当接面から前記ティーチングチップの先端までの長手方向に沿った距離が、前記規定長さに設定されていることを特徴とするティーチングチップ。
続きを表示(約 760 文字)
【請求項2】
前記給電チップの先端面から延びた前記ワイヤの先端部分を収容するワイヤ収容凹部が、前記当接面から凹むように形成されていることを特徴とする請求項1に記載のティーチングチップ。
【請求項3】
前記ティーチングチップが前記給電チップに対して非装着となる状態で、前記チップ収容凹部の内径を、前記給電チップの先端部分の内径よりも小さく設定することにより、前記ティーチングチップを前記給電チップに対して装着した状態で、前記チップ収容凹部を形成する側壁部が、弾性変形することを特徴とする請求項1に記載のティーチングチップ。
【請求項4】
前記ティーチングチップの先端の直径は、前記給電チップの前記ワイヤが挿通される挿通孔の内径以下であることを特徴とする請求項1に記載のティーチングチップ。
【請求項5】
前記ティーチングチップは、前記ティーチングチップの前記先端に進むに従って、直径が小さくなる先細部分を有し、
前記先細部分の長さは、前記規定長さに設定されていることを特徴とする請求項4に記載のティーチングチップ。
【請求項6】
多関節のロボット本体と、前記ロボット本体の先端に取り付けられた溶接トーチと、を備えた溶接ロボットであって、
前記溶接トーチに設けられた前記給電チップに、請求項1に記載のティーチングチップが装着された溶接ロボット。
【請求項7】
前記溶接ロボットは、操作者により把持された状態で、操作者から前記ロボット本体の先端に付与される外力により、前記ティーチングチップの先端の移動する位置に応じた前記ロボット本体の動作を教示するティーチングハンドルをさらに備えることを特徴とする請求項6に記載の溶接ロボット。
発明の詳細な説明
【技術分野】
【0001】
本発明は、ティーチングチップおよびこれを装着した溶接ロボットに関する。
続きを表示(約 1,900 文字)
【背景技術】
【0002】
この種の技術では、溶接ロボットでは、給電チップの先端面から溶接用のワイヤを溶接条件に合わせた長さ(規定長さ)に突き出した状態で、ワーク溶接箇所の溶接線に沿って移動させて、溶接ロボットの教示(ティーチング)を行っている。
【0003】
たとえば、特許文献1には、給電チップと同等のチップ本体と、チップ本体に取り付けられ、チップ本体から突き出したワイヤが挿通されるコイルスプリングと、を備えたティーチングチップが提案されている。溶接ロボットの教示の際には、給電チップをティーチングチップに付け替えて、コイルスプリングからワイヤの先端を僅かに飛び出させる。この状態で、ティーチングペンダントを用いて、溶接ロボットを作動させ、溶接線に沿った狙い位置にワイヤの先端を移動させる。
【先行技術文献】
【特許文献】
【0004】
特開2014-231066号公報
【発明の概要】
【発明が解決しようとする課題】
【0005】
しかしながら、特許文献1に示すティーチングチップを取り付ける際には、溶接トーチから給電チップを取り外ししなければならず、溶接ロボットの教示後、溶接を行う際には、溶接トーチから給電チップを再度取り付けなければならない。これに加えて、溶接ロボットの教示の際には、ワイヤおよびコイルスプリングが、ワークに接触するおそれがあり、ワークの表面に傷をつけてしまうことが想定される。
【0006】
本発明はこのような点に鑑みてなされたものであり、その目的とするところは、溶接ロボットの教示の際に、簡単な作業で、ワークの表面に傷をつけることを抑えることができるティーチングチップおよびこれを装着した溶接ロボットを提供することにある。
【課題を解決するための手段】
【0007】
前記課題を鑑みて、本発明に係るティーチングチップは、溶接ロボットの溶接トーチに設けられた給電チップの先端面から、溶接時に規定長さで延びた溶接用のワイヤの先端に合わせた狙い位置を、前記溶接ロボットに教示させるためのティーチングチップである。前記ティーチングチップは、前記給電チップの先端部分に着脱自在に取り付けられ、絶縁性を有した樹脂またはゴムからなる弾性体である。前記ティーチングチップの基端には、前記給電チップの先端部分が挿入されるチップ収容凹部が形成されている。前記チップ収容凹部には、前記給電チップの先端面に当接する当接面が形成されている。前記当接面から前記ティーチングチップの先端までの長手方向に沿った距離が、前記規定長さに設定されている。
【0008】
本発明によれば、給電チップの先端部分を、ティーチングチップのチップ収容凹部に挿入することで、給電チップの先端部分に、ティーチングチップを装着することができる。これにより、給電チップを取り外すことなく、ティーチングチップを溶接トーチに取り付けることができる。また、チップ収容凹部に形成された当接面に、給電チップの先端面を当接させると、給電チップの先端面からティーチングチップの先端までの長手方向に沿った距離を、溶接時のワイヤの規定長さに設定することができる。この結果、規定長さまでワイヤを給電チップの先端面から延ばすことなく、ティーチングチップの先端位置を基準に、溶接線に沿ったワイヤ先端の狙い位置に合わせて、溶接ロボット(の動作)を教示することができる。ここで、ティーチングチップは、絶縁性を有した樹脂またはゴムからなる弾性体であることから、溶接ロボットの教示の際に、ティーチングチップの先端がワークに接触しても、ティーチングチップの先端で、ワークの表面に傷をつけることを回避することができる。
【0009】
より好ましい態様としては、前記給電チップの先端面から延びた前記ワイヤの先端部分を収容するワイヤ収容凹部が、前記当接面から凹むように形成されている。
【0010】
この態様によれば、ティーチングチップにワイヤ収容凹部を設けることにより、給電チップの先端面からワイヤの先端部分を延ばした状態で、溶接ロボットを教示することができる。このため、溶接を開始する前に、給電チップの先端面から規定長さとなる分だけ、ワイヤをさらに送り、ワイヤの先端部分を移動させればよいので、ワイヤによる溶接をスムーズに開始することができる。
(【0011】以降は省略されています)
この特許をJ-PlatPat(特許庁公式サイト)で参照する
関連特許
株式会社ダイヘン
充電装置
1か月前
株式会社ダイヘン
充電装置
1か月前
株式会社ダイヘン
充電装置
1か月前
株式会社ダイヘン
搬送装置
1か月前
株式会社ダイヘン
充電装置
1か月前
株式会社ダイヘン
制御装置
1か月前
株式会社ダイヘン
溶接トーチ
18日前
株式会社ダイヘン
電力変換装置
1か月前
株式会社ダイヘン
電極交換装置
18日前
株式会社ダイヘン
研削システム
18日前
株式会社ダイヘン
電力システム
1か月前
株式会社ダイヘン
回生ユニット
1か月前
株式会社ダイヘン
溶接電源装置
1か月前
株式会社ダイヘン
絶縁紙巻回装置
1か月前
株式会社ダイヘン
変圧器組立装置
1か月前
株式会社ダイヘン
インバータ装置
1か月前
株式会社ダイヘン
レーザ接合装置
18日前
株式会社ダイヘン
パルス電源装置
1か月前
株式会社ダイヘン
インバータ装置
1か月前
株式会社ダイヘン
パワーモジュール
1か月前
株式会社ダイヘン
パワーモジュール
1か月前
株式会社ダイヘン
パワーモジュール
1か月前
株式会社ダイヘン
熱加工用電源装置
1か月前
株式会社ダイヘン
熱加工用電源装置
24日前
株式会社ダイヘン
積層造形システム
23日前
株式会社ダイヘン
積層造形システム
23日前
株式会社ダイヘン
積層造形システム
23日前
株式会社ダイヘン
溶接ワイヤ送給装置
18日前
株式会社ダイヘン
直流パルス電源装置
1か月前
株式会社ダイヘン
溶接ワイヤ送給機構
18日前
株式会社ダイヘン
溶接ワイヤ送給機構
18日前
株式会社ダイヘン
アーク溶接システム
1か月前
株式会社ダイヘン
パルスアーク溶接制御方法
2日前
株式会社ダイヘン
パルスアーク溶接制御方法
10日前
株式会社ダイヘン
パルスアーク溶接制御方法
10日前
株式会社ダイヘン
制御装置及び研削システム
1か月前
続きを見る
他の特許を見る