TOP
|
特許
|
意匠
|
商標
特許ウォッチ
Twitter
他の特許を見る
公開番号
2025129559
公報種別
公開特許公報(A)
公開日
2025-09-05
出願番号
2024026269
出願日
2024-02-26
発明の名称
溶接装置
出願人
トヨタ自動車株式会社
代理人
個人
主分類
H02K
15/085 20060101AFI20250829BHJP(電力の発電,変換,配電)
要約
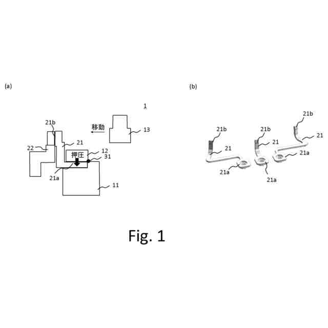
【課題】クランパーと加工治具の干渉の発生を抑制した溶接装置を提供すること。
【解決手段】溶接装置1は、ステータ2に用いられる動力線21とコイル線22の溶接を行う溶接装置であって、ステータ2の軸方向に対して直角方向に動作することで、動力線21の一端部の上方に配されることにより、動力線21の下方に配されたセット治具11との間で、動力線21を軸方向に挟み込んで固定するクランパー12と、クランパー12の上方を通過しながら軸方向に対して直角方向に移動することで、動力線21とコイル線22が当接している位置に接近して、動力線21とコイル線22の超音波溶接を行う加工治具13と、を備える。
【選択図】図1
特許請求の範囲
【請求項1】
ステータに用いられる動力線とコイル線の溶接を行う溶接装置であって、
前記ステータの軸方向に対して直角方向に動作することで、前記動力線の一端部の上方に配されることにより、前記動力線の下方に配されたセット治具との間で、前記動力線を前記軸方向に挟み込んで固定するクランパーと、
前記クランパーの上方を通過しながら前記軸方向に対して直角方向に移動し、前記動力線とコイル線が当接している位置に接近して、前記動力線と前記コイル線の超音波溶接を行う加工治具と、を備える、
溶接装置。
発明の詳細な説明
【技術分野】
【0001】
本開示は、動力線の溶接装置に関する。
続きを表示(約 1,200 文字)
【背景技術】
【0002】
近年、ステータの加工において、超音波を利用してコイル線と動力線とを接合する超音波接合が行われている。
【0003】
一例として、この超音波接合では、端子部上に動力線の一部を配した状態で、クランパーを上方から下降させ、クランパーを動力線に当接させて押圧することにより、端子部上に動力線を固定する。そして、加工治具は、コイル線とクランパーにより固定されている動力線を、端子部とは異なる位置である接合部において溶接する。
【先行技術文献】
【特許文献】
【0004】
特開2022-036557号公報
【発明の概要】
【発明が解決しようとする課題】
【0005】
しかしながら、一般に超音波接合を行う際には、加工治具が横方向に移動して接合部に接近する状態となる。このとき、加工治具が移動する軌道上に、端子部で動力線を上方向から押圧しているクランパーが配される状態となる場合があり、クランパーと加工治具が干渉することが考えられる。
【0006】
本開示は、クランパーと加工治具の干渉の発生を抑制した溶接装置を提供するものである。
【課題を解決するための手段】
【0007】
本開示にかかる溶接装置は、ステータに用いられる動力線とコイル線の溶接を行う溶接装置であって、前記ステータの軸方向に対して直角方向に動作することで、前記動力線の一端部の上方に配されることにより、前記動力線の下方に配されたセット治具との間で、前記動力線を前記軸方向に挟み込んで固定するクランパーと、前記クランパーの上方を通過しながら前記軸方向に対して直角方向に移動し、前記動力線とコイル線が当接している位置に接近して、前記動力線と前記コイル線の超音波溶接を行う加工治具と、を備える。
これにより、加工治具の移動経路上にクランパーが配されていない状態で溶接を実行できる。
【発明の効果】
【0008】
本開示よれば、クランパーと加工治具の干渉の発生を抑制した溶接装置を提供することができる。
【図面の簡単な説明】
【0009】
実施の形態1にかかる溶接装置の構成と動力線の例を示す図である。
実施の形態1にかかる溶接工程における溶接装置の状態の一部を示す図である。
実施の形態1にかかる溶接フローの一例を示す図である。
【発明を実施するための形態】
【0010】
実施の形態1
以下、図面を参照して本実施の形態に係る溶接装置について説明する。溶接装置1は、ステータ2に利用されている動力線21とコイル線22の超音波接合を行うための装置である。以下では、溶接装置1によって動力線21が固定される箇所を端子部21a、動力線21がコイル線22に対して超音波接合される箇所を接合部21bとして説明する。
(【0011】以降は省略されています)
この特許をJ-PlatPat(特許庁公式サイト)で参照する
関連特許
トヨタ自動車株式会社
車両
29日前
トヨタ自動車株式会社
電池
1か月前
トヨタ自動車株式会社
方法
1か月前
トヨタ自動車株式会社
車両
27日前
トヨタ自動車株式会社
車両
1か月前
トヨタ自動車株式会社
車両
13日前
トヨタ自動車株式会社
電池
1か月前
トヨタ自動車株式会社
車両
22日前
トヨタ自動車株式会社
車両
24日前
トヨタ自動車株式会社
電池
1か月前
トヨタ自動車株式会社
装置
23日前
トヨタ自動車株式会社
電池
3日前
トヨタ自動車株式会社
装置
23日前
トヨタ自動車株式会社
車両
1か月前
トヨタ自動車株式会社
車両
1か月前
トヨタ自動車株式会社
車両
1か月前
トヨタ自動車株式会社
車両
3日前
トヨタ自動車株式会社
電動車
1日前
トヨタ自動車株式会社
サーバ
7日前
トヨタ自動車株式会社
ロータ
1日前
トヨタ自動車株式会社
回転子
14日前
トヨタ自動車株式会社
モータ
14日前
トヨタ自動車株式会社
電動車
13日前
トヨタ自動車株式会社
制御装置
3日前
トヨタ自動車株式会社
蓄電装置
27日前
トヨタ自動車株式会社
制御装置
27日前
トヨタ自動車株式会社
蓄電装置
3日前
トヨタ自動車株式会社
電動車両
13日前
トヨタ自動車株式会社
蓄電セル
1か月前
トヨタ自動車株式会社
溶接装置
27日前
トヨタ自動車株式会社
蓄電装置
3日前
トヨタ自動車株式会社
制御装置
29日前
トヨタ自動車株式会社
蓄電装置
29日前
トヨタ自動車株式会社
制御装置
1か月前
トヨタ自動車株式会社
検査装置
3日前
トヨタ自動車株式会社
送電装置
1か月前
続きを見る
他の特許を見る