TOP
|
特許
|
意匠
|
商標
特許ウォッチ
Twitter
他の特許を見る
公開番号
2025142459
公報種別
公開特許公報(A)
公開日
2025-10-01
出願番号
2024041817
出願日
2024-03-18
発明の名称
電動車
出願人
トヨタ自動車株式会社
代理人
弁理士法人アイテック国際特許事務所
主分類
B60L
3/00 20190101AFI20250924BHJP(車両一般)
要約
【課題】副駆動用のモータより先に主駆動用のモータに駆動制限が課されるのを抑制する。
【解決手段】電動車は、副駆動用の第1モータを有する第1駆動装置と、第1モータを駆動する第1駆動回路と、第1駆動装置を冷却する第1冷却装置と、主駆動用の第2モータを有する第2駆動装置と、第2モータを駆動する第2駆動回路と、第2駆動装置を冷却する第2冷却装置と、第1駆動回路、第2駆動回路、第2冷却装置、第1冷却装置の順に熱交換媒体を循環させる第3冷却装置と、制御装置とを備える。制御装置は、第1冷却媒体の温度と第1所定温度との差分としての第1余裕温度と第3冷却媒体の第1冷却装置における温度と第3所定温度との差分としての第3余裕温度とに基づいて第1熱交換媒体の循環量を調整する。
【選択図】図2
特許請求の範囲
【請求項1】
副駆動用の第1モータを有する第1駆動装置と、
前記第1モータを駆動する第1駆動回路と、
第1熱交換媒体を用いて第1駆動装置を冷却する第1冷却装置と、
主駆動用の第2モータを有する第2駆動装置と、
前記第2モータを駆動する第2駆動回路と、
第2熱交換媒体を用いて前記第2駆動装置を冷却する第2冷却装置と、
前記第1駆動回路、前記第2駆動回路、前記第2冷却装置、前記第1冷却装置の順に第3熱交換媒体を循環させる第3冷却装置と、
前記第1冷却装置と前記第2冷却装置と第3冷却装置と前記第1モータと前記第2モータとを制御する制御装置と、
を備える電動車であって、
前記制御装置は、前記第1冷却媒体の温度と第1所定温度との差分としての第1余裕温度と前記第3冷却媒体の前記第1冷却装置における温度と第3所定温度との差分としての第3余裕温度とに基づいて前記第1熱交換媒体の循環量を調整する、
ことを特徴とする電動車。
続きを表示(約 800 文字)
【請求項2】
請求項1記載の電動車であって、
前記制御装置は、前記第1余裕温度が小さいほど前記第1熱交換媒体の循環量が多くなるように且つ前記第3余裕温度が小さいほど前記第1熱交換媒体の循環量が多くなるように制御する、
電動車。
【請求項3】
請求項1記載の電動車であって、
前記制御装置は、前記第1冷却媒体の温度が第1所定温度以上のとき又は前記第3冷却媒体の温度が前記第3所定温度以上のときには前記第1モータに駆動制限を課す、
電動車。
【請求項4】
請求項3記載の電動車であって、
前記制御装置は、前記第1冷却媒体の温度が前記第1所定温度より高い第1特定温度以上のとき又は前記第3冷却媒体の前記第1冷却装置における温度が前記第3所定温度より高い第3特定温度以上のときには前記第1駆動装置の駆動力をカットする、
電動車。
【請求項5】
請求項1ないし4のうちのいずれか1つの請求項に記載の電動車であって、
前記制御装置は、前記第2冷却媒体の温度と第2所定温度との差分としての第2余裕温度と前記第3冷却媒体の前記第2冷却装置における温度との差分としての第4余裕温度とに基づいて前記第2熱交換媒体の循環量を制御する、
電動車。
【請求項6】
請求項5記載の電動車であって、
前記制御装置は、前記第2余裕温度が小さいほど前記第2熱交換媒体の循環量が多くなるように且つ前記第3余裕温度が小さいほど前記第2熱交換媒体の循環量が多くなるように調整する、
電動車。
【請求項7】
請求項5記載の電動車であって、
前記制御装置は、前記第2冷却媒体の温度が前記第2所定温度以上のときには前記第2モータに駆動制限を課す、
電動車。
発明の詳細な説明
【技術分野】
【0001】
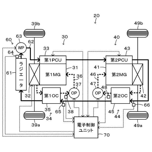
本開示は、電動車に関し、詳しくは、2つのモータとこの2つのモータを駆動する2つのインバータと2つのモータおよび2つのインバータを冷却する冷却装置とを搭載する電動車に関する。
続きを表示(約 2,300 文字)
【背景技術】
【0002】
従来、この種の電動車としては、モータと、モータを冷却するオイルクーラーと、モータを駆動するインバータと、オイルクーラーとインバータとを冷却する冷却装置とを備えるものが提案されている(例えば、特許文献1参照)。この車両の冷却装置では、ラジエータで冷却した熱交換媒体をインバータ、オイルクーラの順に流し、インバータの温度または熱交換媒体の温度に基づいてオイルクーラーのオイルの循環の開始、増加、減少、停止などの制御を行なっている。
【先行技術文献】
【特許文献】
【0003】
特開2019-129632号公報
【発明の概要】
【発明が解決しようとする課題】
【0004】
主駆動用の後輪駆動用のモータと副駆動用の前輪駆動用のモータとを備える電動車では、後輪駆動用のモータを冷却するオイルクーラやこのモータを駆動するインバータを後輪駆動用のモータの近傍に配置し、前輪駆動用のモータを冷却するオイルクーラやこのモータを駆動するインバータを前輪駆動用のモータの近傍に配置する。そして、これらを冷却する場合、ラジエータにより冷却された熱交換媒体を前輪駆動用のモータを駆動するインバータ、後輪駆動用のモータを駆動するインバータ、後輪駆動用のモータを冷却するオイルクーラー、前輪駆動用のモータを冷却するオイルクーラーの順に循環させることが行なわれる。この場合、前輪駆動用のモータを冷却するオイルクーラーのオイル循環量の調整によっては、後輪駆動用のモータを駆動するインバータや後輪駆動用のモータを冷却するオイルクーラーの過熱により、主駆動用の後輪駆動用のモータが副駆動用の前輪駆動用のモータより先に出力トルクを制限する場合が生じ、ドライブフィールが悪化してしまう。
【0005】
本開示の電動車は、副駆動用のモータより先に主駆動用のモータに駆動制限が課されるのを抑制することを主目的とする。
【課題を解決するための手段】
【0006】
本開示の電動車は、上述の主目的を達成するために以下の手段を採った。
【0007】
本開示の電動車は、
副駆動用の第1モータを有する第1駆動装置と、
前記第1モータを駆動する第1駆動回路と、
第1熱交換媒体を用いて第1駆動装置を冷却する第1冷却装置と、
主駆動用の第2モータを有する第2駆動装置と、
前記第2モータを駆動する第2駆動回路と、
第2熱交換媒体を用いて前記第2駆動装置を冷却する第2冷却装置と、
前記第1駆動回路、前記第2駆動回路、前記第2冷却装置、前記第1冷却装置の順に第3熱交換媒体を循環させる第3冷却装置と、
前記第1冷却装置と前記第2冷却装置と第3冷却装置と前記第1モータと前記第2モータとを制御する制御装置と、
を備える電動車であって、
前記制御装置は、前記第1冷却媒体の温度と第1所定温度との差分としての第1余裕温度と前記第3冷却媒体の前記第1冷却装置における温度と第3所定温度との差分としての第3余裕温度とに基づいて前記第1熱交換媒体の循環量を調整する、
ことを特徴とする。
【0008】
本開示の電動車では、第3冷却装置は、副駆動用の第1モータを駆動する第1駆動回路、主駆動用の第2モータを駆動する第2駆動回路、第2熱交換媒体を用いて第2モータを有する第2駆動装置を冷却する第2冷却装置、第1熱交換媒体を用いて第1モータを有する第1駆動装置を冷却する第1冷却装置の順に第3熱交換媒体を循環させる。制御装置は、第1冷却媒体の温度と第1所定温度との差分としての第1余裕温度と第3冷却媒体の第1冷却装置における温度と第3所定温度との差分としての第3余裕温度とに基づいて第1熱交換媒体の循環量を調整する。第1所定温度と第1熱交換媒体の調整をより適正に行なうことにより、副駆動用の第1モータの駆動制限を主駆動用の第2モータより先に行なうことが可能となる。これにより、副駆動用の第1モータより先に主駆動用の第2モータに駆動制限が課されるのを抑制することができる。ここで、第1所定温度および第3所定温度は、第1モータに駆動制限を課す下限温度を用いることができる。
【0009】
本開示の電動車において、前記制御装置は、前記第1余裕温度が小さいほど前記第1熱交換媒体の循環量が多くなるように且つ前記第3余裕温度が小さいほど前記第1熱交換媒体の循環量が多くなるように制御するものとしてもよい。第1余裕温度が小さいほど第1モータの冷却を行なう必要が高くなり、第3余裕温度が小さいほど第1モータの冷却を行なう必要が高くなることに基づく。
【0010】
本開示の電動車において、前記制御装置は、前記第1冷却媒体の温度が第1所定温度以上のとき又は前記第3冷却媒体の温度が前記第3所定温度以上のときには前記第1モータに駆動制限を課すものとっしてもよい。このように副駆動用の第1モータに駆動制限を課すことにより、主駆動用の第2モータへの駆動制限を遅くすることができる。この場合、前記制御装置は、前記第1冷却媒体の温度が前記第1所定温度より高い第1特定温度以上のとき又は前記第3冷却媒体の前記第1冷却装置における温度が前記第3所定温度より高い第3特定温度以上のときには前記第1駆動装置の駆動力をカットするものとしてもよい。こうすれば、主駆動用の第2モータの駆動制限を遅くしたり緩和することができる。
(【0011】以降は省略されています)
この特許をJ-PlatPat(特許庁公式サイト)で参照する
関連特許
個人
カーテント
4か月前
個人
タイヤレバー
2か月前
個人
前輪キャスター
2か月前
個人
上部一体型自動車
22日前
個人
タイヤ脱落防止構造
1か月前
個人
ルーフ付きトライク
2か月前
個人
ホイルのボルト締結
3か月前
個人
車両通過構造物
2か月前
個人
マスタシリンダ
29日前
井関農機株式会社
作業車両
4か月前
個人
キャンピングトライク
4か月前
日本精機株式会社
表示装置
2か月前
日本精機株式会社
表示装置
2か月前
日本精機株式会社
表示装置
2か月前
井関農機株式会社
作業車両
4か月前
日本精機株式会社
表示装置
2か月前
個人
アクセルのソフトウェア
4か月前
個人
車両用スリップ防止装置
4か月前
個人
常設収納型サンバイザー
1日前
個人
キャンピングトレーラー
4か月前
個人
乗合路線バスの客室装置
3か月前
日本精機株式会社
車載表示装置
1か月前
日本精機株式会社
車載表示装置
3日前
日本精機株式会社
車室演出装置
1か月前
日本精機株式会社
車載表示装置
3か月前
株式会社豊田自動織機
産業車両
2か月前
日本精機株式会社
画像投映装置
18日前
個人
円湾曲ホイール及び球体輪
3か月前
株式会社ニフコ
収納装置
1か月前
株式会社ニフコ
照明装置
2か月前
個人
車載小物入れ兼雨傘収納具
3か月前
個人
音声ガイド、音声サービス
3か月前
株式会社ニフコ
保持装置
3か月前
井関農機株式会社
作業車両
4か月前
極東開発工業株式会社
車両
2か月前
日本精機株式会社
車両用投影装置
4か月前
続きを見る
他の特許を見る