TOP
|
特許
|
意匠
|
商標
特許ウォッチ
Twitter
他の特許を見る
公開番号
2025140066
公報種別
公開特許公報(A)
公開日
2025-09-29
出願番号
2024039227
出願日
2024-03-13
発明の名称
蓄電装置
出願人
トヨタ自動車株式会社
,
トヨタバッテリー株式会社
代理人
弁理士法人深見特許事務所
主分類
H01M
50/271 20210101AFI20250919BHJP(基本的電気素子)
要約
【課題】セル連結体を収容するケースを備える蓄電装置を製造しやすくする。
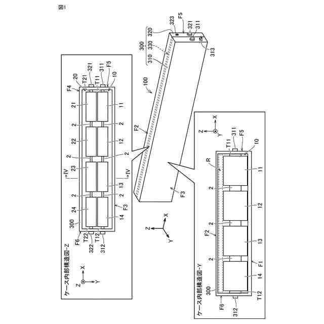
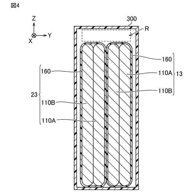
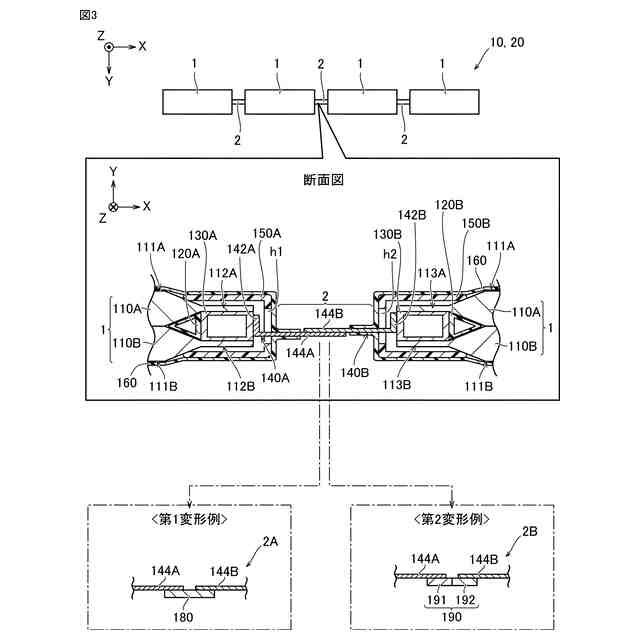
【解決手段】蓄電装置(電池100)が、ケース300を備える。ケース300は、ケース300を開閉させるヒンジ部330を備える。ケース300は、セル連結体(セル連結体10,20)を収容している。セル連結体は、複数の蓄電セル(セル連結体10における蓄電セル11~14、セル連結体20における蓄電セル21~24)と、蓄電セル同士を電気的につなぐ接続部(セル連結体10または20において隣り合う蓄電セル間の接続部2)とを含む。
【選択図】図1
特許請求の範囲
【請求項1】
ケースを備える蓄電装置であって、
前記ケースは、当該ケースを開閉させるヒンジ部を備え、
前記ケースは、セル連結体を収容しており、
前記セル連結体は、複数の蓄電セルと、前記蓄電セル同士を電気的につなぐ接続部とを含む、蓄電装置。
続きを表示(約 530 文字)
【請求項2】
前記ケースは、直方体形状を有し、
前記複数の蓄電セルは、第1方向に接続されており、
前記ケースは、前記第1方向に延びる第1面、第2面、第3面、および第4面と、前記第1方向の両端に位置する第5面および第6面とを有し、
前記第1面と前記第2面とは、前記第1方向に直交する第2方向に対向し、
前記第3面と前記第4面とは、前記第1方向および前記第2方向の各々に直交する第3方向に対向し、
前記第2面は、前記ヒンジ部を含み、
前記ケースは、前記ヒンジ部を介して接続される第1ケース部材および第2ケース部材を含み、
前記第1面は、前記第1ケース部材と前記第2ケース部材とが結合された結合部を含む、請求項1に記載の蓄電装置。
【請求項3】
前記ヒンジ部は、前記第2面において板厚が薄く形成された部分であり、前記第1方向に沿って形成されている、請求項2に記載の蓄電装置。
【請求項4】
前記結合部は、スナップフィット構造を有する、請求項2に記載の蓄電装置。
【請求項5】
前記ケースは、樹脂製のケースである、請求項1~4のいずれか1項に記載の蓄電装置。
発明の詳細な説明
【技術分野】
【0001】
本開示は、複数の蓄電セルを備える蓄電装置に関する。
続きを表示(約 1,300 文字)
【背景技術】
【0002】
特表2023-502457号公報(特許文献1)には、長さLが400mm~2500mmであり、かつ、幅Hに対する長さLの比率(L/H)が4~21である直方体状の電池(蓄電装置)が開示されている。
【先行技術文献】
【特許文献】
【0003】
特表2023-502457号公報
【発明の概要】
【発明が解決しようとする課題】
【0004】
特許文献1に記載された蓄電装置では、直列に接続されて一列に並ぶ複数の電極体セット(蓄電セル)がケース(ハウジング)内に配置されている。以下では、複数の蓄電セルが一列に接続された連結体を、「セル連結体」と称する。
【0005】
上記蓄電装置の製造においては、セル連結体をケースに入れることが求められる。例えば、ケース本体に設けられた開口部からセル連結体をケース本体内に入れた後、ケース本体の開口部を蓋材で塞ぎ、ケース本体と蓋材とを接合することが考えられる。こうした蓄電装置では、ケース本体と蓋材とが別々に用意される。このため、ケース本体に合っていない蓋材が用意されたり、ケース本体と蓋材とが位置ずれした状態で接合されたりすることなどが懸念される。
【0006】
本開示は、上記課題を解決するためになされたものであり、その目的は、セル連結体を収容するケースを備える蓄電装置を製造しやすくすることである。
【課題を解決するための手段】
【0007】
本開示の一形態に従うと、以下に示す蓄電装置が提供される。
【0008】
(第1項)当該蓄電装置は、ケースを備える。ケースは、当該ケースを開閉させるヒンジ部を備える。ケースは、セル連結体を収容している。セル連結体は、複数の蓄電セルと、蓄電セル同士を電気的につなぐ接続部とを含む。
【0009】
上記構成では、ケースがヒンジ部を備える。このため、ヒンジ部によってケースを開いた状態でセル連結体をケース内に入れた後、ヒンジ部によってケースを閉じることが可能になる。蓄電装置の製造過程において、ヒンジ部によってケースを開閉できるため、蓄電装置を製造しやすくなる。なお、ヒンジ部は、少なくとも蓄電装置の製造過程において機能すればよく、完成品においては、ケースが閉じた状態に固定されてもよい。
【0010】
(第2項)第1項に記載の蓄電装置は、ケースは、直方体形状を有する。複数の蓄電セルは、第1方向に接続されている。ケースは、第1方向に延びる第1面、第2面、第3面、および第4面と、第1方向の両端に位置する第5面および第6面とを有する。第1面と第2面とは、第1方向に直交する第2方向に対向する。第3面と第4面とは、第1方向および第2方向の各々に直交する第3方向に対向する。第2面は、ヒンジ部を含む。ケースは、ヒンジ部を介して接続される第1ケース部材および第2ケース部材を含む。第1面は、第1ケース部材と第2ケース部材とが結合された結合部を含む。
(【0011】以降は省略されています)
この特許をJ-PlatPat(特許庁公式サイト)で参照する
関連特許
トヨタ自動車株式会社
車両
1日前
トヨタ自動車株式会社
電動車
1日前
トヨタ自動車株式会社
電動車
1日前
トヨタ自動車株式会社
電動車
1日前
トヨタ自動車株式会社
切断装置
1日前
トヨタ自動車株式会社
蓄電セル
1日前
トヨタ自動車株式会社
シフト機構
1日前
トヨタ自動車株式会社
車両制御装置
1日前
トヨタ自動車株式会社
情報処理装置
1日前
トヨタ自動車株式会社
車両の制御装置
1日前
トヨタ自動車株式会社
車両運行管理装置
1日前
トヨタ自動車株式会社
ロボットの制御装置
1日前
トヨタ自動車株式会社
車両用乗員拘束装置
1日前
トヨタ自動車株式会社
エネルギー水中移送システム
1日前
豊田合成株式会社
乗員保護装置
1日前
トヨタ自動車株式会社
情報処理装置、方法、及びシステム
1日前
トヨタ自動車株式会社
情報処理装置、および、情報処理方法
1日前
株式会社豊田中央研究所
排ガス浄化触媒
1日前
トヨタ自動車株式会社
PIT線材で構成されているコイルの検査方法
1日前
トヨタ自動車株式会社
サーバ上のデータベースにおけるデータの匿名化
1日前
株式会社豊田中央研究所
精錬方法および精錬装置
1日前
トヨタ自動車株式会社
車両
1日前
トヨタ自動車株式会社
サーバ
1日前
トヨタ自動車株式会社
セキュアなCAN通信を提供するためのシステム及び方法
1日前
トヨタ自動車株式会社
オドメータ情報のセキュリティを向上させるシステム及び方法
1日前
トヨタ自動車株式会社
電極の製造方法
1日前
株式会社デンソー
マイクシステム
1日前
株式会社豊田中央研究所
半導体装置および半導体装置の製造方法
1日前
トヨタ自動車株式会社
車両制御装置、それを備えた車両および車両の制御方法
1日前
株式会社豊田中央研究所
電力供給システム及び電力供給システム内の燃料電池と二次電池の電力分配制御方法
1日前
個人
安全なNAS電池
29日前
日本発條株式会社
積層体
5日前
東レ株式会社
多孔質炭素シート
24日前
個人
フリー型プラグ安全カバー
1か月前
エイブリック株式会社
半導体装置
26日前
ローム株式会社
半導体装置
3日前
続きを見る
他の特許を見る