TOP
|
特許
|
意匠
|
商標
特許ウォッチ
Twitter
他の特許を見る
公開番号
2025145575
公報種別
公開特許公報(A)
公開日
2025-10-03
出願番号
2024045835
出願日
2024-03-22
発明の名称
PIT線材で構成されているコイルの検査方法
出願人
トヨタ自動車株式会社
代理人
弁理士法人明成国際特許事務所
主分類
G01R
31/00 20060101AFI20250926BHJP(測定;試験)
要約
【課題】コイルを構成するパウダー・イン・チューブ線材における粉末の充填が十分であるか否かの判定を行う。
【解決手段】パウダー・イン・チューブ線材で構成されているコイルの検査方法が提供される。この検査方法は、粉体が充填されているパウダー・イン・チューブ線材で構成されたコイルにパルス状の電圧を印加し、前記コイルに生じる電圧の振動波形に基づいて、前記コイルの前記パウダー・イン・チューブ線材における粉末の充填が十分であるか否かの判定を行う、検査方法である。
【選択図】図1
特許請求の範囲
【請求項1】
パウダー・イン・チューブ線材で構成されているコイルの検査方法であって、
粉体が充填されているパウダー・イン・チューブ線材で構成されたコイルにパルス状の電圧を印加し、
前記コイルに生じる電圧の振動波形に基づいて、前記コイルの前記パウダー・イン・チューブ線材における粉末の充填が十分であるか否かの判定を行う、検査方法。
発明の詳細な説明
【技術分野】
【0001】
本開示は、PIT線材で構成されているコイルの検査方法に関する。
続きを表示(約 2,000 文字)
【背景技術】
【0002】
従来、パウダー・イン・チューブ(Powder In Tube)線材と呼ばれる線材が存在する。特許文献1においては、Mg粉末とB粉末からなる混合粉末を、金属シース管に充填し、金属シース管の端末を封止して、パウダー・イン・チューブ線材である超電導単芯線材が製造される。なお、本明細書では、パウダー・イン・チューブ線材を、「PIT線材」とも表記する。
【先行技術文献】
【特許文献】
【0003】
特開2012-22951号公報
【発明の概要】
【発明が解決しようとする課題】
【0004】
超電導体ではない、銅やアルミニウムなどの導電体の粉末を使用してPIT線材が製造される場合がある。そのような態様においては、導電体の粉末の充填率が不十分であると、PIT線材の電気抵抗が増大する。その結果、PIT線材を使用する電気機器において、熱として失われるエネルギーの割合が増大する。たとえば、PIT線材で構成されているコイルを備えるモーターにおいては、モーターの効率が低下する。このため、導電体の粉末を使用したPIT線材において、粉末の充填が十分であるか否かを確認する方法が求められている。
【0005】
特許文献1においては、単芯線材のコア部の形状の調査の手法として、X線CTによる断面観察や渦電流法によるシース厚さ測定が言及されている。しかし、導体の厚みがある程度以上、厚い場合には、X線が導体を透過できない。このため、X線CTによるPIT線材の断面観察は行えない。また、渦電流法によるシース厚さ測定では、粉末の充填が十分であるか否かを確認することはできない。
【課題を解決するための手段】
【0006】
本開示は、以下の形態として実現することが可能である。
【0007】
本開示の一形態によれば、パウダー・イン・チューブ線材で構成されているコイルの検査方法が提供される。この検査方法は、粉体が充填されているパウダー・イン・チューブ線材で構成されたコイルにパルス状の電圧を印加し、前記コイルに生じる電圧の振動波形に基づいて、前記コイルの前記パウダー・イン・チューブ線材における粉末の充填が十分であるか否かの判定を行う、検査方法である。
このような態様において、パウダー・イン・チューブ線材における粉末の充填が不十分である場合には、パウダー・イン・チューブ線材において抵抗が大きくなるため、コイルの電圧の振動波形における減衰が大きくなる。よって、パルス状の電圧の印加によって生じる振動波形を、粉末の充填が十分である場合の電圧の振動波形と比較することにより、非破壊検査によって、コイルを構成するパウダー・イン・チューブ線材における粉末の充填が十分であるか否かの判定を行うことができる。
本開示は、パウダー・イン・チューブ線材で構成されているコイルの検査方法以外の種々の形態で実現することも可能である。例えば、パウダー・イン・チューブ線材で構成されているコイルの検査装置、パウダー・イン・チューブ線材で構成されているコイルを備えた電気機器の検査方法、上記の検査方法を実現するコンピュータプログラム、そのコンピュータプログラムを記録した一時的でない記録媒体等の形態で実現することができる。
【図面の簡単な説明】
【0008】
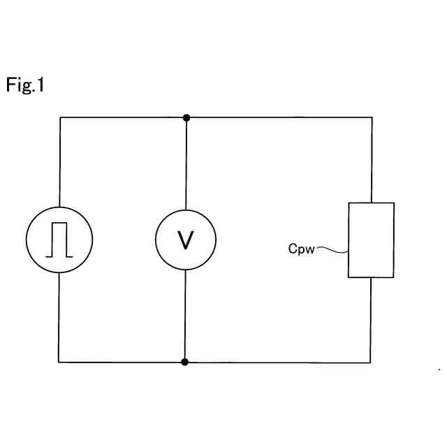
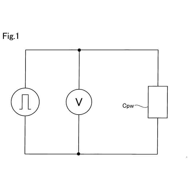
PIT線材で構成されているコイルの検査方法を実施するための回路構成を示す説明図である。
PIT線材で構成されているコイルの検査方法を示すフローチャートである。
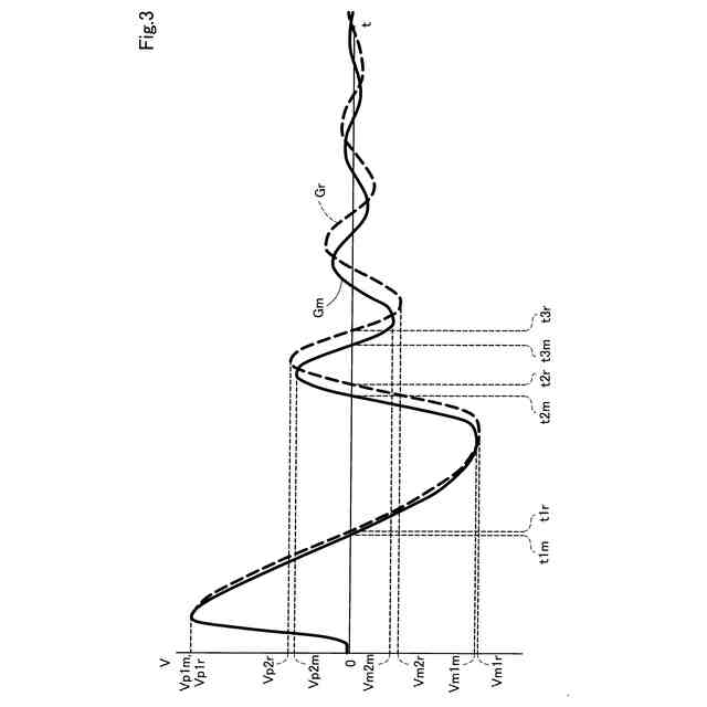
コイルCpwの両端の電圧の変化を示すグラフである。
【発明を実施するための形態】
【0009】
A.実施形態:
A1.コイルの検査方法:
図1は、PIT線材で構成されているコイルの検査方法を実施するための回路構成を示す説明図である。本実施形態において、コイルCpwを構成するPIT線材においては、絶縁体のチューブ内に銅の粉体が充填されている(図1の中段右部参照)。PIT線材で構成されているコイルCpwは、インダクタンス成分と、抵抗成分と、キャパシタンス成分と、を有する。コイルCpwは、インパルス電源に接続される(図1の中段左部参照)。コイルCpwと並列に、電圧計が接続される(図1の中段中央部参照)。
【0010】
図2は、PIT線材で構成されているコイルの検査方法を示すフローチャートである。ステップ100において、インパルス電源により、コイルCpwにパルス状の電圧が印加される(図1の中段左部参照)。電圧計により、コイルCpwの両端の電圧が測定される(図1の中段中央部参照)。
(【0011】以降は省略されています)
この特許をJ-PlatPat(特許庁公式サイト)で参照する
関連特許
個人
計量スプーン
25日前
日本精機株式会社
位置検出装置
3日前
日本精機株式会社
位置検出装置
3日前
日本精機株式会社
位置検出装置
3日前
大和製衡株式会社
組合せ秤
8日前
大和製衡株式会社
組合せ秤
8日前
アズビル株式会社
圧力センサ
2日前
株式会社東芝
センサ
8日前
アンリツ株式会社
分光器
1か月前
アンリツ株式会社
分光器
1か月前
株式会社東芝
センサ
8日前
ダイハツ工業株式会社
測定用具
29日前
トヨタ自動車株式会社
検査装置
5日前
トヨタ自動車株式会社
表示装置
17日前
エイブリック株式会社
磁気センサ回路
2日前
株式会社ユーシン
操作検出装置
5日前
株式会社ナリス化粧品
角層細胞採取用具
15日前
TDK株式会社
磁気センサ
25日前
個人
粘塑性を用いた有限要素法の定式化
17日前
株式会社東芝
重量測定装置
1日前
TDK株式会社
ガスセンサ
2日前
株式会社ヨコオ
コンタクタ
29日前
TDK株式会社
磁気センサ
1か月前
TDK株式会社
ガスセンサ
1日前
東レエンジニアリング株式会社
計量装置
5日前
三菱マテリアル株式会社
温度センサ
15日前
株式会社熊谷組
RI計測装置
3日前
成田空港給油施設株式会社
保持治具
16日前
国立大学法人京都大学
バイオセンサ
1か月前
株式会社関電工
検相器用治具
23日前
TDK株式会社
磁気計測装置
16日前
大陽日酸株式会社
液面センサ
1か月前
中国電力株式会社
異常箇所検出装置
16日前
個人
材料特性パラメータの算定方法
25日前
富士電機株式会社
エンコーダ
2日前
三菱マテリアル株式会社
温度センサ
15日前
続きを見る
他の特許を見る