TOP
|
特許
|
意匠
|
商標
特許ウォッチ
Twitter
他の特許を見る
公開番号
2025146697
公報種別
公開特許公報(A)
公開日
2025-10-03
出願番号
2025025038
出願日
2025-02-19
発明の名称
オドメータ情報のセキュリティを向上させるシステム及び方法
出願人
トヨタ自動車株式会社
代理人
個人
,
個人
,
個人
,
個人
,
個人
,
個人
主分類
B60K
35/29 20240101AFI20250926BHJP(車両一般)
要約
【課題】車両に関するオドメータ情報のセキュリティの向上を提供すること。
【解決手段】本実施形態によれば、オドメータ情報のセキュリティを向上させる方法が提供される。車両に実装されたシステムによって行われ得る方法は、オドメータ電子コントローラユニット(ECU)から1つ以上のオドメータ情報を取得することと、1つ以上のオドメータ情報を車載インフォテインメント(IVI)ECUに記憶することと、使用テーブルを取得することと、使用テーブルにおいて定められた境界条件が満たされるかどうかを決定することと、境界条件が満たされるという決定に基づいて、使用テーブルに基づいて1つ以上のオドメータ情報を電子ヒューズに記憶することと、を含み得る。
【選択図】図1
特許請求の範囲
【請求項1】
オドメータ情報のセキュリティを向上させるために車両に実装されたシステムの少なくとも1つのプロセッサによって行われる方法であって、
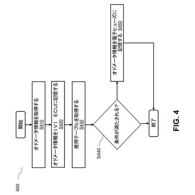
オドメータ電子コントローラユニット(ECU)から1つ以上のオドメータ情報を取得することと、
前記1つ以上のオドメータ情報を車載インフォテインメント(IVI)ECUに記憶することと、
使用テーブルを取得することと、
前記使用テーブルにおいて定められた境界条件が満たされるかどうかを決定することと、
前記境界条件が満たされるという決定に基づいて、前記使用テーブルに基づいて前記1つ以上のオドメータ情報を電子ヒューズに記憶することと、
を含む、方法。
続きを表示(約 1,500 文字)
【請求項2】
前記IVI ECUへの前記1つ以上のオドメータ情報の前記記憶は、
既定のサイクルに従って前記1つ以上のオドメータ情報を前記IVI ECUに定期的に記憶することと、
を含む、請求項1に記載の方法。
【請求項3】
前記境界条件は、最小移動距離を備え、前記境界条件が満たされるかどうかに関する前記決定は、
前記車両が点火オフ(IG-OFF)状態に入ったかどうかを決定することと、
前記車両が前記IG-OFF状態に入ったという決定に基づいて、前記車両が移動した距離が前記最小移動距離を満たしたかどうか決定することと、
前記車両が移動した前記距離が前記最小移動距離以上であるという決定に基づいて、前記境界条件が満たされることを決定することと、
前記車両が移動した前記距離が前記最小移動距離よりも短いという決定に基づいて、前記境界条件が満たされないことを決定することと、
を含む、請求項1又は2に記載の方法。
【請求項4】
前記使用テーブルは、指数増加率に基づく複数のマッピングを備える指数増加ベースの使用テーブルであって、前記マッピングの各々は、前記車両が移動した距離と、前記1つ以上のオドメータ情報を前記電子ヒューズに記憶する、関連付けられるタイミングと、を備える、請求項1又は2に記載の方法。
【請求項5】
前記電子ヒューズへの前記1つ以上のオドメータ情報の前記記憶は、
前記車両が移動した前記距離に基づいて、前記複数のマッピングの中からマッピングを選択することと、
提供されている前記選択されたマッピングに基づいて、前記1つ以上のオドメータ情報を前記電子ヒューズに記憶するタイミングを決定することと、
前記決定されたタイミングに従って前記1つ以上のオドメータ情報を前記電子ヒューズに記憶することと、
を含む、請求項4に記載の方法。
【請求項6】
前記車両の使用が既定の期間を超えたかどうかを決定することと、
前記車両の前記使用が前記既定の期間を超えたという決定に基づいて、傾斜線分析を行って前記車両の現在の使用傾向を決定することと、
前記現在の使用傾向に基づいて前記使用テーブルを更新することと、
を更に含む、請求項1又は2に記載の方法。
【請求項7】
前記車両が点火オン(IG-ON)状態に入ったかどうかを決定することと、
前記車両が前記IG-ON状態に入ったという決定に基づいて、前記IVI ECUに記憶された前記1つ以上のオドメータ情報を、前記電子ヒューズに記憶された前記1つ以上のオドメータ情報と比較することと、
前記IVI ECUに記憶された前記1つ以上のオドメータ情報が、前記電子ヒューズに記憶された前記1つ以上のオドメータ情報とは異なるという決定に基づいて、1つ以上の車両動作を開始することと、
を更に含む、請求項1又は2に記載の方法。
【請求項8】
前記1つ以上の車両動作は、
前記車両の運転者に通知するようにメッセージを表示することを含む、請求項7に記載の方法。
【請求項9】
前記1つ以上の車両動作は、
エンジンのイモビライザに対して、前記車両の前記エンジンの1つ以上の動作を無効にするように命令することを含む、請求項7に記載の方法。
【請求項10】
前記電子ヒューズは、パワートレインECUに関連付けられる電子ヒューズ及びエンジンECUに関連付けられる電子ヒューズのうちの1つ以上を備える、請求項1又は2に記載の方法。
(【請求項11】以降は省略されています)
発明の詳細な説明
【技術分野】
【0001】
本開示の例示的な実施形態は、車両システムに関し、より具体的には、車両システムにおけるオドメータ情報のセキュリティの向上に関する。
続きを表示(約 1,600 文字)
【背景技術】
【0002】
オドメータは、車両が移動した距離に関連付けられる情報を測定及び表示するために車両において利用されるデバイス又はシステムである。オドメータは、車両の使用、メンテナンススケジュール、及び可能性のあるリセールバリューに関する情報を提供する。
【0003】
最近の車両では、オドメータ情報は通常、オドメータECUなどの単一の電子制御ユニット(ECU)によって管理され当該ECUに記憶される。このような慣行は、人が容易にオドメータECUにアクセスしてオドメータECUを制御し(例えば、ECUを置き換えること、ECUを修正することなどを行い)オドメータ情報を操作し得るため、オドメータ情報のセキュリティの観点で脆弱である。例えば、記録された移動距離は、悪意のある(例えば、信用している顧客に車両をより高い価格で再販することなどの)目的でゼロ又は何らかの他の任意の数にリセットされ得る。
【0004】
上記を考慮して、関連技術におけるオドメータ情報管理は、オドメータ詐欺に対して脆弱であって、オドメータ情報のセキュリティを向上させる必要がある。
【発明の概要】
【0005】
本開示と整合する例示的な実施形態は、オドメータ情報のセキュリティの向上を効果的で効率的に提供する。
【0006】
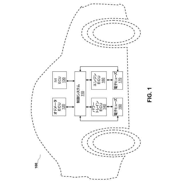
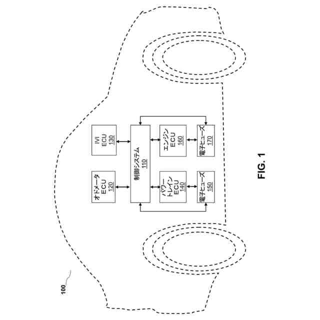
例示的な実施形態によれば、オドメータ情報のセキュリティを向上させる方法が提供される。方法は、車両に実装されたシステムによって行われ得、オドメータECUから1つ以上のオドメータ情報を取得することと、1つ以上のオドメータ情報を車載インフォテインメント(IVI)ECUに記憶することと、使用テーブルを取得することと、使用テーブルにおいて定められた境界条件が満たされるかどうかを決定することと、境界条件が満たされるという決定に基づいて、使用テーブルに基づいて1つ以上のオドメータ情報を電子ヒューズに記憶することと、を含み得る。
【0007】
実施形態によれば、オドメータ情報のセキュリティを向上させるために車両に実装されたシステムが提供される。システムは、コンピュータ実行可能命令を記憶するように構成されたメモリストレージと、メモリストレージに対して通信可能に接続された少なくとも1つのプロセッサと、を含み得る。少なくとも1つのプロセッサは、オドメータECUから1つ以上のオドメータ情報を取得し、1つ以上のオドメータ情報をIVI ECUに記憶し、使用テーブルを取得し、使用テーブルにおいて定められた境界条件が満たされるかどうかを決定し、境界条件が満たされるという決定に基づいて、使用テーブルに基づいて1つ以上のオドメータ情報を電子ヒューズに記憶するように構成され得る。
【0008】
追加の態様は、部分的に以下の説明で記載されて部分的に当該説明から明らかになるか、又は本開示の提示される実施形態の実施によって実現され得る。
【図面の簡単な説明】
【0009】
本開示の好ましい実施形態の機能、利点、及び重要性は、添付図面を参照して以下に記載され、当該添付図面では、同様の参照番号は、同様の要素を示す。
【0010】
1つ以上の例示的な実施形態に係る、車両の例示的な構成要素の図を示す図である。
1つ以上の例示的な実施形態に係る、例示的な使用テーブルを示す図である。
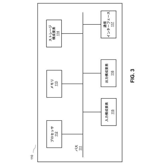
1つ以上の例示的な実施形態に係る、制御システムにおける例示的な構成要素のブロック図を示す図である。
1つ以上の例示的な実施形態に係る、オドメータ情報のセキュリティを向上させる方法のフロー図を示す図である。
【発明を実施するための形態】
(【0011】以降は省略されています)
この特許をJ-PlatPat(特許庁公式サイト)で参照する
関連特許
トヨタ自動車株式会社
車両
1日前
トヨタ自動車株式会社
車両
5日前
トヨタ自動車株式会社
車両
1日前
トヨタ自動車株式会社
電動車
3日前
トヨタ自動車株式会社
電動車
1日前
トヨタ自動車株式会社
ロータ
3日前
トヨタ自動車株式会社
電動車
1日前
トヨタ自動車株式会社
回転子
1日前
トヨタ自動車株式会社
電解液
1日前
トヨタ自動車株式会社
電動車
1日前
トヨタ自動車株式会社
切断装置
1日前
トヨタ自動車株式会社
育苗装置
2日前
トヨタ自動車株式会社
蓄電装置
2日前
トヨタ自動車株式会社
駆動装置
1日前
トヨタ自動車株式会社
蓄電装置
2日前
トヨタ自動車株式会社
制御装置
5日前
トヨタ自動車株式会社
電動車両
1日前
トヨタ自動車株式会社
制御装置
1日前
トヨタ自動車株式会社
蓄電装置
1日前
トヨタ自動車株式会社
蓄電装置
3日前
トヨタ自動車株式会社
蓄電装置
5日前
トヨタ自動車株式会社
電源装置
1日前
トヨタ自動車株式会社
蓄電セル
1日前
トヨタ自動車株式会社
塗布装置
3日前
トヨタ自動車株式会社
蓄電セル
3日前
トヨタ自動車株式会社
蓄電セル
3日前
トヨタ自動車株式会社
高圧タンク
5日前
トヨタ自動車株式会社
電気自動車
1日前
トヨタ自動車株式会社
電池パック
1日前
トヨタ自動車株式会社
積層構造体
1日前
トヨタ自動車株式会社
電極積層体
2日前
トヨタ自動車株式会社
電気自動車
3日前
トヨタ自動車株式会社
シフト機構
1日前
トヨタ自動車株式会社
充電システム
1日前
トヨタ自動車株式会社
駐車支援方法
1日前
トヨタ自動車株式会社
コネクタ構造
1日前
続きを見る
他の特許を見る