TOP
|
特許
|
意匠
|
商標
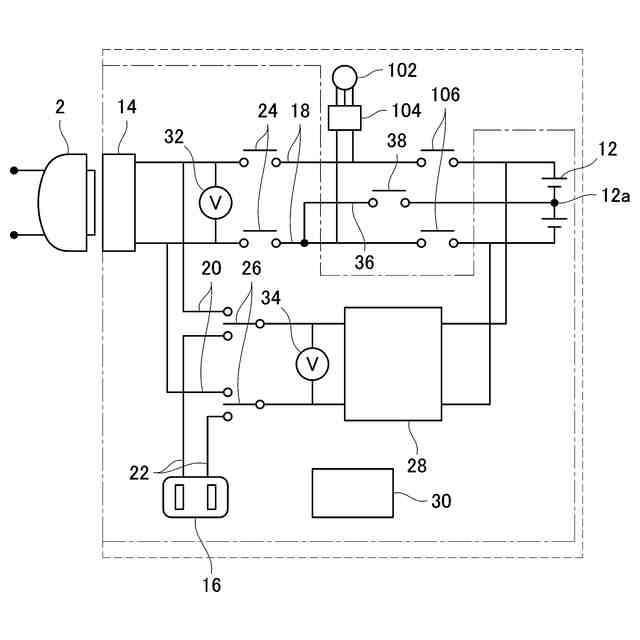
特許ウォッチ
Twitter
他の特許を見る
公開番号
2025145355
公報種別
公開特許公報(A)
公開日
2025-10-03
出願番号
2024045477
出願日
2024-03-21
発明の名称
充電システム
出願人
トヨタ自動車株式会社
代理人
弁理士法人 快友国際特許事務所
主分類
B60L
3/00 20190101AFI20250926BHJP(車両一般)
要約
【課題】交流充電インレットと直流充電インレットとが共通化された充電システムにおいて、簡便な構成により、リレーの固着を検出する。
【解決手段】充電システムは、バッテリと、外部の充電電源が着脱可能な充電インレットと、直流充電経路と、交流充電経路と、第1リレーと、第2リレーと、第1電圧センサと、制御装置とを備える。制御装置は、第2リレーの固着検出処理を実行可能に構成されている。固着検出処理は、少なくとも第2リレーに開放指令を与える処理と、直流充電経路及び交流充電経路の一方をバッテリから電気的に遮断しつつ、その他方を介してバッテリから第2リレーに電圧を印加する処理と、電圧を印加する処理の実行中に、第1電圧センサによる検出電圧と第2電圧センサによる検出電圧との差が所定の範囲内にあるときに、第2リレーが固着していると判定する処理と、を含む。
【選択図】図2
特許請求の範囲
【請求項1】
バッテリと、
外部の充電電源が着脱可能な充電インレットと、
前記バッテリと前記充電インレットとの間を接続する直流充電経路と、
前記バッテリと前記充電インレットとの間を電力変換器を介して接続するとともに、前記直流充電経路に並列に接続された交流充電経路と、
前記直流充電経路に設けられ、前記充電インレットに対して前記バッテリを電気的に接続及び遮断する第1リレーと、
前記交流充電経路に設けられ、前記充電インレットに対して前記電力変換器を電気的に接続及び遮断する第2リレーと、
前記直流充電経路において前記充電インレットと前記第1リレーとの間に設けられた第1電圧センサと、
前記交流充電経路において前記第2リレーと前記電力変換器との間に設けられた第2電圧センサと、
前記第1電圧センサ及び前記第2電圧センサに接続されているとともに、前記第1リレー、前記第2リレー及び前記電力変換器を制御する制御装置と、
を備え、
前記制御装置は、前記第2リレーの固着検出処理を実行可能に構成されており、
前記固着検出処理は、
少なくとも前記第2リレーに開放指令を与える処理と、
前記直流充電経路及び前記交流充電経路の一方を前記バッテリから電気的に遮断しつつ、その他方を介して前記バッテリから前記第2リレーに電圧を印加する処理と、
前記電圧を印加する処理の実行中に、前記第1電圧センサによる検出電圧と前記第2電圧センサによる検出電圧との差が所定の範囲内にあるときに、前記第2リレーが固着していると判定する処理と、
を含む、充電システム。
発明の詳細な説明
【技術分野】
【0001】
本明細書が開示する技術は、充電システムに関する。
続きを表示(約 2,600 文字)
【背景技術】
【0002】
特許文献1に、充電システムが記載されている。この充電システムは、バッテリと、交流充電インレットと、直流充電インレットと、バッテリと交流充電インレットとを接続する第1経路に設けられた第1リレーと、バッテリと直流充電インレットとを接続する第2経路に設けられた第2リレーと、第1リレー及び第2リレーの動作を制御する制御装置とを備える。
【0003】
上記のようなリレーは、寿命や、過大な電流が流れてリレーが溶着することで、リレーが閉成状態のままで動作不能となることがある。本明細書では、このようなリレーの異常を固着と表現する。この点に関して、特許文献1の制御装置は、第2リレーに開放指令を与えても、第2経路が通電状態のままであるときに、第2リレーが固着していると判定する。
【先行技術文献】
【特許文献】
【0004】
特開2015-95916号公報
【発明の概要】
【発明が解決しようとする課題】
【0005】
上記のような充電システムにおいて、交流充電インレットと直流充電インレットとが共通化されることがある。外部からの交流電力は、電力変換器によって直流電力に変換された後、バッテリに供給される。この電力変換器は、交流電源の電圧(例えば240V)を許容電圧値としており、それを超える直流電源の電圧(例えば800V)が、電力変換器に印加されることを回避する必要がある。この点に関して、直流電力をバッテリに供給する直流充電経路と、交流電力をバッテリに供給する交流充電経路との間にリレーを介在させることが考えられる。しかしながら、当該リレーが固着していると、電力変換器に直流電源の電圧が印加されるおそれがある。
【0006】
上記の実情を鑑み、本明細書は、交流充電インレットと直流充電インレットとが共通化された充電システムにおいて、簡便な構成により、リレーの固着を検出するための技術を提供する。
【課題を解決するための手段】
【0007】
本明細書が開示する技術は、充電システムに具現化される。この充電システムは、バッテリと、外部の充電電源が着脱可能な充電インレットと、前記バッテリと前記充電インレットとの間を接続する直流充電経路と、前記バッテリと前記充電インレットとの間を電力変換器を介して接続するとともに、前記直流充電経路に並列に接続された交流充電経路と、前記直流充電経路に設けられ、前記充電インレットに対して前記バッテリを電気的に接続及び遮断する第1リレーと、前記交流充電経路に設けられ、前記充電インレットに対して前記電力変換器を電気的に接続及び遮断する第2リレーと、前記直流充電経路において前記充電インレットと前記第1リレーとの間に設けられた第1電圧センサと、前記交流充電経路において前記第2リレーと前記電力変換器との間に設けられた第2電圧センサと、前記第1電圧センサ及び前記第2電圧センサに接続されているとともに、前記第1リレー、前記第2リレー及び前記電力変換器を制御する制御装置と、を備える。前記制御装置は、前記第2リレーの固着検出処理を実行可能に構成されている。前記固着検出処理は、少なくとも前記第2リレーに開放指令を与える処理と、前記直流充電経路及び前記交流充電経路の一方を前記バッテリから電気的に遮断しつつ、その他方を介して前記バッテリから前記第2リレーに電圧を印加する処理と、前記電圧を印加する処理の実行中に、前記第1電圧センサによる検出電圧と前記第2電圧センサによる検出電圧との差が所定の範囲内にあるときに、前記第2リレーが固着していると判定する処理と、を含む。
【0008】
上記した充電システムでは、制御装置によって、第2リレーの固着検出処理が実行される。この固着検出処理では、少なくとも第2リレーに開放指令が与えられた後、例えば、直流充電経路をバッテリから電気的に遮断しつつ、交流充電経路を介してバッテリから第2リレーに電圧が印加される。このとき、第2リレーが固着していると、交流充電経路に設けられた第2電圧センサは、第2リレーを介して、直流充電経路に設けられた第1電圧センサと電気的に接続された状態が維持される。そのため、第1電圧センサによる検出電圧と、第2電圧センサによる検出電圧とが概ね等しくなる。これに対して、第2リレーが固着していなければ、第1電圧センサと第2電圧センサとの間は、第2リレーによって電気的に遮断される。従って、第1電圧センサによる検出電圧と第2電圧センサによる検出電圧との間には、有意な差が生じるはずである。このことを踏まえて、上記した固着検出処理では、電圧を印加する処理の実行中に、第1電圧センサによる検出電圧と、第2電圧センサによる検出電圧との差が所定の範囲内にあるときに、第2リレーが固着していると判定する。このような構成によると、簡便な構成により、リレーの固着を検出することができる。同様に、交流充電経路をバッテリから電気的に遮断しつつ、直流充電経路を介してバッテリから第2リレーに電圧を印加しても、リレーの固着を検出することができる。
【0009】
上記した実施形態において、開放指令を与える処理は、第1リレーにも開放指令を与えてもよい。この場合、電圧を印加する処理は、電力変換器を作動させることにより、交流充電経路を介してバッテリから第2リレーに電圧を印加してもよい。このような構成によると、固着検出処理では、直流充電経路をバッテリから電気的に遮断しつつ、交流充電経路を介してバッテリから第2リレーに電圧が印加される。
【0010】
上記したいくつかの実施形態において、固着検出処理は、電圧を印加する処理の前に、第1リレーに閉成指令を与える処理をさらに含んでもよい。この場合、電圧印加する処理は、直流充電経路を介して、バッテリから第2リレーに電圧を印加してもよい。このような構成によると、固着検出処理では、交流充電経路をバッテリから電気的に遮断しつつ、直流充電経路を介してバッテリから第2リレーに電圧が印加される。
(【0011】以降は省略されています)
この特許をJ-PlatPat(特許庁公式サイト)で参照する
関連特許
トヨタ自動車株式会社
方法
2日前
トヨタ自動車株式会社
車両
15日前
トヨタ自動車株式会社
車両
3日前
トヨタ自動車株式会社
車両
16日前
トヨタ自動車株式会社
方法
3日前
トヨタ自動車株式会社
方法
2日前
トヨタ自動車株式会社
方法
11日前
トヨタ自動車株式会社
方法
11日前
トヨタ自動車株式会社
車両
10日前
トヨタ自動車株式会社
車両
2日前
トヨタ自動車株式会社
車両
1日前
トヨタ自動車株式会社
電池
1日前
トヨタ自動車株式会社
車両
8日前
トヨタ自動車株式会社
電池
17日前
トヨタ自動車株式会社
車体
4日前
トヨタ自動車株式会社
電池
8日前
トヨタ自動車株式会社
方法
1日前
トヨタ自動車株式会社
椅子
11日前
トヨタ自動車株式会社
飛行体
8日前
トヨタ自動車株式会社
正極層
1日前
トヨタ自動車株式会社
加熱器
15日前
トヨタ自動車株式会社
電磁弁
11日前
トヨタ自動車株式会社
電動車
11日前
トヨタ自動車株式会社
電動機
1日前
トヨタ自動車株式会社
モータ
3日前
トヨタ自動車株式会社
モータ
9日前
トヨタ自動車株式会社
固定子
16日前
トヨタ自動車株式会社
自動車
2日前
トヨタ自動車株式会社
二次電池
16日前
トヨタ自動車株式会社
報知装置
3日前
トヨタ自動車株式会社
駆動装置
2日前
トヨタ自動車株式会社
塗工装置
16日前
トヨタ自動車株式会社
バッテリ
1日前
トヨタ自動車株式会社
コネクタ
2日前
トヨタ自動車株式会社
車載装置
15日前
トヨタ自動車株式会社
車両構造
15日前
続きを見る
他の特許を見る