TOP
|
特許
|
意匠
|
商標
特許ウォッチ
Twitter
他の特許を見る
公開番号
2025144935
公報種別
公開特許公報(A)
公開日
2025-10-03
出願番号
2024044868
出願日
2024-03-21
発明の名称
電気自動車
出願人
トヨタ自動車株式会社
代理人
弁理士法人高田・高橋国際特許事務所
主分類
B60L
15/20 20060101AFI20250926BHJP(車両一般)
要約
【課題】電気モータを駆動源として有する電気自動車において、大駆動力が必要とされる領域から高速域までの幅広い領域で手動変速式内燃機関搭載車両と同等の変速操作を楽しめるようにする。
【解決手段】本開示の実施形態に係る車両は電気モータを駆動源とする電気自動車である。車両は切り替え可能な複数の変速比を有するトランスミッションと、トランスミッションで切り替え可能な変速比の数よりも多い数のシフトポジションを選択可能な疑似シフターとを備える。車両の制御装置は、疑似シフターで選択されたシフトポジションに応じてアクセル開度と車両速度と駆動輪トルクとの関係が切り替わるように、電気モータのモータトルクとトランスミッションの変速比との組み合わせを決定する。
【選択図】図3
特許請求の範囲
【請求項1】
電気モータを駆動源として有する電気自動車であって、
切り替え可能な複数の変速比を有するトランスミッションと、
前記トランスミッションで切り替え可能な変速比の数よりも多い数のシフトポジションを選択可能な疑似シフターと、
前記電気モータと前記トランスミッションとを制御する制御装置と、を備え、
前記制御装置は、前記疑似シフターで選択されたシフトポジションに応じてアクセル開度と車両速度と駆動輪トルクとの関係が切り替わるように、前記電気モータのモータトルクと前記トランスミッションの変速比との組み合わせを決定するように構成されている
ことを特徴とする電気自動車。
続きを表示(約 1,000 文字)
【請求項2】
請求項1に記載の電気自動車において、
前記制御装置は、
前記電気モータのモータ速度と前記モータトルクとの関係を前記疑似シフターのシフトポジション毎に定義したマップを前記駆動輪トルクの要求値と前記トランスミッションの変速比毎に有し、
前記トランスミッションを動作させる変速比と前記駆動輪トルクの要求値に応じたマップに従い、前記疑似シフターで選択されたシフトポジションに基づいて前記モータトルクを決定する、ように構成されている
ことを特徴とする電気自動車。
【請求項3】
請求項2に記載の電気自動車において、
前記トランスミッションの変速比毎に前記疑似シフターで選択可能なシフトポジションのうちの1又は複数のシフトポジションが関連付けられ、
各変速比用のマップでは、当該変速比に関連付けられた1又は複数のシフトポジションにおける前記モータ速度と前記モータトルクとの関係が定義されている
ことを特徴とする電気自動車。
【請求項4】
請求項2に記載の電気自動車において、
前記疑似シフターで選択可能なシフトポジションのうちの所定のシフトポジションにおける前記モータ速度と前記モータトルクとの関係は、前記複数の変速比のうちの第1変速比用のマップと前記第1変速比に隣接する第2変速比用のマップの双方で定義され、
前記疑似シフターで前記所定のシフトポジションが選択されている場合に前記トランスミッションを前記第1変速比で動作させ前記電気モータを前記第1変速比用のマップに従い制御することで実現される駆動輪トルクと、前記疑似シフターで前記所定のシフトポジションが選択されている場合に前記トランスミッションを前記第2変速比で動作させ前記電気モータを前記第2変速比用のマップに従い制御することで実現される駆動輪トルクとは、前記車両速度の変化に対して連続している
ことを特徴とする電気自動車。
【請求項5】
請求項1乃至3のいずれか一つの項に記載の電気自動車において、
前記疑似シフターは、
予め定められた物理的位置にシフトポジションが関連付けられ前記物理的位置をシフト操作部材で選択するように構成された絶対指示型のシフターと、
シフト操作部材の相対的動作にシフトポジションの指示値の増減が関連付けられた相対指示型のシフターと、の少なくとも一方を含む
ことを特徴とする電気自動車。
発明の詳細な説明
【技術分野】
【0001】
本開示は電気モータを駆動源として有する電気自動車に関する。
続きを表示(約 1,900 文字)
【背景技術】
【0002】
特許第6787507号には、内燃機関を駆動源とする手動変速式内燃機関車の手動変速動作を電気モータの制御によって疑似的に再現可能な電気自動車に関する従来技術が開示されている。従来技術に係る電気自動車は疑似シフトレバーを備え、疑似シフトレバーのシフトポジションとアクセル開度とに応じたトルクを電気モータに出力させる。
【先行技術文献】
【特許文献】
【0003】
特許第6787507号公報
【発明の概要】
【発明が解決しようとする課題】
【0004】
上記従来技術によれば、手動変速式内燃機関車の操作を電気自動車で体験することができる。しかし、上記従来技術において操作される手動変速機はあくまでも仮想的なものであるため、電気モータの最大トルクと電気モータから駆動輪までの減速比とで決まる駆動力の範囲内でしか電気自動車の駆動力を変化させることはできない。このため、電気モータの最大トルク次第では大駆動力が求められる場面での駆動力不足が懸念される。また、単に駆動力不足を解消するだけなら減速比を大きくすればよいことであるが、そうするとモータ回転数の制約のために高速走行が困難になる虞が生じる。つまり、上記従来技術では、必ずしも大駆動力が必要とされる領域から高速域までの幅広い領域で手動変速式内燃機関車と同等に変速操作を楽しめるとは限らなかった。
【0005】
本開示は上記の課題に鑑みてなされたものである。本開示の一つの目的は、電気モータを駆動源として有する電気自動車において、大駆動力が必要とされる領域から高速域までの幅広い領域で手動変速式内燃機関車と同等の変速操作を楽しめるようにすることにある。
【課題を解決するための手段】
【0006】
本開示は上記目的を達成するための電気自動車を提供する。本開示の一つの態様によれば、電気自動車は切り替え可能な複数の変速比を有するトランスミッションと、トランスミッションで切り替え可能な変速比の数よりも多い数のシフトポジションを選択可能な疑似シフターと、駆動源である電気モータとトランスミッションとを制御する制御装置とを備える。制御装置は、疑似シフターで選択されたシフトポジションに応じてアクセル開度と車両速度と駆動輪トルクとの関係が切り替わるように、電気モータのモータトルクとトランスミッションの変速比との組み合わせを決定するように構成されている。
【発明の効果】
【0007】
本開示の電気自動車によれば、電動モータにトランスミッションが組み合わされることによって大駆動力が必要とされる領域から高速域までの幅広い領域での運転が可能となる。そして、疑似シフターのシフトポジションに応じて電気モータのモータトルクとトランスミッションの変速比との組み合わせが決定されることによって、運転者はトランスミッションが有する変速比の数よりも多い数の変速比での疑似変速を楽しむことができる。
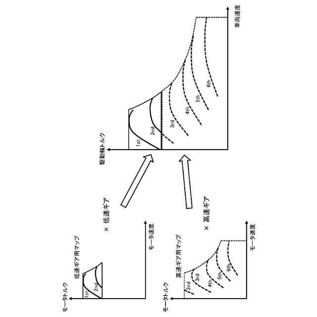
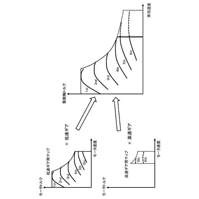
【図面の簡単な説明】
【0008】
本開示の一実施形態に係る車両の構成を示す図である。
本開示の一実施形態に係る車両モデルの一例を示す図である。
トランスミッションのギア段に基づきモータトルクを決定するためのモータトルクマップの第1の例を示す図である。
トランスミッションのギア段に基づきモータトルクを決定するためのモータトルクマップの第2の例を示す図である。
トランスミッションのギア段に基づきモータトルクを決定するためのモータトルクマップの第3の例を示す図である。
トランスミッションが3段変速の場合のモータトルクマップの一例を示す図である。
【発明を実施するための形態】
【0009】
1.車両の動力系の構成
図1は本開示の一実施形態に係る車両100の構成を模式的に示す図である。まず、図1を参照して車両100の動力系の構成について説明する。
【0010】
車両100は走行用の駆動源として電気モータ(M)6を備えている。また、車両100はバッテリ(BATT)2とインバータ(INV)4とを備えている。バッテリ2は電気モータ6を駆動する電気エネルギを蓄える。すなわち、車両100はバッテリ2に蓄えられた電気エネルギで走行するバッテリ電気自動車(BEV)である。電気モータ6は例えば三相交流モータである。インバータ4は例えば電圧型インバータであって、PWM制御によって電気モータ6のトルクを制御する。
(【0011】以降は省略されています)
この特許をJ-PlatPat(特許庁公式サイト)で参照する
関連特許
トヨタ自動車株式会社
車両
16日前
トヨタ自動車株式会社
車両
2日前
トヨタ自動車株式会社
車両
25日前
トヨタ自動車株式会社
電池
6日前
トヨタ自動車株式会社
車両
6日前
トヨタ自動車株式会社
車両
2日前
トヨタ自動車株式会社
電動車
4日前
トヨタ自動車株式会社
回転子
2日前
トヨタ自動車株式会社
ロータ
4日前
トヨタ自動車株式会社
電解液
2日前
トヨタ自動車株式会社
モータ
17日前
トヨタ自動車株式会社
サーバ
10日前
トヨタ自動車株式会社
電動車
2日前
トヨタ自動車株式会社
電動車
16日前
トヨタ自動車株式会社
電動車
2日前
トヨタ自動車株式会社
電動車
2日前
トヨタ自動車株式会社
回転子
17日前
トヨタ自動車株式会社
駆動装置
2日前
トヨタ自動車株式会社
二次電池
6日前
トヨタ自動車株式会社
制御装置
2日前
トヨタ自動車株式会社
電動車両
2日前
トヨタ自動車株式会社
冷却構造
9日前
トヨタ自動車株式会社
蓄電装置
3日前
トヨタ自動車株式会社
蓄電装置
2日前
トヨタ自動車株式会社
蓄電装置
3日前
トヨタ自動車株式会社
育苗装置
3日前
トヨタ自動車株式会社
蓄電装置
6日前
トヨタ自動車株式会社
電動車両
16日前
トヨタ自動車株式会社
電動車両
16日前
トヨタ自動車株式会社
塗布装置
4日前
トヨタ自動車株式会社
蓄電装置
4日前
トヨタ自動車株式会社
蓄電セル
4日前
トヨタ自動車株式会社
蓄電セル
4日前
トヨタ自動車株式会社
内燃機関
16日前
トヨタ自動車株式会社
制御装置
6日前
トヨタ自動車株式会社
加熱装置
16日前
続きを見る
他の特許を見る