TOP
|
特許
|
意匠
|
商標
特許ウォッチ
Twitter
他の特許を見る
10個以上の画像は省略されています。
公開番号
2025142599
公報種別
公開特許公報(A)
公開日
2025-10-01
出願番号
2024042047
出願日
2024-03-18
発明の名称
蓄電装置
出願人
トヨタ自動車株式会社
代理人
弁理士法人深見特許事務所
主分類
H01M
50/50 20210101AFI20250924BHJP(基本的電気素子)
要約
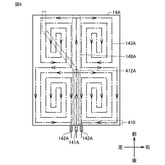
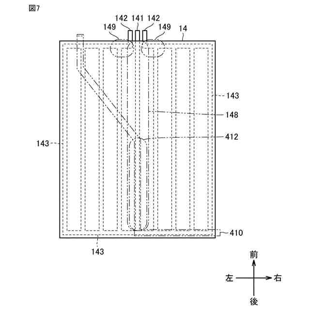
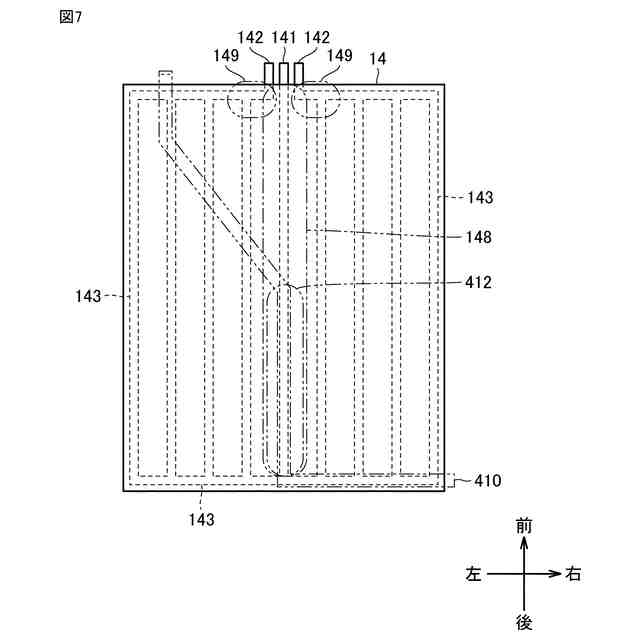
【課題】メインバスバ410が変形し難くすること。
【解決手段】蓄電装置は、外部端子を含む蓄電モジュールと、蓄電モジュールと隣り合う位置に設けられるリレーボックスと、蓄電モジュールに接して設けられる冷却器14と、冷却器14に対して蓄電モジュールと反対側に設けられるとともに、外部端子およびリレーボックスに接続されるメインバスバ410とを備える。冷却器14は、冷媒が供給される供給部141と、冷媒が流れる流通路143とを含む。流通路143は、供給部141との接続部分から延びる導入部分148を含む。メインバスバ410は、導入部分148と重なるように延びる重なり部分412を含む。これにより、流通路143の導入部分以外の部分と比較して冷えた状態の冷媒が流れる導入部分148と、少なくとも一部が重なるようにメインバスバ410が設けられる。このため、メインバスバ410を良好に冷却できる。
【選択図】図7
特許請求の範囲
【請求項1】
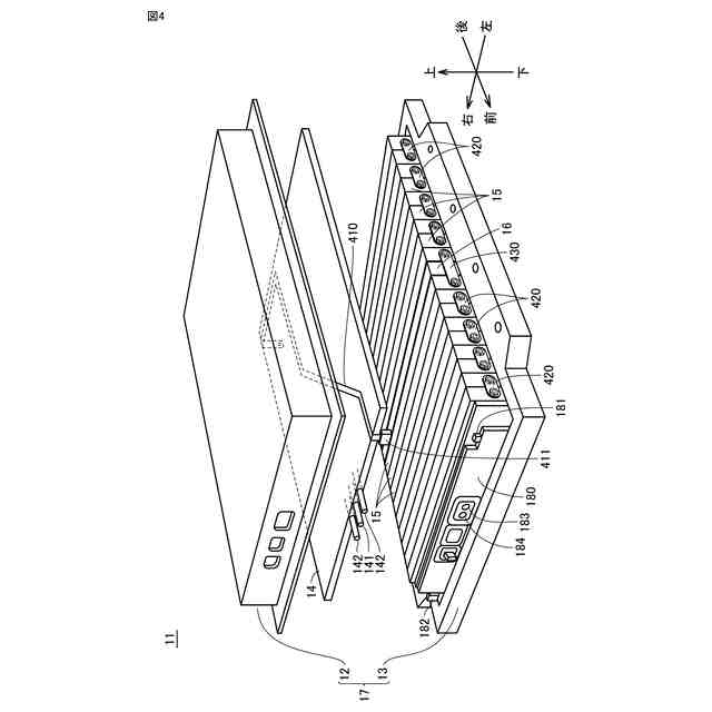
接続端子を含む蓄電池と、
前記蓄電池と隣り合う位置に設けられる接続機器と、
前記蓄電池に接して設けられる冷却器と、
前記冷却器に対して前記蓄電池と反対側に設けられるとともに、前記接続端子および前記接続機器に接続されるメインバスバとを備え、
前記冷却器は、冷媒が供給される供給部と、前記冷媒が流れる流通路とを含み、
前記流通路は、前記供給部との接続部分から延びる導入部分を含み、
前記メインバスバは、前記導入部分と重なるように延びる重なり部分を含む、蓄電装置。
続きを表示(約 890 文字)
【請求項2】
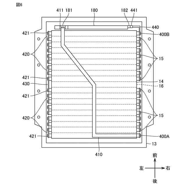
前記蓄電池は、複数の蓄電モジュールで構成され、
前記複数の蓄電モジュールは、各々、正極端子と負極端子とを有し、電力を充放電可能であり、電気的に直列に接続され、
前記接続端子は、総正極端子および総負極端子で構成され、
前記総正極端子は、前記蓄電モジュールの直列接続の末端の前記正極端子であり、
前記総負極端子は、前記蓄電モジュールの直列接続の末端の前記負極端子であり、
第1方向ならびに第2方向および第3方向は、互いに直交し、
前記蓄電モジュールは、前記第1方向および前記第2方向と比較して前記第3方向に長く、前記第3方向の両端にそれぞれ前記正極端子および前記負極端子を有し、
前記複数の蓄電モジュールは、前記第3方向の一方端において、隣接する2つの前記蓄電モジュールそれぞれの前記正極端子および前記負極端子が交互に並ぶように、前記第1方向に配列され、
隣接する2つの前記蓄電モジュールそれぞれの前記正極端子と前記負極端子とを、前記複数の蓄電モジュールのすべてが直列に接続されるように各々接続する複数のモジュール間バスバをさらに備え、
前記接続機器は、第1端子および第2端子を含み、
前記メインバスバは、前記第1端子と、前記総正極端子または前記総負極端子のうち前記接続機器から離れた方とを接続し、前記複数のモジュール間バスバから離れた位置に設けられる、請求項1に記載の蓄電装置。
【請求項3】
前記第2端子と、前記総正極端子または前記総負極端子のうち前記第1端子と接続されない方とを接続するサブバスバをさらに備え、
前記サブバスバは、前記メインバスバから離れた位置に設けられる、請求項2に記載の蓄電装置。
【請求項4】
前記冷却器は、前記冷媒が排出される排出部をさらに含み、
前記流通路は、前記排出部に繋がる排出部分を含み、
前記メインバスバは、前記排出部分と重なる部分を含まない、請求項1から請求項3のいずれかに記載の蓄電装置。
発明の詳細な説明
【技術分野】
【0001】
この開示は、蓄電装置に関する。
続きを表示(約 1,500 文字)
【背景技術】
【0002】
従来、蓄電装置において蓄電モジュールを冷却する冷却装置がバスバを冷却する位置に配置される電池パックがあった(たとえば、特許文献1参照)。
【先行技術文献】
【特許文献】
【0003】
特表2023-510277号公報
【発明の概要】
【発明が解決しようとする課題】
【0004】
バスバには大電流が流れるため、バスバは高温になり易い。特許文献1のような構造において、バスバが高温になった場合、バスバが延びる方向へ変形することによって、バスバが接続される端子に大きな荷重が加えられる虞があった。
【0005】
この開示は、上述した課題を解決するためになされたものであって、その目的は、バスバが変形し難くすることが可能な蓄電装置を提供することである。
【課題を解決するための手段】
【0006】
この開示に係る蓄電装置は、接続端子を含む蓄電池と、蓄電池と隣り合う位置に設けられる接続機器と、蓄電池に接して設けられる冷却器と、冷却器に対して蓄電池と反対側に設けられるとともに、接続端子および接続機器に接続されるメインバスバとを備える。冷却器は、冷媒が供給される供給部と、冷媒が流れる流通路とを含む。流通路は、供給部との接続部分から延びる導入部分を含む。メインバスバは、導入部分と重なるように延びる重なり部分を含む。
【0007】
このような構成によれば、流通路の導入部分以外の部分と比較して冷えた状態の冷媒が流れる導入部分と、少なくとも一部が重なるようにメインバスバが設けられる。このため、メインバスバを良好に冷却できる。その結果、バスバが変形し難くすることが可能な蓄電装置を提供することができる。
【0008】
蓄電池は、複数の蓄電モジュールで構成されるようにしてもよい。複数の蓄電モジュールは、各々、正極端子と負極端子とを有し、電力を充放電可能であり、電気的に直列に接続される。接続端子は、総正極端子および総負極端子で構成される。総正極端子は、蓄電モジュールの直列接続の末端の正極端子である。総負極端子は、蓄電モジュールの直列接続の末端の負極端子である。第1方向ならびに第2方向および第3方向は、互いに直交する。蓄電モジュールは、第1方向および第2方向と比較して第3方向に長く、第3方向の両端にそれぞれ正極端子および負極端子を有する。複数の蓄電モジュールは、第3方向の一方端において、隣接する2つの蓄電モジュールそれぞれの正極端子および負極端子が交互に並ぶように、第1方向に配列される。蓄電装置は、隣接する2つの蓄電モジュールそれぞれの正極端子と負極端子とを、複数の蓄電モジュールのすべてが直列に接続されるように各々接続する複数のモジュール間バスバをさらに備える。接続機器は、第1端子および第2端子を含む。メインバスバは、第1端子と、総正極端子または総負極端子のうち接続機器から離れた方とを接続し、複数のモジュール間バスバから離れた位置に設けられるようにしてもよい。
【0009】
このような構成によれば、メインバスバとモジュール間バスバとを離して配置することができる。その結果、メインバスバとモジュール間バスバとが接触することを抑制できる。
【0010】
第2端子と、総正極端子または総負極端子のうち第1端子と接続されない方とを接続するサブバスバをさらに備え、サブバスバは、メインバスバから離れた位置に設けられるようにしてもよい。
(【0011】以降は省略されています)
この特許をJ-PlatPat(特許庁公式サイト)で参照する
関連特許
トヨタ自動車株式会社
車両
25日前
トヨタ自動車株式会社
車両
2日前
トヨタ自動車株式会社
電池
6日前
トヨタ自動車株式会社
車両
16日前
トヨタ自動車株式会社
車両
6日前
トヨタ自動車株式会社
車両
2日前
トヨタ自動車株式会社
電動車
16日前
トヨタ自動車株式会社
回転子
17日前
トヨタ自動車株式会社
電解液
2日前
トヨタ自動車株式会社
回転子
2日前
トヨタ自動車株式会社
電動車
4日前
トヨタ自動車株式会社
電動車
2日前
トヨタ自動車株式会社
電動車
2日前
トヨタ自動車株式会社
電動車
2日前
トヨタ自動車株式会社
モータ
17日前
トヨタ自動車株式会社
ロータ
4日前
トヨタ自動車株式会社
サーバ
10日前
トヨタ自動車株式会社
蓄電装置
2日前
トヨタ自動車株式会社
電動車両
16日前
トヨタ自動車株式会社
制御装置
17日前
トヨタ自動車株式会社
電動車両
16日前
トヨタ自動車株式会社
検査装置
6日前
トヨタ自動車株式会社
駆動装置
2日前
トヨタ自動車株式会社
蓄電装置
6日前
トヨタ自動車株式会社
育苗装置
3日前
トヨタ自動車株式会社
給電装置
16日前
トヨタ自動車株式会社
冷却装置
16日前
トヨタ自動車株式会社
内燃機関
16日前
トヨタ自動車株式会社
二次電池
6日前
トヨタ自動車株式会社
電動車両
2日前
トヨタ自動車株式会社
蓄電装置
6日前
トヨタ自動車株式会社
制御装置
2日前
トヨタ自動車株式会社
制御装置
6日前
トヨタ自動車株式会社
蓄電装置
18日前
トヨタ自動車株式会社
表示装置
18日前
トヨタ自動車株式会社
蓄電装置
16日前
続きを見る
他の特許を見る