TOP
|
特許
|
意匠
|
商標
特許ウォッチ
Twitter
他の特許を見る
公開番号
2025140503
公報種別
公開特許公報(A)
公開日
2025-09-29
出願番号
2024039940
出願日
2024-03-14
発明の名称
蓄電装置
出願人
トヨタ自動車株式会社
,
トヨタバッテリー株式会社
代理人
弁理士法人深見特許事務所
主分類
H01M
50/204 20210101AFI20250919BHJP(基本的電気素子)
要約
【課題】蓄電装置を適切な位置で切断するのに要する時間が長くなるのを抑制することが可能な蓄電装置を提供する。
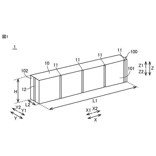
【解決手段】蓄電装置1は、複数の蓄電セル210を含む蓄電モジュール200と、蓄電モジュール200を収容するケース100と、を備える。ケース100の外表面101および外表面102には、それぞれ、蓄電装置1を解体する際に切断するケース100の切断部を示す凹部11(情報提供部)および凹部12(情報提供部)が設けられている。
【選択図】図1
特許請求の範囲
【請求項1】
蓄電装置であって、
少なくとも1つの蓄電セルを含む蓄電モジュールと、
前記蓄電モジュールを収容するケースと、を備え、
前記ケースの外表面には、前記蓄電装置を解体する際に切断する前記ケースの切断部を示す情報提供部が設けられている、蓄電装置。
続きを表示(約 590 文字)
【請求項2】
前記少なくとも1つの蓄電セルは、複数の蓄電セルを含み、
前記蓄電モジュールは、前記複数の蓄電セルのうち異なる蓄電セル同士を接続する接続部を含み、
前記切断部は、前記接続部に対応する部位である、請求項1に記載の蓄電装置。
【請求項3】
前記ケースは、密閉構造を有する、請求項1または2に記載の蓄電装置。
【請求項4】
前記切断部は、脆弱部分を含む、請求項1または2に記載の蓄電装置。
【請求項5】
前記情報提供部は、前記切断部を視覚的に認識可能に示すように前記ケースの前記外表面に記された線および印の少なくとも一方を含む、請求項1または2に記載の蓄電装置。
【請求項6】
前記情報提供部は、前記切断部を視覚的に認識可能に示すように前記ケースの前記外表面に形成された凹部および凸部の少なくとも一方を含む、請求項1または2に記載の蓄電装置。
【請求項7】
前記情報提供部は、前記切断部を視覚的に認識可能に示すように前記ケースの前記外表面に取り付けられた部材を含む、請求項1または2に記載の蓄電装置。
【請求項8】
前記情報提供部は、情報取得装置により撮像されることにより前記切断部の情報が取得可能なコードを含む、請求項1または2に記載の蓄電装置。
発明の詳細な説明
【技術分野】
【0001】
本開示は、蓄電装置に関する。
続きを表示(約 1,300 文字)
【背景技術】
【0002】
特表2023-502457号公報(特許文献1)には、ハウジングと、複数の電極体セットとを備える電池が開示されている。複数の電極体セットは、ハウジングの内部に設けられている。
【先行技術文献】
【特許文献】
【0003】
特表2023-502457号公報
【発明の概要】
【発明が解決しようとする課題】
【0004】
上記特許文献1には明記されていないが、電池(蓄電装置)をリサイクル等のために解体する場合がある。この場合、たとえば電極体セット(蓄電セル)を傷付けないために、電池を適切な位置で切断する必要がある。しかしながら、たとえば経験が浅い作業者等は、上記の適切な位置を特定するのに長時間を要する場合がある。この場合、電池を適切な位置で切断するのに要する時間が長くなる。
【0005】
本開示は、上記課題を解決するためになされたものであり、その目的は、蓄電装置を適切な位置で切断するのに要する時間が長くなるのを抑制することが可能な蓄電装置を提供することである。
【課題を解決するための手段】
【0006】
本開示の一の局面に係る蓄電装置は、少なくとも1つの蓄電セルを含む蓄電モジュールと、蓄電モジュールを収容するケースと、を備える。ケースの外表面には、蓄電装置を解体する際に切断するケースの切断部を示す情報提供部が設けられている。
【0007】
本開示の一の局面に係る蓄電装置では、上記のように、ケースの外表面に、蓄電装置を解体する際に切断するケースの切断部を示す情報提供部が設けられている。これにより、電池の切断に適切な位置を切断部として予め設定しておくことによって、情報提供部により示される情報に基づいて、容易にケースを適切な位置で切断することができる。その結果、蓄電装置を適切な位置で切断するのに要する時間が長くなるのを抑制することができる。
【0008】
上記一の局面に係る蓄電装置において、好ましくは、上記少なくとも1つの蓄電セルは、複数の蓄電セルを含む。蓄電モジュールは、複数の蓄電セルのうち異なる蓄電セル同士を接続する接続部を含む。切断部は、接続部に対応する部位である。このように構成すれば、蓄電セル同士の間に設けられる接続部に対応するケースの部位が切断されるので、蓄電セルが切断される(傷付けられる)のを抑制することができる。
【0009】
上記一の局面に係る蓄電装置において、好ましくは、ケースは、密閉構造を有する。ここで、ケースが密閉されることにより、ケースの内部を視認するのが困難になる。したがって、ケースの切断部を示す情報提供部がケースの外表面に設けられていることは、ケースの内部を視認せずにケースの切断部(切断に適切な位置)を特定するのに特に有効である。
【0010】
上記一の局面に係る蓄電装置において、好ましくは、切断部は、脆弱部分を含む。このように構成すれば、切断部に沿ってケースを切断する作業を容易化(簡易化)することができる。
(【0011】以降は省略されています)
この特許をJ-PlatPat(特許庁公式サイト)で参照する
関連特許
個人
フレキシブル電気化学素子
9日前
日新イオン機器株式会社
イオン源
5日前
株式会社ユーシン
操作装置
9日前
ローム株式会社
半導体装置
11日前
ローム株式会社
半導体装置
16日前
株式会社GSユアサ
蓄電設備
9日前
太陽誘電株式会社
全固体電池
16日前
太陽誘電株式会社
コイル部品
9日前
株式会社ホロン
冷陰極電子源
3日前
株式会社GSユアサ
蓄電装置
16日前
株式会社ホロン
冷陰極電子源
16日前
オムロン株式会社
電磁継電器
10日前
株式会社GSユアサ
蓄電設備
9日前
日本特殊陶業株式会社
保持装置
16日前
日東電工株式会社
積層体
10日前
ノリタケ株式会社
熱伝導シート
9日前
サクサ株式会社
電池の固定構造
9日前
トヨタ自動車株式会社
蓄電装置
9日前
日本特殊陶業株式会社
保持装置
16日前
トヨタ自動車株式会社
バッテリ
10日前
TDK株式会社
電子部品
16日前
ベストテック株式会社
装置支持具
9日前
古河電気工業株式会社
端子
9日前
日東電工株式会社
電子装置
12日前
東レエンジニアリング株式会社
実装装置
16日前
TDK株式会社
コイル部品
16日前
トヨタ自動車株式会社
電池パック
2日前
日本特殊陶業株式会社
電極
16日前
株式会社ダイヘン
搬送装置
9日前
日本特殊陶業株式会社
電極
16日前
株式会社トクヤマ
シリコンエッチング液
3日前
日本製紙株式会社
導電性フィルム
10日前
日本製紙株式会社
導電性フィルム
10日前
ローム株式会社
半導体装置
10日前
SMK株式会社
キートップ及びスイッチ
11日前
東レエンジニアリング株式会社
実装装置
10日前
続きを見る
他の特許を見る