TOP
|
特許
|
意匠
|
商標
特許ウォッチ
Twitter
他の特許を見る
公開番号
2025134215
公報種別
公開特許公報(A)
公開日
2025-09-17
出願番号
2024031979
出願日
2024-03-04
発明の名称
蓄電装置
出願人
トヨタ自動車株式会社
代理人
弁理士法人深見特許事務所
主分類
H01M
50/271 20210101AFI20250909BHJP(基本的電気素子)
要約
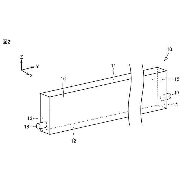
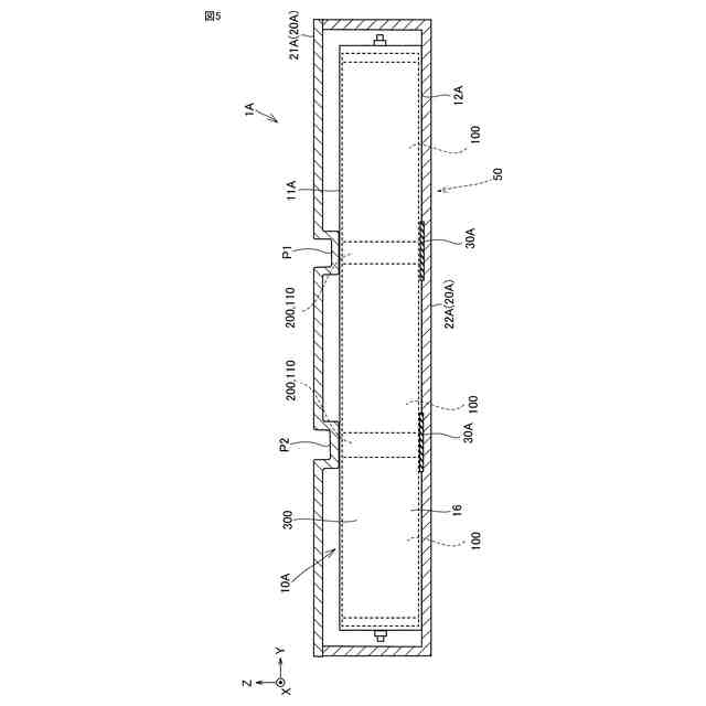
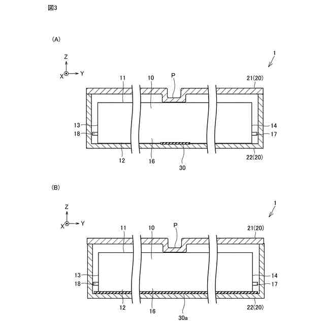
【課題】蓄電体とケースの接着が剥離し難い構造を提供する。
【解決手段】蓄電装置1は、複数の蓄電体10と、収容ケース20とを備える。複数の蓄電体10は、X方向に配列され、X方向に積層されている。蓄電体10の下面12は、ロアケース22と接着材30,30aによって接着されている。アッパーケース21には、X方向に延在する突出部Pが形成されている。突出部Pは、ロアケース22の方向に突出しており、蓄電体10の上面11に当接している。これにより、蓄電体10は接着材30,30a側(ロアケース22側)に荷重を受け、押さえつけられる。
【選択図】図3
特許請求の範囲
【請求項1】
複数の蓄電体と、
第1ケースと第2ケースを含み、前記第1ケースと前記第2ケースによって形成された空間に前記複数の蓄電体を収容する収容ケースと、を備えた蓄電装置であって、
前記複数の蓄電体は、前記第1ケースに接着されており、
前記第2ケースは、前記第1ケースの方向へ突出する突出部を有し、
前記突出部は、前記蓄電体に当接している、蓄電装置。
続きを表示(約 490 文字)
【請求項2】
前記複数の蓄電体は、前記収容ケースに、積層方向へ配列されており、
前記突出部は、前記積層方向に延在する、請求項1に記載の蓄電装置。
【請求項3】
前記複数の蓄電体の各々は直方体であり、
前記蓄電体は、長辺方向の中央部において、前記第1ケースに接着されており、
前記突出部は、前記長辺方向の中央部において、前記蓄電体に当接している、請求項1または請求項2に記載の蓄電装置。
【請求項4】
前記複数の蓄電体の各々は、
連結方向に並んだ複数の蓄電セルが、接続部において電気的に接続されたセル連結体と、
前記セル連結体を収容するセルケースと、
前記接続部に配置され、前記セルケースを補強するための補強部材と、を含み、
前記突出部は、前記補強部材が配置された位置において、前記セルケースと当接している、請求項1または請求項2に記載の蓄電装置。
【請求項5】
前記セルケースは、前記補強部材が配置された位置において、前記第1ケースに接着されている、請求項4に記載の蓄電装置。
発明の詳細な説明
【技術分野】
【0001】
本開示は、蓄電装置に関する。
続きを表示(約 870 文字)
【背景技術】
【0002】
特開2023-46013号公報(特許文献1)には、複数の電池セルとケースの底を、接着性を有する伝熱部材を用いて接着する電池パックが開示されている。
【先行技術文献】
【特許文献】
【0003】
特開2023-46013号公報
【発明の概要】
【発明が解決しようとする課題】
【0004】
電池パックに振動等が加わると、電池セル(蓄電体)とケースの接着が剥離する懸念がある。
【0005】
本開示の目的は、蓄電体とケースの接着が剥離し難い構造を提供することである。
【課題を解決するための手段】
【0006】
本開示に係る蓄電装置は、複数の蓄電体と、第1ケースと第2ケースを含み、第1ケースと第2ケースによって形成された空間に複数の蓄電体を収容する収容ケースと、を備えた蓄電装置である。複数の蓄電体は第1ケースに接着されており、第2ケースは、第1ケースの方向へ突出する突出部を有し、当該突出部は蓄電体に当接している。
【0007】
この構成によれば、複数の蓄電体は、第1ケースに接着される。第2ケースの突出部は、第1ケースの方向へ突出し、蓄電体に当接している。蓄電体は、第2ケースの突出部によって第1ケース側に押されるので、蓄電体と収容ケースの接着が剥離することを抑制できる。
【0008】
好ましくは、複数の蓄電体は、収容ケースに積層方向へ配列されており、突出部は、積層方向に延在するようにしてもよい。
【0009】
この構成によれば、第2ケースの突出部によって、複数の蓄電体を第1ケース側に押さえることができる。
【0010】
複数の蓄電体の各々は直方体であってよく、蓄電体の長辺方向の中央部において第1ケースに接着され、突出部は、蓄電体の長辺方向の中央部において蓄電体に当接していてもよい。
(【0011】以降は省略されています)
この特許をJ-PlatPat(特許庁公式サイト)で参照する
関連特許
日本発條株式会社
積層体
13日前
個人
フレキシブル電気化学素子
2日前
株式会社ユーシン
操作装置
2日前
個人
防雪防塵カバー
13日前
ローム株式会社
半導体装置
9日前
ローム株式会社
半導体装置
4日前
ローム株式会社
半導体装置
11日前
ローム株式会社
半導体装置
11日前
ローム株式会社
半導体装置
11日前
株式会社GSユアサ
蓄電装置
9日前
株式会社GSユアサ
蓄電設備
2日前
株式会社GSユアサ
蓄電設備
2日前
太陽誘電株式会社
コイル部品
2日前
株式会社GSユアサ
蓄電装置
13日前
太陽誘電株式会社
全固体電池
9日前
個人
半導体パッケージ用ガラス基板
12日前
オムロン株式会社
電磁継電器
3日前
株式会社ホロン
冷陰極電子源
9日前
日本特殊陶業株式会社
保持装置
11日前
ローム株式会社
電子装置
13日前
トヨタ自動車株式会社
蓄電装置
2日前
日本特殊陶業株式会社
保持装置
13日前
トヨタ自動車株式会社
二次電池
13日前
ノリタケ株式会社
熱伝導シート
2日前
TDK株式会社
電子部品
9日前
サクサ株式会社
電池の固定構造
2日前
トヨタ自動車株式会社
バッテリ
3日前
日本特殊陶業株式会社
保持装置
9日前
日本特殊陶業株式会社
保持装置
9日前
日東電工株式会社
積層体
3日前
ヒロセ電機株式会社
電気コネクタ
13日前
株式会社カネカ
正極活物質
13日前
日本特殊陶業株式会社
電極
9日前
日本製紙株式会社
導電性フィルム
3日前
日本特殊陶業株式会社
電極
9日前
ローム株式会社
半導体装置
13日前
続きを見る
他の特許を見る