TOP
|
特許
|
意匠
|
商標
特許ウォッチ
Twitter
他の特許を見る
公開番号
2025145059
公報種別
公開特許公報(A)
公開日
2025-10-03
出願番号
2024045040
出願日
2024-03-21
発明の名称
駆動装置
出願人
トヨタ自動車株式会社
代理人
弁理士法人深見特許事務所
主分類
F16H
57/04 20100101AFI20250926BHJP(機械要素または単位;機械または装置の効果的機能を生じ維持するための一般的手段)
要約
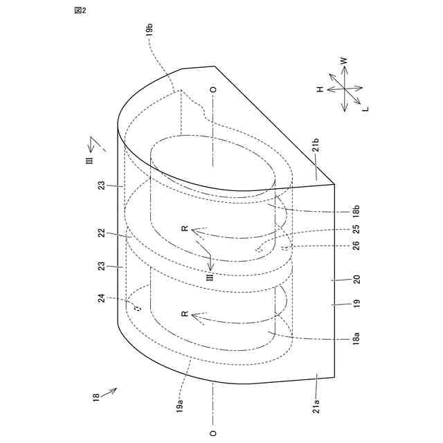
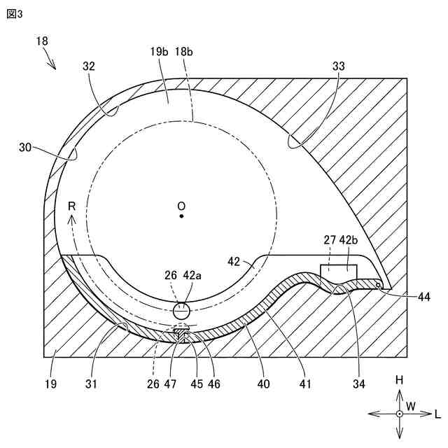
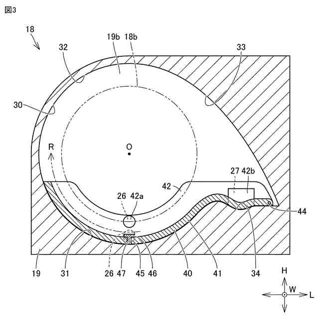
【課題】必要に応じて駆動装置から発生する熱を有効活用できる駆動装置を提供することである。
【解決手段】収容ケース19と、収容ケース19内に設けられた回転電機18aと、収容ケース19内に回転可能に設けられたギヤ18bと、回転電機18aを冷却する冷媒と、を備え、収容ケース19には、回転電機18aおよびギヤ18bを収容する収容室19bが形成されており、収容ケース19は、収容室19b内に設けられたプレート40と、プレート40を変位させる変位部材45とを含み、プレート40は、収容室19bを規定する収容ケース19の内表面30と接触する位置と、内表面30との間に隙間gを形成する位置と、の間を変位し、プレート40が収容室19bを規定する内表面30と接触する位置にある状態において、冷媒はプレート40を通る、駆動装置。
【選択図】図3
特許請求の範囲
【請求項1】
収容ケースと、
前記収容ケース内に設けられた回転電機と、
前記収容ケース内に回転可能に設けられたギヤと、
前記回転電機を冷却する冷媒と、
を備え、
前記収容ケースには、前記回転電機および前記ギヤを収容する収容室が形成されており、
前記収容ケースは、前記収容室内に設けられたプレートと、前記プレートを変位させる変位部材とを含み、
前記プレートは、
前記収容室を規定する前記収容ケースの内表面と接触する位置と、前記内表面との間に隙間を形成する位置と、の間を変位し、
前記プレートが前記収容室を規定する前記内表面と接触する位置にある状態において、前記冷媒は前記プレートを通る、駆動装置。
続きを表示(約 1,000 文字)
【請求項2】
前記プレートと、前記内表面との間に隙間が形成されている状態において、前記冷媒は前記隙間を通る、請求項1に記載の駆動装置。
【請求項3】
前記収容室は、前記回転電機が収容された第1収容室と、前記ギヤが収容された第2収容室とを含み、
前記収容ケースは、前記第1収容室および前記第2収容室とを区画する区画壁を含み、
前記区画壁には、第1開口部と、前記第1開口部よりも下方に位置する第2開口部が形成されており、
前記プレートは、前記第2収容室の底面側に設けられており、
前記プレートが前記内表面と接触している状態において、前記第2開口部は前記プレートによって閉塞されており、前記冷媒は前記第1開口部を通して前記第2収容室に流れると共に、前記第2収容室内に位置する前記プレートの上面を流れており、
前記内表面と前記プレートとの間に隙間が形成されている状態において、前記第2開口部は前記隙間と連通しており、前記冷媒は、前記第2開口部を通して、前記隙間を通る、請求項2に記載の駆動装置。
【請求項4】
前記変位部材は、前記冷媒の温度が高くなると、前記プレートを変位させて前記収容ケースの内表面に接触させており、
前記プレートが前記収容室を規定する前記収容ケースの内表面と接触している状態における前記冷媒の温度は、前記プレートと前記収容室を規定する前記収容ケースの内表面との間に隙間が形成されている状態における前記冷媒の温度よりも、高い、請求項1に記載の駆動装置。
【請求項5】
収容ケースと、
前記収容ケース内に設けられた回転電機と、
前記収容ケース内に回転可能に設けられたギヤと、
前記回転電機を冷却する冷媒と、
切替装置と、
を備え、
前記収容ケースには、前記回転電機および前記ギヤを収容する収容室が形成されており、
前記収容ケースは、前記収容室内に設けられたプレートを含み、
前記プレートは、前記収容室内に配置されており、
前記プレートと前記収容ケースの内表面との間に隙間が形成されており、
前記切替装置は、前記冷媒が前記隙間を通る状態と、前記冷媒が前記隙間を通らない状態とを切り替えており、
前記冷媒が前記隙間を通る状態における前記冷媒の温度は、前記冷媒が前記隙間を通らない状態における前記冷媒の温度よりも、高い、駆動装置。
発明の詳細な説明
【技術分野】
【0001】
本開示は、駆動装置に関する。
続きを表示(約 1,500 文字)
【背景技術】
【0002】
例えば、特開2020-091001号公報(特許文献1)には、オイルタンクと、ポンプと、オイルクーラと、モータと、ギヤとから形成される潤滑油回路を備えた駆動装置が開示されている。潤滑油は、ギヤと、モータとを冷却する。ギヤとモータとの冷却により潤滑油が奪った熱は、オイルクーラにより冷却され、再度モータと、ギヤとの冷却に利用される。
【先行技術文献】
【特許文献】
【0003】
特開2020-091001号公報
【発明の概要】
【発明が解決しようとする課題】
【0004】
特開2020-091001号公報に開示された駆動装置は、たとえば電気自動車に搭載される。電気自動車には、エンジンといった主要な発熱体が設けられていないため、バッテリなどの機器を昇温する場合には、駆動装置から発生した熱を利用することが知られている。
【0005】
しかし、特開2020-091001号公報の駆動装置において、潤滑油がギヤやモータから奪った熱は、駆動装置のケースから放熱されているため、熱の有効利用が考慮されていない。
【0006】
本開示は、上記課題を解決するためになされたものであり、その目的は、必要に応じて駆動装置から発生する熱を有効活用できる駆動装置を提供することである。
【課題を解決するための手段】
【0007】
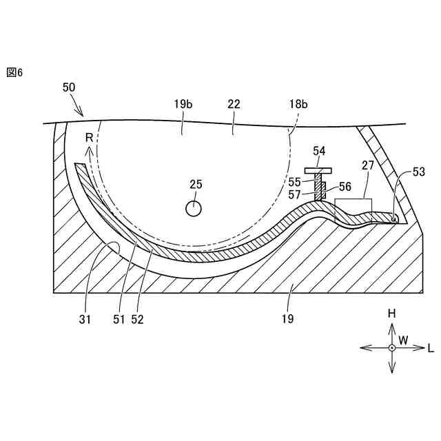
本開示の第1の局面に係る駆動装置は、収容ケースと、収容ケース内に設けられた回転電機と、収容ケース内に回転可能に設けられたギヤと、回転電機を冷却する冷媒と、を備える。収容ケースには、回転電機およびギヤを収容する収容室が形成されている。収容ケースは、収容室内に設けられたプレートと、プレートを変位させる変位部材とを含む。プレートは、収容室を規定する収容ケースの内表面と接触する位置と、内表面との間に隙間を形成する位置と、の間を変位する。プレートが収容室を規定する内表面と接触する位置にある状態において、冷媒はプレートを通る。
【0008】
本開示の第1の局面に係る駆動装置において、プレートと、内表面との間に隙間が形成されている状態において、冷媒は隙間を通る。
【0009】
本開示の第1の局面に係る駆動装置において、収容室は、回転電機が収容された第1収容室と、ギヤが収容された第2収容室とを含む。収容ケースは、第1収容室および第2収容室とを区画する区画壁を含む。区画壁には、第1開口部と、第1開口部よりも下方に位置する第2開口部が形成されている。プレートは、第2収容室の底面側に設けられている。プレートが内表面と接触している状態において、第2開口部はプレートによって閉塞されており、冷媒は第1開口部を通して第2収容室に流れると共に、第2収容室内に位置するプレートの上面を流れる。内表面とプレートとの間に隙間が形成されている状態において、第2開口部は隙間と連通しており、冷媒は、第2開口部を通して、隙間を通る。
【0010】
本開示の第1の局面に係る駆動装置の変位部材は、冷媒の温度が高くなると、プレートを変位させて収容ケースの内表面に接触させる。プレートが収容室を規定する収容ケースの内表面と接触している状態における冷媒の温度は、プレートと収容室を規定する収容ケースの内表面との間に隙間が形成されている状態における冷媒の温度よりも高い。
(【0011】以降は省略されています)
この特許をJ-PlatPat(特許庁公式サイト)で参照する
関連特許
個人
留め具
4日前
個人
鍋虫ねじ
1か月前
個人
回転伝達機構
2か月前
個人
ホース保持具
6か月前
個人
紛体用仕切弁
1か月前
個人
トーションバー
6か月前
個人
差動歯車用歯形
3か月前
個人
ジョイント
29日前
個人
給排気装置
11日前
株式会社不二工機
電磁弁
3か月前
個人
ナット
1か月前
株式会社不二工機
電磁弁
5か月前
個人
地震の揺れ回避装置
2か月前
個人
吐出量監視装置
1か月前
株式会社三協丸筒
枠体
6か月前
カヤバ株式会社
緩衝器
3か月前
カヤバ株式会社
ダンパ
3か月前
カヤバ株式会社
緩衝器
10日前
柿沼金属精機株式会社
分岐管
2か月前
カヤバ株式会社
緩衝器
3か月前
カヤバ株式会社
ダンパ
3か月前
株式会社不二工機
電動弁
11日前
株式会社不二工機
電磁弁
1か月前
株式会社ノーリツ
分配弁
5か月前
株式会社ニフコ
クリップ
15日前
個人
固着具と固着具の固定方法
6か月前
株式会社ノーリツ
分配弁
5か月前
株式会社フジキン
ボールバルブ
4か月前
個人
固着具と固着具の固定方法
5か月前
株式会社タカギ
水栓装置
2か月前
株式会社奥村組
制振機構
19日前
株式会社ノーリツ
分配弁
5か月前
株式会社奥村組
制振機構
19日前
日東電工株式会社
断熱材
6か月前
個人
固着具と固着具の固定方法
5か月前
個人
固着具と固着具の固定方法
4か月前
続きを見る
他の特許を見る