TOP
|
特許
|
意匠
|
商標
特許ウォッチ
Twitter
他の特許を見る
公開番号
2025143688
公報種別
公開特許公報(A)
公開日
2025-10-02
出願番号
2024043045
出願日
2024-03-19
発明の名称
蓄電装置
出願人
トヨタ自動車株式会社
代理人
弁理士法人深見特許事務所
主分類
H01M
10/658 20140101AFI20250925BHJP(基本的電気素子)
要約
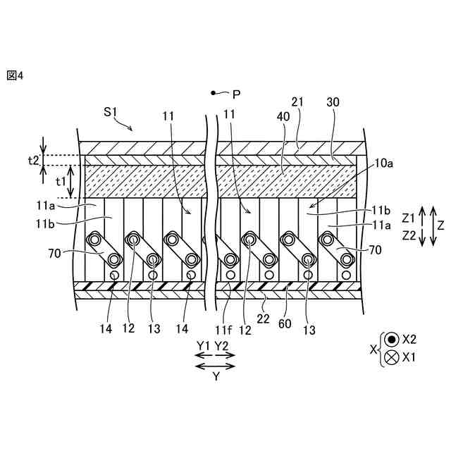
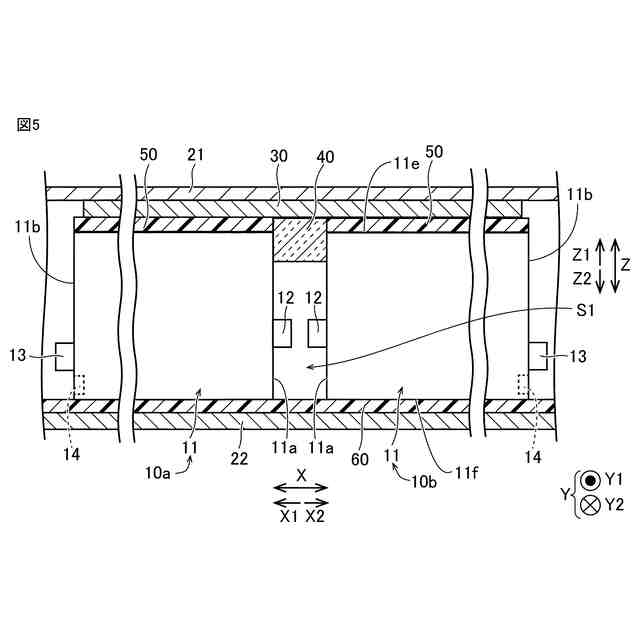
【課題】蓄電セルに設けられる電極端子に冷却器の結露水が滴下されるのを抑制することが可能な蓄電装置を提供する。
【解決手段】蓄電装置100は、蓄電セル11を含む蓄電モジュール10と、蓄電モジュール10の上方に配置される冷却器30と、断熱部材40とを備える。蓄電セル11は、短側面11aおよび短側面11bと、短側面11aに配置される正極端子12と、短側面11bに配置される負極端子13と、を有する。断熱部材40は、冷却器30の下方でかつ正極端子12および負極端子13の各々の上方に設けられている。
【選択図】図4
特許請求の範囲
【請求項1】
少なくとも1つの蓄電セルを含む蓄電モジュールと、
前記蓄電モジュールの上方に配置される冷却器と、
前記冷却器の下方に配置される配置部材と、を備え、
前記配置部材は、断熱部材であり、
前記少なくとも1つの蓄電セルは、
上面と、
下面と、
前記上面と前記下面との間に配置される側面と、
前記側面に配置される電極端子と、を有し、
前記断熱部材は、前記冷却器の下方でかつ前記電極端子の上方に設けられている、蓄電装置。
続きを表示(約 810 文字)
【請求項2】
少なくとも1つの蓄電セルを含む蓄電モジュールと、
前記蓄電モジュールの上方に配置される冷却器と、
前記冷却器の下方に配置される配置部材と、を備え、
前記配置部材は、充填部材であり、
前記少なくとも1つの蓄電セルは、
上面と、
下面と、
前記上面と前記下面との間に配置される側面と、
前記側面に配置される電極端子と、を有し、
前記充填部材は、前記冷却器の下方でかつ前記電極端子の上方の空間に充填されている、蓄電装置。
【請求項3】
前記充填部材は、熱伝導性部材を含む、請求項2に記載の蓄電装置。
【請求項4】
前記少なくとも1つの蓄電セルは、隣り合うように配置される第1蓄電セルと第2蓄電セルとを含み、
前記冷却器は、前記蓄電モジュールの上方において前記第1蓄電セルと前記第2蓄電セルとに跨がって配置されており、
前記電極端子は、
前記第1蓄電セルのうち前記第2蓄電セル側の前記側面に設けられた第1電極端子と、
前記第2蓄電セルのうち前記第1蓄電セル側の前記側面に設けられた第2電極端子と、を含み、
前記配置部材は、前記第1電極端子および前記第2電極端子の各々の上方に設けられている、請求項1~3のいずれか1項に記載の蓄電装置。
【請求項5】
前記少なくとも1つの蓄電セルには、前記電極端子よりも下方に位置する排気弁が設けられている、請求項1~3のいずれか1項に記載の蓄電装置。
【請求項6】
前記少なくとも1つの蓄電セルは、配列方向に配列される複数の蓄電セルを含み、
前記配置部材は、前記配列方向に配列された前記複数の蓄電セルに跨がるように前記配列方向に延びている、請求項1~3のいずれか1項に記載の蓄電装置。
発明の詳細な説明
【技術分野】
【0001】
本開示は、蓄電装置に関する。
続きを表示(約 1,300 文字)
【背景技術】
【0002】
特表2023-529400号公報(特許文献1)には、複数の単電池と、トレイと、均温板と、冷却管路とを備える電池パックが開示されている。複数の単電池は、トレイの収容空間に収容されている。均温板は、トレイの収容空間の上部開口部をカバーしている。冷却管路は、均温板の外表面(収容空間とは反対側の表面)に配置されている。
【先行技術文献】
【特許文献】
【0003】
特表2023-529400号公報
【発明の概要】
【発明が解決しようとする課題】
【0004】
上記特許文献1には記載されていないが、蓄電セルの側面には、電極端子が設けられる場合がある。この場合、均温板(冷却器)において生じた結露水が滴下されることにより、結露水が電極端子に付着することが考えられる。
【0005】
本開示は、上記課題を解決するためになされたものであり、その目的は、蓄電セルに設けられる電極端子に冷却器の結露水が滴下されるのを抑制することが可能な蓄電装置を提供することである。
【課題を解決するための手段】
【0006】
本開示の第1の局面に係る蓄電装置は、少なくとも1つの蓄電セルを含む蓄電モジュールと、蓄電モジュールの上方に配置される冷却器と、冷却器の下方に配置される配置部材と、を備える。配置部材は、断熱部材である。少なくとも1つの蓄電セルは、上面と、下面と、上面と下面との間に配置される側面と、側面に配置される電極端子と、を有する。断熱部材は、冷却器の下方でかつ電極端子の上方に設けられている。
【0007】
本開示の第1の局面に係る蓄電装置では、上記のように、断熱部材は、冷却器の下方でかつ電極端子の上方に設けられている。これにより、断熱部材が冷却器と電極端子との間に設けられるので、冷却器からの結露水が電極端子に滴下されるのを断熱部材により抑制することができる。
【0008】
また、断熱部材により、電極端子が冷却器によって過度に冷却されるのを抑制することができる。
【0009】
本開示の第2の局面に係る蓄電装置は、少なくとも1つの蓄電セルを含む蓄電モジュールと、蓄電モジュールの上方に配置される冷却器と、冷却器の下方に配置される配置部材と、を備える。配置部材は、充填部材である。少なくとも1つの蓄電セルは、上面と、下面と、上面と下面との間に配置される側面と、側面に配置される電極端子と、を有する。充填部材は、冷却器の下方でかつ電極端子の上方の空間に充填されている。なお、「充填部材が空間に充填される」とは、「充填部材が空間を埋め尽くす」ことを意味する。
【0010】
本開示の第2の局面に係る蓄電装置では、上記のように、充填部材は、冷却器の下方でかつ電極端子の上方に設けられている。これにより、充填部材が冷却器と電極端子との間を遮蔽するように設けられるので、冷却器からの結露水が電極端子に滴下されるのを抑制することができる。
(【0011】以降は省略されています)
この特許をJ-PlatPat(特許庁公式サイト)で参照する
関連特許
トヨタ自動車株式会社
車両
11日前
トヨタ自動車株式会社
電池
2日前
トヨタ自動車株式会社
方法
23日前
トヨタ自動車株式会社
電池
11日前
トヨタ自動車株式会社
治具
18日前
トヨタ自動車株式会社
車両
23日前
トヨタ自動車株式会社
車両
17日前
トヨタ自動車株式会社
電池
23日前
トヨタ自動車株式会社
車両
10日前
トヨタ自動車株式会社
車体
10日前
トヨタ自動車株式会社
車両
19日前
トヨタ自動車株式会社
車両
17日前
トヨタ自動車株式会社
方法
24日前
トヨタ自動車株式会社
車両
24日前
トヨタ自動車株式会社
方法
24日前
トヨタ自動車株式会社
車両
10日前
トヨタ自動車株式会社
方法
10日前
トヨタ自動車株式会社
蓄電池
10日前
トヨタ自動車株式会社
モータ
20日前
トヨタ自動車株式会社
正極層
23日前
トヨタ自動車株式会社
電動機
23日前
トヨタ自動車株式会社
モータ
9日前
トヨタ自動車株式会社
サーバ
20日前
トヨタ自動車株式会社
電動車両
9日前
トヨタ自動車株式会社
路側装置
9日前
トヨタ自動車株式会社
電動車両
10日前
トヨタ自動車株式会社
路側装置
9日前
トヨタ自動車株式会社
蓄電装置
17日前
トヨタ自動車株式会社
固体電池
20日前
トヨタ自動車株式会社
路側装置
9日前
トヨタ自動車株式会社
塗工装置
23日前
トヨタ自動車株式会社
路側装置
9日前
トヨタ自動車株式会社
路側装置
23日前
トヨタ自動車株式会社
蓄電装置
17日前
トヨタ自動車株式会社
通知装置
23日前
トヨタ自動車株式会社
推定装置
9日前
続きを見る
他の特許を見る