TOP
|
特許
|
意匠
|
商標
特許ウォッチ
Twitter
他の特許を見る
公開番号
2025145845
公報種別
公開特許公報(A)
公開日
2025-10-03
出願番号
2024046303
出願日
2024-03-22
発明の名称
蓄電セル
出願人
トヨタ自動車株式会社
,
トヨタバッテリー株式会社
代理人
弁理士法人深見特許事務所
主分類
H01M
50/242 20210101AFI20250926BHJP(基本的電気素子)
要約
【課題】セルケースに対するセルユニットの相対変位を抑制することが可能な蓄電セルを提供すること。
【解決手段】蓄電セル1は、少なくとも1つのセルユニット101,102と、少なくとも1つのセルユニットを収容するセルケース300と、を備える。セルケースは、上方に開口するケース本体310と、ケース本体の開口を閉塞するようにケース本体に接続された蓋320と、を有する。ケース本体310は、少なくとも1つのセルユニットの下方に位置する底壁312を有する。蓋320は、少なくとも1つのセルユニットを底壁に向けて押し付ける押付け部324を含む。
【選択図】図3
特許請求の範囲
【請求項1】
少なくとも1つのセルユニットと、
前記少なくとも1つのセルユニットを収容するセルケースと、を備え、
前記セルケースは、
上方に開口するケース本体と、
前記ケース本体の開口を閉塞するように前記ケース本体に接続された蓋と、を有し、
前記ケース本体は、前記少なくとも1つのセルユニットの下方に位置する底壁を有し、
前記蓋は、前記少なくとも1つのセルユニットを前記底壁に向けて押し付ける押付け部を含み、
前記押付け部は、前記少なくとも1つのセルユニットに向けて窪む形状を有している、蓄電セル。
続きを表示(約 600 文字)
【請求項2】
前記少なくとも1つのセルユニットは、
第1セルユニットと、
前記第1セルユニットに隣接するように配置された第2セルユニットと、を含み、
前記第1セルユニット及び前記第2セルユニットの各々は、
少なくとも1つの電極体と、
前記少なくとも1つの電極体を被覆するラミネート外装体と、を含み、
前記第1セルユニット及び前記第2セルユニットは、前記電極体の積層方向に互いに隣接しており、
前記押付け部は、前記第1セルユニット及び前記第2セルユニットの双方を前記底壁に向けて押し付けている、請求項1に記載の蓄電セル。
【請求項3】
前記セルケースに前記第1セルユニット及び前記第2セルユニットを固定する接着部材をさらに備え、
前記電極体は、巻回体で構成されており、
前記第1セルユニット及び前記第2セルユニットは、前記電極体の中心軸が前記底壁と前記蓋とを結ぶ方向と直交する姿勢で前記セルケースに収容されており、
前記接着部材は、前記第1セルユニット及び前記第2セルユニットの双方と前記押付け部との間に設けられている、請求項2に記載の蓄電セル。
【請求項4】
前記接着部材は、前記第1セルユニット及び前記第2セルユニット間に入り込む中間接着部を有している、請求項3に記載の蓄電セル。
発明の詳細な説明
【技術分野】
【0001】
本開示は、蓄電セルに関する。
続きを表示(約 1,100 文字)
【背景技術】
【0002】
例えば、特表2023-509216号公報には、複数の電極体セットと、複数の電極体セットを収容するケースと、を備える電池が開示されている。複数の電極体セットは、第1の接続部材によって互いに直列接続されている。
【先行技術文献】
【特許文献】
【0003】
特表2023-509216号公報
【発明の概要】
【発明が解決しようとする課題】
【0004】
特表2023-509216号公報に記載される電池では、振動等に起因してケースに対して電極体セットが相対変位する場合がある。
【0005】
本開示の目的は、セルケースに対するセルユニットの相対変位を抑制することが可能な蓄電セルを提供することである。
【課題を解決するための手段】
【0006】
本開示の一局面に従った蓄電セルは、少なくとも1つのセルユニットと、前記少なくとも1つのセルユニットを収容するセルケースと、を備え、前記セルケースは、上方に開口するケース本体と、前記ケース本体の開口を閉塞するように前記ケース本体に接続された蓋と、を有し、前記ケース本体は、前記少なくとも1つのセルユニットの下方に位置する底壁を有し、前記蓋は、前記少なくとも1つのセルユニットを前記底壁に向けて押し付ける押付け部を含み、前記押付け部は、前記少なくとも1つのセルユニットに向けて窪む形状を有している。
【発明の効果】
【0007】
本開示によれば、セルケースに対するセルユニットの相対変位を抑制することが可能な蓄電セルを提供することができる。
【図面の簡単な説明】
【0008】
本開示の一実施形態における蓄電セルを概略的に示す斜視図である。
蓄電セルの正面図である。
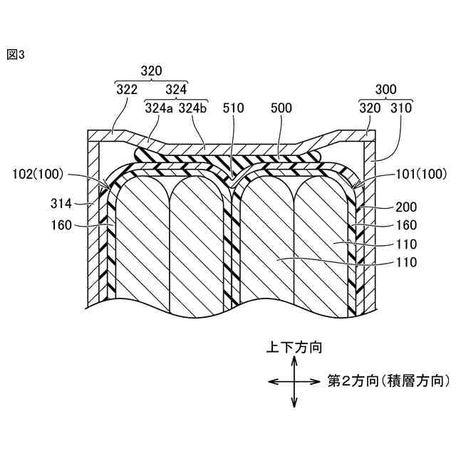
図2におけるIII-III線での断面図である。
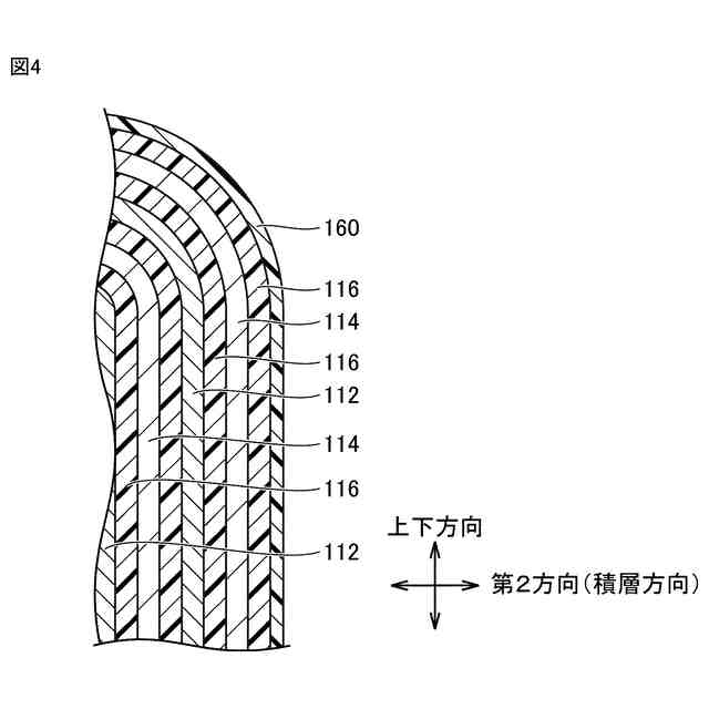
電極体を概略的に示す断面図である。
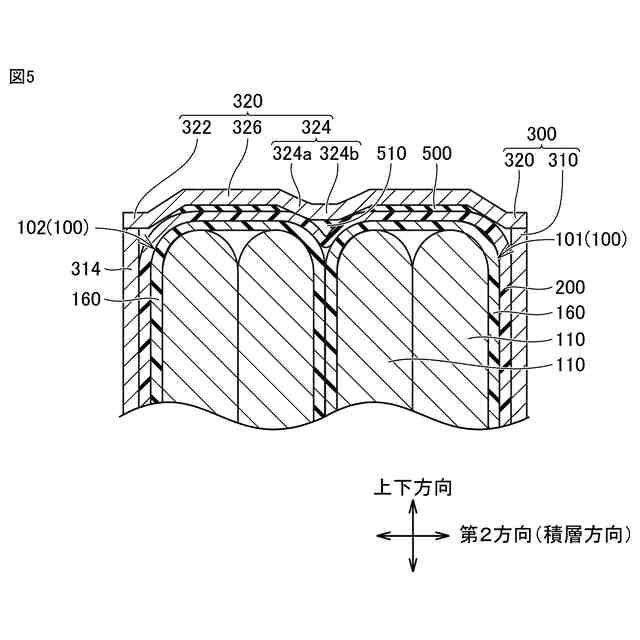
蓋の変形例を概略的に示す断面図である。
蓋の変形例を概略的に示す断面図である。
【発明を実施するための形態】
【0009】
本開示の実施形態について、図面を参照して説明する。なお、以下で参照する図面では、同一又はそれに相当する部材には、同じ番号が付されている。
【0010】
図1は、本開示の一実施形態における蓄電セルを概略的に示す斜視図である。図2は、蓄電セルの正面図である。図3は、図2におけるIII-III線での断面図である。図4は、電極体を概略的に示す断面図である。この蓄電セル1は、例えば、車両の底部に搭載される。
(【0011】以降は省略されています)
この特許をJ-PlatPat(特許庁公式サイト)で参照する
関連特許
トヨタ自動車株式会社
車両
5日前
トヨタ自動車株式会社
電池
5日前
トヨタ自動車株式会社
車両
1日前
トヨタ自動車株式会社
車両
1日前
トヨタ自動車株式会社
電解液
1日前
トヨタ自動車株式会社
電動車
1日前
トヨタ自動車株式会社
電動車
1日前
トヨタ自動車株式会社
電動車
1日前
トヨタ自動車株式会社
サーバ
9日前
トヨタ自動車株式会社
ロータ
3日前
トヨタ自動車株式会社
電動車
3日前
トヨタ自動車株式会社
電動車
15日前
トヨタ自動車株式会社
回転子
1日前
トヨタ自動車株式会社
蓄電装置
3日前
トヨタ自動車株式会社
内燃機関
15日前
トヨタ自動車株式会社
塗布装置
3日前
トヨタ自動車株式会社
電源装置
1日前
トヨタ自動車株式会社
制御装置
15日前
トヨタ自動車株式会社
検査装置
5日前
トヨタ自動車株式会社
蓄電装置
5日前
トヨタ自動車株式会社
蓄電装置
9日前
トヨタ自動車株式会社
蓄電装置
1日前
トヨタ自動車株式会社
蓄電セル
3日前
トヨタ自動車株式会社
蓄電装置
15日前
トヨタ自動車株式会社
駆動装置
1日前
トヨタ自動車株式会社
蓄電セル
3日前
トヨタ自動車株式会社
電動車両
1日前
トヨタ自動車株式会社
蓄電装置
5日前
トヨタ自動車株式会社
制御装置
1日前
トヨタ自動車株式会社
育苗装置
2日前
トヨタ自動車株式会社
蓄電装置
5日前
トヨタ自動車株式会社
二次電池
5日前
トヨタ自動車株式会社
電動車両
15日前
トヨタ自動車株式会社
電動車両
15日前
トヨタ自動車株式会社
蓄電装置
5日前
トヨタ自動車株式会社
制御装置
5日前
続きを見る
他の特許を見る