TOP
|
特許
|
意匠
|
商標
特許ウォッチ
Twitter
他の特許を見る
公開番号
2025139856
公報種別
公開特許公報(A)
公開日
2025-09-29
出願番号
2024038920
出願日
2024-03-13
発明の名称
蓄電装置
出願人
トヨタ自動車株式会社
代理人
弁理士法人深見特許事務所
主分類
H01M
10/6551 20140101AFI20250919BHJP(基本的電気素子)
要約
【課題】ケースの接触面を介した一の蓄電セルから隣接する蓄電セルへ熱伝導を抑制することが可能な蓄電装置を提供すること。
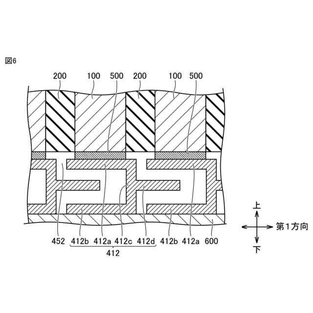
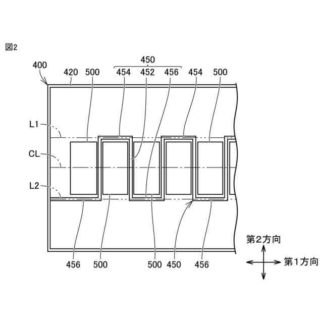
【解決手段】蓄電装置は、複数の蓄電セル100と、ケースと、複数の熱伝導材500と、を備える。ケースは、接触面410を含む。接触面410は、複数の接触部412と、熱抵抗部450と、を有する。熱抵抗部450は、接触面のうち互いに隣接する一対の接触部間を通り、かつ、接触面内において第1方向と交差する第2方向に延びる中間部452と、第1方向における一方側から他方側に向かって奇数番目に配置された中間部と、当該中間部の次に配置された中間部と、を連結する第1連結部454と、第1方向における一方側から他方側に向かって奇数番目に配置された中間部と、当該中間部の前に配置された中間部と、を連結する第2連結部456と、を含む。
【選択図】図4
特許請求の範囲
【請求項1】
第1方向に並ぶように配置された複数の蓄電セルと、
前記複数の蓄電セルを収容するケースと、
それぞれが各前記蓄電セルと前記ケースとの間に設けられた複数の熱伝導材と、を備え、
前記ケースは、前記熱伝導材を介して前記蓄電セルと接触する接触面を含み、
前記接触面は、
それぞれが各前記熱伝導材と接触する複数の接触部と、
前記接触部の熱抵抗よりも大きな熱抵抗を有する熱抵抗部と、を有し、
前記熱抵抗部は、
前記接触面のうち互いに隣接する一対の前記接触部間を通り、かつ、前記接触面内において前記第1方向と交差する第2方向に延びる中間部と、
前記第1方向における一方側から他方側に向かって奇数番目に配置された前記中間部と、当該中間部の次に配置された前記中間部と、を連結する第1連結部と、
前記第1方向における一方側から他方側に向かって奇数番目に配置された前記中間部と、当該中間部の前に配置された前記中間部と、を連結する第2連結部と、を含み、
前記第1連結部は、前記第2方向における前記接触面の中央部から前記第2方向における一方側に偏倚した位置に設けられており、かつ、互いに隣接する一対の前記中間部のうち前記第2方向における一方側の端部同士を連結しており、
前記第2連結部は、前記第2方向における前記接触面の前記中央部から前記第2方向における他方側に偏倚した位置に設けられており、かつ、互いに隣接する一対の前記中間部のうち前記第2方向における他方側の端部同士を連結している、蓄電装置。
続きを表示(約 560 文字)
【請求項2】
前記中間部、前記第1連結部及び前記第2連結部は、前記接触面をその厚さ方向に貫通するスリットで構成されている、請求項1に記載の蓄電装置。
【請求項3】
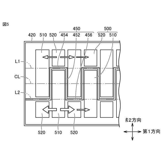
各前記熱伝導材は、互いに隣接する一対の前記中間部間で、かつ、複数の前記第1連結部同士を結ぶことにより形成される仮想的な第1直線と複数の前記第2連結部同士を結ぶことにより形成される仮想的な第2直線との間にのみ設けられている、請求項1に記載の蓄電装置。
【請求項4】
前記接触面に熱的に接触するように配置された冷却器をさらに備え、
各前記熱伝導材は、
互いに隣接する一対の前記中間部間に設けられた中央要素と、
前記第2方向における前記第1連結部の外側、又は、前記第2方向における前記第2連結部の外側に設けられた外側要素と、を含み、
前記第2方向における前記外側要素の長さは、前記第2方向における前記中央要素の長さよりも小さい、請求項1に記載の蓄電装置。
【請求項5】
それぞれが互いに隣接する一対の前記蓄電セル間に配置された複数の断熱材をさらに備え、
前記断熱材は、前記中間部と対向し、かつ、前記中間部から離間した位置に配置されている、請求項1に記載の蓄電装置。
発明の詳細な説明
【技術分野】
【0001】
本開示は、蓄電装置に関する。
続きを表示(約 1,600 文字)
【背景技術】
【0002】
特開2023-149291号公報には、複数の蓄電素子と、外装体と、を備える蓄電装置が開示されている。外装体は、底壁と、一対の側壁と、底壁と一体化された壁部と、を有している。一対の側壁は、複数の蓄電素子の並び方向及び上下方向の双方と直交する方向に互いに対向している。壁部は、互いに隣接する一対の蓄電素子間に設けられている。壁部は、各側壁から離間している。
【0003】
このため、いずれかの蓄電素子が過熱した場合でも、当該蓄電素子と隣り合う壁部を介して側壁に熱が伝わるのが抑制されるため、側壁を介して他の蓄電素子に熱が移動することが抑制されている。
【先行技術文献】
【特許文献】
【0004】
特開2023-149291号公報
【発明の概要】
【発明が解決しようとする課題】
【0005】
特開2023-149291号公報に記載される蓄電装置では、いずれかの蓄電素子が発熱した場合、この熱は、底壁のうち壁部と側壁との間の部位(凹部)を介して隣接する蓄電素子に伝わる懸念がある。
【0006】
本開示の目的は、ケースの接触面を介した一の蓄電セルから隣接する蓄電セルへ熱伝導を抑制することが可能な蓄電装置を提供することである。
【課題を解決するための手段】
【0007】
本開示の一局面に従った蓄電装置は、第1方向に並ぶように配置された複数の蓄電セルと、前記複数の蓄電セルを収容するケースと、それぞれが各前記蓄電セルと前記ケースとの間に設けられた複数の熱伝導材と、を備え、前記ケースは、前記熱伝導材を介して前記蓄電セルと接触する接触面を含み、前記接触面は、それぞれが各前記熱伝導材と接触する複数の接触部と、前記接触部の熱抵抗よりも大きな熱抵抗を有する熱抵抗部と、を有し、前記熱抵抗部は、前記接触面のうち互いに隣接する一対の前記接触部間を通り、かつ、前記接触面内において前記第1方向と交差する第2方向に延びる中間部と、前記第1方向における一方側から他方側に向かって奇数番目に配置された前記中間部と、当該中間部の次に配置された前記中間部と、を連結する第1連結部と、前記第1方向における一方側から他方側に向かって奇数番目に配置された前記中間部と、当該中間部の前に配置された前記中間部と、を連結する第2連結部と、を含み、前記第1連結部は、前記第2方向における前記接触面の中央部から前記第2方向における一方側に偏倚した位置に設けられており、かつ、互いに隣接する一対の前記中間部のうち前記第2方向における一方側の端部同士を連結しており、前記第2連結部は、前記第2方向における前記接触面の前記中央部から前記第2方向における他方側に偏倚した位置に設けられており、かつ、互いに隣接する一対の前記中間部のうち前記第2方向における他方側の端部同士を連結している。
【発明の効果】
【0008】
本開示によれば、ケースの接触面を介した一の蓄電セルから隣接する蓄電セルへ熱伝導を抑制することが可能な蓄電装置を提供することができる。
【図面の簡単な説明】
【0009】
本開示の一実施形態における蓄電装置を概略的に示す平面図である。
ケース及び熱伝導材を概略的に示す平面図である。
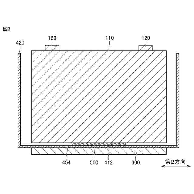
図1におけるIII-III線での断面図である。
図1におけるIV-IV線での断面図である。
熱伝導材の変形例を概略的に示す断面図である。
ケースの接触部の変形例を概略的に示す断面図である。
【発明を実施するための形態】
【0010】
本開示の実施形態について、図面を参照して説明する。なお、以下で参照する図面では、同一またはそれに相当する部材には、同じ番号が付されている。
(【0011】以降は省略されています)
この特許をJ-PlatPat(特許庁公式サイト)で参照する
関連特許
トヨタ自動車株式会社
車両
2日前
トヨタ自動車株式会社
車両
6日前
トヨタ自動車株式会社
車両
2日前
トヨタ自動車株式会社
車両
1か月前
トヨタ自動車株式会社
方法
1か月前
トヨタ自動車株式会社
車両
1か月前
トヨタ自動車株式会社
車両
25日前
トヨタ自動車株式会社
車両
1か月前
トヨタ自動車株式会社
車両
16日前
トヨタ自動車株式会社
装置
26日前
トヨタ自動車株式会社
装置
26日前
トヨタ自動車株式会社
電池
1か月前
トヨタ自動車株式会社
車両
27日前
トヨタ自動車株式会社
電池
6日前
トヨタ自動車株式会社
回転子
2日前
トヨタ自動車株式会社
モータ
17日前
トヨタ自動車株式会社
電解液
2日前
トヨタ自動車株式会社
サーバ
10日前
トヨタ自動車株式会社
電動車
16日前
トヨタ自動車株式会社
回転子
17日前
トヨタ自動車株式会社
電動車
4日前
トヨタ自動車株式会社
電動車
2日前
トヨタ自動車株式会社
ロータ
4日前
トヨタ自動車株式会社
電動車
2日前
トヨタ自動車株式会社
電動車
2日前
トヨタ自動車株式会社
塗布装置
4日前
トヨタ自動車株式会社
蓄電装置
6日前
トヨタ自動車株式会社
送電装置
1か月前
トヨタ自動車株式会社
加熱装置
16日前
トヨタ自動車株式会社
電動車両
2日前
トヨタ自動車株式会社
駆動装置
24日前
トヨタ自動車株式会社
制御装置
2日前
トヨタ自動車株式会社
制御装置
1か月前
トヨタ自動車株式会社
電源装置
1か月前
トヨタ自動車株式会社
表示装置
18日前
トヨタ自動車株式会社
通信装置
1か月前
続きを見る
他の特許を見る