TOP
|
特許
|
意匠
|
商標
特許ウォッチ
Twitter
他の特許を見る
10個以上の画像は省略されています。
公開番号
2025130758
公報種別
公開特許公報(A)
公開日
2025-09-09
出願番号
2024028020
出願日
2024-02-28
発明の名称
装置
出願人
トヨタ自動車株式会社
代理人
弁理士法人明成国際特許事務所
主分類
B62D
65/18 20060101AFI20250902BHJP(鉄道以外の路面車両)
要約
【課題】無人運転によって搬送される移動体に組み付けられる部品が不具合を有する場合に、組み付けを適切に実行することができる技術を提供する。
【解決手段】装置は、製造ラインを無人運転によって移動する1以上の移動体のうち、複数の部品が流れる部品ラインから退避された不具合部品が組み付けられる対応移動体を特定する特定部であって、部品ラインは、移動体への部品の組み付けを実行するための組み付けエリアにて製造ラインと合流する、特定部と、対応移動体を無人運転によって製造ラインから退避させるための退避指示と、対応移動体の組み付けをスキップするためのスキップ指示と、の少なくとも一方を発行する指示部とを備える。
【選択図】図4
特許請求の範囲
【請求項1】
製造ラインを無人運転によって移動する1以上の移動体のうち、複数の部品が流れる部品ラインから退避された不具合部品が組み付けられる対応移動体を特定する特定部であって、前記部品ラインは、前記移動体への前記部品の組み付けを実行するための組み付けエリアにて前記製造ラインと合流する、特定部と、
前記対応移動体を前記無人運転によって前記製造ラインから退避させるための退避指示と、前記対応移動体の前記組み付けをスキップするためのスキップ指示と、の少なくとも一方を発行する指示部と、を備える、装置。
続きを表示(約 910 文字)
【請求項2】
請求項1に記載の装置であって、
前記指示部は、前記退避指示が発行された場合、
前記部品ラインを流れる各前記部品の位置を変更可能に構成された機器に対して、前記不具合部品が前記部品ラインから外れることにより発生する第1空き領域に、前記不具合部品の後続の前記部品を進入させるように指示する第1進入指示と、
前記対応移動体の後続の前記移動体である後続移動体に対して、前記対応移動体が前記製造ラインから外れることにより発生する第2空き領域に進入するように指示する第2進入指示と、を発行する、
装置。
【請求項3】
請求項2に記載の装置であって、
前記指示部は、前記第2進入指示において、前記後続移動体の減速の程度を、前記後続移動体に先行する前記移動体の減速の程度よりも小さくすることで、前記後続移動体を前記第2空き領域に進入させる、装置。
【請求項4】
請求項1から3のいずれか一項に記載の装置であって、
前記指示部は、
退避された前記不具合部品が有する不具合を修理するための指示を発行し、
前記不具合の修理が完了した場合に、
前記修理が完了した前記部品である修理済み部品を前記部品ラインへ進入させることが可能に構成された機器に対して、前記修理済み部品を前記部品ラインへ進入させるための指示と、
前記退避指示によって退避された前記対応移動体を、前記無人運転によって前記製造ラインに進入させるための指示と、を発行する、
装置。
【請求項5】
請求項1から3のいずれか一項に記載の装置であって、
前記指示部は、
退避された前記不具合部品が有する不具合を修理するための指示を発行し、
前記不具合の修理が完了した場合に、
前記修理が完了した前記部品である修理済み部品を、前記部品ラインとは異なる機器を用いて前記対応移動体に向かって移動させるための指示と、
前記修理済み部品を前記対応移動体に組み付けるための指示と、を発行する、
装置。
発明の詳細な説明
【技術分野】
【0001】
本開示は、装置に関する。
続きを表示(約 3,300 文字)
【背景技術】
【0002】
特許文献1には、車両の製造工程において、無人運転によって車両を走行させる技術が開示されている。
【先行技術文献】
【特許文献】
【0003】
特表2017-538619号公報
【発明の概要】
【発明が解決しようとする課題】
【0004】
車両のような移動体に部品を組み付けるための組み付けエリアにおいて、移動体と部品とを合流させ、合流した移動体と部品とを組み付ける技術が知られている。ここで、無人運転によって移動体を組み付けエリアまで搬送することが考えられる。しかしながら、無人運転によって搬送される移動体に組み付けられる部品が不具合を有する場合に、組み付けを適切に実行することについては検討されていなかった。
【課題を解決するための手段】
【0005】
本開示は、以下の形態として実現することが可能である。
【0006】
(1)本開示の第1の形態によれば、装置が提供される。この装置は、製造ラインを無人運転によって移動する1以上の移動体のうち、複数の部品が流れる部品ラインから退避された不具合部品が組み付けられる対応移動体を特定する特定部であって、前記部品ラインは、前記移動体への前記部品の組み付けを実行するための組み付けエリアにて前記製造ラインと合流する、特定部と、前記対応移動体を前記無人運転によって前記製造ラインから退避させるための退避指示と、前記対応移動体の前記組み付けをスキップするためのスキップ指示と、の少なくとも一方を発行する指示部と、を備える。
この形態によれば、組み付けエリアにおいて移動体に誤った部品が組み付けられることを抑制でき、組み付けエリアにおける組み付けを適切に実行できる。
(2)上記形態では、前記指示部は、前記退避指示が発行された場合、前記部品ラインを流れる各前記部品の位置を変更可能に構成された機器に対して、前記不具合部品が前記部品ラインから外れることにより発生する第1空き領域に、前記不具合部品の後続の前記部品を進入させるように指示する第1進入指示と、前記対応移動体の後続の前記移動体である後続移動体に対して、前記対応移動体が前記製造ラインから外れることにより発生する第2空き領域に進入するように指示する第2進入指示と、を発行してもよい。この形態によれば、部品ラインにおいて各部品を効率的に移動させることができ、かつ、製造ラインにおいて各移動体を効率的に移動させることができるので、組み付けエリアにおいて、より効率的に組み付けを実行できる。
(3)上記形態では、前記指示部は、前記第2進入指示において、前記後続移動体の減速の程度を、前記後続移動体に先行する前記移動体の減速の程度よりも小さくすることで、前記後続移動体を前記第2空き領域に進入させてもよい。この形態によれば、後続移動体をより加速させることによって空き領域に進入させる場合と比較して、製造ラインにおける組み付けエリアよりも上流で実行される作業工程に、移動体の速度が大きいことによる影響が及ぶことを抑制できる。
(4)上記形態では、前記指示部は、退避された前記不具合部品が有する不具合を修理するための指示を発行し、前記不具合の修理が完了した場合に、前記修理が完了した前記部品である修理済み部品を前記部品ラインへ進入させることが可能に構成された機器に対して、前記修理済み部品を前記部品ラインへ進入させるための指示と、前記退避指示によって退避された前記対応移動体を、前記無人運転によって前記製造ラインに進入させるための指示と、を発行してもよい。この形態によれば、手作業によることなく、部品ラインに修理済み部品を復帰させ、製造ラインに対応移動体を復帰させることができる。
(5)上記形態では、前記指示部は、退避された前記不具合部品が有する不具合を修理するための指示を発行し、前記不具合の修理が完了した場合に、前記修理が完了した前記部品である修理済み部品を、前記部品ラインとは異なる機器を用いて前記対応移動体に向かって移動させるための指示と、前記修理済み部品を前記対応移動体に組み付けるための指示と、を発行してもよい。この形態によれば、修理済み部品を再び部品ラインに進入させることなく、対応移動体に修理済み部品を組み付けることができる。
本開示は、上述した装置としての形態以外にも、例えば、移動体や、システムや、移動体の製造方法や、移動体の制御方法や、プログラムや、プログラムが記録された一時的でない記録媒体や、プログラム製品などの形態で実現することができる。なお、当該プログラム製品は、例えば、プログラムが記録された記録媒体として提供されてもよいし、ネットワークを介して配信可能なプログラム製品として提供されてもよい。
【図面の簡単な説明】
【0007】
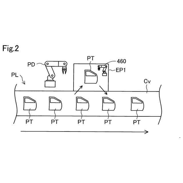
第1実施形態におけるシステムの構成を示す概念図。
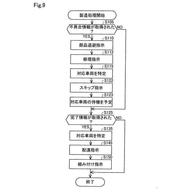
部品退避および部品復帰を説明する概念図。
各車両と各部品との対応関係を説明する概念図。
システムの構成を示すブロック図。
第1実施形態における車両の走行制御の処理手順を示すフローチャート。
第1実施形態における製造処理のフローチャート。
第1実施形態における製造処理の例を説明する図。
第2実施形態におけるシステムの構成を示すブロック図。
第2実施形態における製造処理のフローチャート。
第2実施形態における製造処理の例を説明する図。
第3実施形態におけるシステムの構成を示すブロック図。
第3実施形態における車両の走行制御の処理手順を示すフローチャート。
【発明を実施するための形態】
【0008】
A.第1実施形態:
図1は、第1実施形態におけるシステム50の構成を示す概念図である。システム50は、移動体としての1以上の車両100と、サーバ200と、1以上の外部センサ300とを備える。第1実施形態におけるサーバ200は、本開示での「装置」に相当する。
【0009】
本開示において、「移動体」は、移動し得る物体を意味し、例えば、車両や電動垂直離着陸機(いわゆる空飛ぶ自動車)である。車両は、車輪によって走行する車両であっても無限軌道によって走行する車両であってもよく、例えば、乗用車、トラック、バス、二輪車、四輪車、戦車、工事用車両などである。車両は、電気自動車(BEV:Battery Electric Vehicle)、ガソリン自動車、ハイブリッド自動車、ならびに燃料電池自動車を含む。移動体が車両以外である場合には、本開示における「車両」「車」との表現を、適宜に「移動体」に置き換えることができ、「走行」との表現を、適宜に「移動」に置き換えることができる。
【0010】
車両100は、無人運転により走行可能に構成されている。「無人運転」とは、搭乗者の走行操作によらない運転を意味する。走行操作とは、車両100の「走る」、「曲がる」、「止まる」の少なくともいずれかに関する操作を意味する。無人運転は、車両100の外部に位置する装置を用いた自動または手動の遠隔制御によって、あるいは、車両100の自律制御によって実現される。無人運転によって走行している車両100には、走行操作を行わない搭乗者が搭乗していてもよい。走行操作を行わない搭乗者には、例えば、単に車両100の座席に着座している人や、組み付け、検査、スイッチ類の操作といった走行操作とは異なる作業を車両100に乗りながら行っている人が含まれる。なお、搭乗者の走行操作による運転は、「有人運転」と呼ばれることがある。
(【0011】以降は省略されています)
この特許をJ-PlatPat(特許庁公式サイト)で参照する
関連特許
トヨタ自動車株式会社
車両
2日前
トヨタ自動車株式会社
車両
2日前
トヨタ自動車株式会社
車両
16日前
トヨタ自動車株式会社
電池
6日前
トヨタ自動車株式会社
車両
6日前
トヨタ自動車株式会社
ロータ
4日前
トヨタ自動車株式会社
電解液
2日前
トヨタ自動車株式会社
回転子
17日前
トヨタ自動車株式会社
サーバ
10日前
トヨタ自動車株式会社
電動車
4日前
トヨタ自動車株式会社
電動車
16日前
トヨタ自動車株式会社
電動車
2日前
トヨタ自動車株式会社
電動車
2日前
トヨタ自動車株式会社
電動車
2日前
トヨタ自動車株式会社
回転子
2日前
トヨタ自動車株式会社
モータ
17日前
トヨタ自動車株式会社
塗布装置
4日前
トヨタ自動車株式会社
蓄電装置
4日前
トヨタ自動車株式会社
蓄電装置
6日前
トヨタ自動車株式会社
蓄電セル
4日前
トヨタ自動車株式会社
加熱装置
16日前
トヨタ自動車株式会社
駆動装置
2日前
トヨタ自動車株式会社
蓄電セル
4日前
トヨタ自動車株式会社
表示装置
18日前
トヨタ自動車株式会社
蓄電装置
2日前
トヨタ自動車株式会社
制御装置
2日前
トヨタ自動車株式会社
制御装置
6日前
トヨタ自動車株式会社
蓄電装置
6日前
トヨタ自動車株式会社
育苗装置
3日前
トヨタ自動車株式会社
蓄電装置
3日前
トヨタ自動車株式会社
蓄電装置
3日前
トヨタ自動車株式会社
冷却構造
9日前
トヨタ自動車株式会社
蓄電装置
16日前
トヨタ自動車株式会社
蓄電装置
16日前
トヨタ自動車株式会社
蓄電装置
10日前
トヨタ自動車株式会社
電動車両
2日前
続きを見る
他の特許を見る