TOP
|
特許
|
意匠
|
商標
特許ウォッチ
Twitter
他の特許を見る
10個以上の画像は省略されています。
公開番号
2025145800
公報種別
公開特許公報(A)
公開日
2025-10-03
出願番号
2024046225
出願日
2024-03-22
発明の名称
エネルギー水中移送システム
出願人
トヨタ自動車株式会社
代理人
個人
,
個人
,
個人
主分類
B63B
27/30 20060101AFI20250926BHJP(船舶またはその他の水上浮揚構造物;関連艤装品)
要約
【課題】本発明は、自由度が高く、かつ、安定したエネルギー移送を実現する、エネルギー水中移送システムを提供する。
【解決手段】エネルギー水中移送システム1は、装着制御部410と航行制御部420とを有する。装着制御部410は、第2位置200Pに用意された、空タンクSTeを、水中航行体300に装着させる空タンク装着部と、水中航行体300が第1位置100Pに到着すると、水中航行体300から空タンクSTeを解放させて、水中航行体300に充填タンクSTfを装着させる充填タンク装着部とを、含む。航行体制御部420は、空タンクSTeが装着された水中航行体300を第1位置100Pへ航行させる第1航行部と、充填タンクSTfが装着された水中航行体300を第2位置200Pへ航行させる第2航行部と、を含む。
【選択図】図1
特許請求の範囲
【請求項1】
所定のエネルギーが充填されたストレージタンクである充填ストレージタンクが回収を待機する第1位置と、前記充填ストレージタンクの回収先である第2位置との間で、前記ストレージタンクを脱着可能なタンク装着部を備えた水中航行体によって、前記ストレージタンクを、移動させるエネルギー水中移送システムであって、
前記タンク装着部の動作を制御する装着制御部と、
前記水中航行体を水中で航行させる航行制御部と、を有し、、
前記装着制御部は、前記第2位置に用意された、前記エネルギーが充填される前の前記ストレージタンクである空ストレージタンクを、前記タンク装着部に装着させる空タンク装着部と、前記水中航行体が前記第1位置に到着すると、前記タンク装着部から前記空ストレージタンクを解放させて、前記タンク装着部に前記充填ストレージタンクを装着させる充填タンク装着部とを含み、
前記航行制御部は、前記空ストレージタンクが装着された前記水中航行体を前記第1位置へ航行させる第1航行部と、前記充填ストレージタンクが装着された前記水中航行体を前記第2位置へ航行させる第2航行部とを含む、
エネルギー水中移送システム。
続きを表示(約 630 文字)
【請求項2】
前記第1位置は、水面上に浮かび、風力に基づいて電気エネルギーを得て前記電気エネルギーを所定の態様で前記ストレージタンクに充填する浮体に対応する位置であり、
前記第2位置は、前記ストレージタンクを輸送する輸送船に対応する位置である、請求項1に記載のエネルギー水中移送システム。
【請求項3】
前記浮体及び前記輸送船の少なくとも一方は、水中に延びて、前記水中航行体を引き上げる引き上げ用ジョイントを備え、
前記引き上げ用ジョイントは、前記水中航行体が接続される航行体接続部を有し、
前記水中航行体が前記引き上げ用ジョイントの前記航行体接続部に接続されると、前記水中航行体を引き上げる引き上げ制御部を有する、
請求項2に記載のエネルギー水中移送システム。
【請求項4】
前記水中航行体は、前記輸送船及び前記浮体の少なくとも一方と水中無線通信が可能な通信部を更に有し、前記航行制御部は、前記通信部が受信した情報に基づいて、前記水中航行体を航行させる、請求項2または3に記載のエネルギー水中移送システム。
【請求項5】
前記航行制御部は、前記空ストレージタンクが前記タンク装着部から解放されると、前記通信部が受信した情報に基づいて、前記空ストレージタンクから前記充填ストレージタンクへ、前記水中航行体を移動させる、請求項4に記載のエネルギー水中移送システム。
発明の詳細な説明
【技術分野】
【0001】
本発明は、再生可能エネルギーを利用して発電された電気エネルギーを移送するエネルギー移送システムに関する。
続きを表示(約 2,800 文字)
【背景技術】
【0002】
海中でのエネルギーを移送する方法として、エネルギー供給側と需要側との間を、水面下において送油ホースで繋ぎ、送油ホースによって送油する方法が知られている(例えば、特許文献1参照)。
【先行技術文献】
【特許文献】
【0003】
特開平10-278874号公報
【発明の概要】
【発明が解決しようとする課題】
【0004】
しかしながら、上記移送方法では、エネルギー供給側と需要側との位置関係が、送油ホースによって制限されるため、自由度が低い。また、水素を吸蔵させた水素吸蔵合金など、重量の重い固体の態様でエネルギーを移送する場合は想定されていない等、各種の技術的問題がある。
【0005】
本発明は、自由度が高く、かつ、安定したエネルギー移送を実現する、エネルギー水中移送システムを提供することを課題とする。
【課題を解決するための手段】
【0006】
本発明の一形態としてのエネルギー水中移送システムは、所定のエネルギーが充填されたストレージタンクである充填ストレージタンクが回収を待機する第1位置と、前記充填ストレージタンクの回収先である第2位置との間で、前記ストレージタンクを脱着可能なタンク装着部を備えた水中航行体によって、前記ストレージタンクを、移動させるエネルギー水中移送システムであって、前記タンク装着部の動作を制御する装着制御部と、前記水中航行体を水中で航行させる航行制御部と、を有し、前記装着制御部は、前記第2位置に用意された、前記エネルギーが充填される前の前記ストレージタンクである空ストレージタンクを、前記タンク装着部に装着させる空タンク装着部と、前記水中航行体が前記第1位置に到着すると、前記タンク装着部から前記空ストレージタンクを解放させて、前記タンク装着部に前記充填ストレージタンクを装着させる充填タンク装着部とを含み、前記航行制御部は、前記空ストレージタンクが装着された前記水中航行体を前記第1位置へ航行させる第1航行部と、前記充填ストレージタンクが装着された前記水中航行体を前記第2位置へ航行させる第2航行部とを含む。
【発明の効果】
【0007】
本発明の一形態に係るエネルギー水中移送システムは、第1航行部によって、空ストレージタンクが装着された水中航行体を、充填ストレージタンクが回収を待つ第1位置まで航行させることができる。そして、第1位置では、充填タンク装着部によって、水中航行体に、空ストレージタンクの代わりに充填ストレージタンクを装着させることができる。更に、第2航行部によって、充填ストレージタンクが装着された水中航行体を、充填ストレージタンクの回収先である第2位置まで航行させることができる。このように、当該エネルギー水中移送システムにおいては、水中を航行する水中航行体によって、ストレージタンクは運ばれる。従って、回収される充填ストレージタンクの第1位置と、充填ストレージタンクの回収先の第2位置との距離、及び、各位置の設定の自由度が高い。また、ストレージタンクは、水中を運ばれる。従って、浮力を利用できるとともに、水面上の環境(例えば、風や波)の影響を受けずに、安定したエネルギー移送を実現することができる。従って、本発明は、自由度が高く、かつ、安定したエネルギー移送を実現する、エネルギー水中移送システムを提供することができる。
【図面の簡単な説明】
【0008】
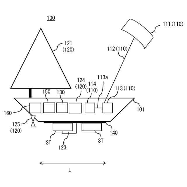
エネルギー水中移送システムの一例の概略構成図。
図1に示される発電浮体の一例の概略構成図。
図1に示される輸送船の一例の概略構成図。
図1に示される水中航行体の形状の一例を示す図。
図1に示される水中航行体の形状の他の例を示す図。
図1に示される水中航行体の一例の概略構成図。
タンク移送処理の一例を示すフローチャート。
タンク移送処理におけるタンク交換処理を説明する説明図。
第2実施形態における水中航行体の側面図。
第2実施形態における水中航行体の上面図。
第2実施形態における発電浮体の一例の概略構成図。
引き出しジョイントに接近する水中航行体を示す図。
引き出しジョイントと水中航行体とが接続された状態を示す図。
引き出しジョイントによって引き上げられる水中航行体を示す図。
発電浮体に引き上げられた水中航行体を示す図。
【発明を実施するための形態】
【0009】
1.第1実施形態
まず、本発明に係るエネルギー水中移送システム1の概要は、図1を用いて説明される。エネルギー水中移送システム1は、水中における第1位置100Pと水中における第2位置200Pとの間で、水中航行体300によって、ストレージタンクSTを水中移動させるように構成されている。ストレージタンクSTは、所定のエネルギーが所定の態様で充填されるタンクでよい。充填されるエネルギーの種類は、電気エネルギー、化学エネルギー、光エネルギー等、いずれでもよい。充填されるエネルギーの態様は、用途や需要に応じて適宜採用されてよい。以下、エネルギーが充填されたストレージタンクSTを、「充填タンクSTf」という。なお、充填タンクSTfのエネルギー充填率は、回収されるべき所定の充填率でよい。また、エネルギーが充填される前、即ち、空のストレージタンクSTを、以下「空タンクSTe」という。図1において、充填タンクSTfは、斜線が付されたストレージタンクSTである。以下、「充填タンクSTf」と「空タンクSTe」とを区別する必要がない場合は、「ストレージタンクST」という。
【0010】
ストレージタンクSTには、例えば、水上に浮かぶ浮体100で発電された電気エネルギーが所定の態様で充填されてよい。浮体100では、例えば、再生可能エネルギーを利用した発電がされてよい。以下、本形態における浮体100を「発電浮体100」という。第1位置100Pは、発電浮体100に対応する位置でよい。例えば、第1位置100Pは、充填タンクSTfの回収を待機する発電浮体100の下方でよい。第2位置200Pは、充填タンクSTfの回収先として機能する輸送船200に対応する位置でよい。第2位置200Pは、例えば、輸送船200が充填タンクSTfを回収可能な位置でよい。輸送船200は、例えば、回収した充填タンクSTfを、所定の需要地まで輸送する船でよい。
(【0011】以降は省略されています)
この特許をJ-PlatPat(特許庁公式サイト)で参照する
関連特許
トヨタ自動車株式会社
車両
27日前
トヨタ自動車株式会社
車両
2日前
トヨタ自動車株式会社
車両
16日前
トヨタ自動車株式会社
車両
6日前
トヨタ自動車株式会社
車両
25日前
トヨタ自動車株式会社
車両
1か月前
トヨタ自動車株式会社
車両
1か月前
トヨタ自動車株式会社
車両
1か月前
トヨタ自動車株式会社
車両
1か月前
トヨタ自動車株式会社
電池
1か月前
トヨタ自動車株式会社
方法
1か月前
トヨタ自動車株式会社
車両
2日前
トヨタ自動車株式会社
車両
1か月前
トヨタ自動車株式会社
電池
6日前
トヨタ自動車株式会社
装置
26日前
トヨタ自動車株式会社
車両
1か月前
トヨタ自動車株式会社
電池
1か月前
トヨタ自動車株式会社
装置
26日前
トヨタ自動車株式会社
電池
1か月前
トヨタ自動車株式会社
ロータ
4日前
トヨタ自動車株式会社
電解液
2日前
トヨタ自動車株式会社
電動車
16日前
トヨタ自動車株式会社
回転子
17日前
トヨタ自動車株式会社
電動車
4日前
トヨタ自動車株式会社
サーバ
10日前
トヨタ自動車株式会社
モータ
17日前
トヨタ自動車株式会社
電動車
2日前
トヨタ自動車株式会社
回転子
2日前
トヨタ自動車株式会社
電動車
2日前
トヨタ自動車株式会社
電動車
2日前
トヨタ自動車株式会社
蓄電装置
3日前
トヨタ自動車株式会社
電動車両
25日前
トヨタ自動車株式会社
蓄電装置
3日前
トヨタ自動車株式会社
育苗装置
3日前
トヨタ自動車株式会社
駆動装置
24日前
トヨタ自動車株式会社
電動車両
25日前
続きを見る
他の特許を見る