TOP
|
特許
|
意匠
|
商標
特許ウォッチ
Twitter
他の特許を見る
公開番号
2025146669
公報種別
公開特許公報(A)
公開日
2025-10-03
出願番号
2025009112
出願日
2025-01-22
発明の名称
セキュアなCAN通信を提供するためのシステム及び方法
出願人
トヨタ自動車株式会社
代理人
個人
,
個人
,
個人
,
個人
,
個人
,
個人
,
個人
主分類
H04L
9/32 20060101AFI20250926BHJP(電気通信技術)
要約
【課題】方法の提供。
【解決手段】本開示の例示的な実施形態は、車両構成要素間でセキュアなCAN通信を提供する。実施形態によれば、提供するための方法は、送信機の少なくとも1つの処理ユニットによって、ワンタイムパスコード(OTP)を生成することと、送信機の少なくとも1つの処理ユニットによって、送信機及び受信機に事前に提供されたマスタキーを取得することと、送信機の少なくとも1つの処理ユニットによって、OTP及びマスタキーに基づいて共有キーを導出することと、送信機の少なくとも1つの処理ユニットによって、導出された共有キーに基づいてメッセージ認証コード(MAC)を生成することと、送信機の少なくとも1つの処理ユニットによって、MACをメッセージに付加することと、送信機の少なくとも1つの処理ユニットによって、CANバスを介して、付加されたメッセージを受信機に送信することと、を含み得る。
【選択図】図5
特許請求の範囲
【請求項1】
送信機及び受信機の間でセキュアなコントローラエリアネットワーク(CAN)通信を提供するための方法であって、前記方法は、
前記送信機の少なくとも1つの処理ユニットによって、ワンタイムパスコード(OTP)を生成することと、
前記送信機の前記少なくとも1つの処理ユニットによって、前記送信機及び前記受信機に事前に提供されたマスタキーを取得することと、
前記送信機の前記少なくとも1つの処理ユニットによって、前記OTP及び前記マスタキーに基づいて共有キーを導出することと、
前記送信機の前記少なくとも1つの処理ユニットによって、前記導出された共有キーに基づいてメッセージ認証コード(MAC)を生成することと、
前記送信機の前記少なくとも1つの処理ユニットによって、前記MACをメッセージに付加することと、
前記送信機の前記少なくとも1つの処理ユニットによって、CANバスを介して、前記付加されたメッセージを前記受信機に送信することと、
を含む、方法。
続きを表示(約 2,200 文字)
【請求項2】
前記OTPの前記生成は、
前記送信機の前記少なくとも1つの処理ユニットによって、前記送信機及び前記受信機に事前に提供されたマスタシードを取得することと、
前記送信機の前記少なくとも1つの処理ユニットによって、タイムスタンプを取得することと、
前記送信機の前記少なくとも1つの処理ユニットによって、前記送信機が展開される車両の地理的場所を取得することと、
前記送信機の前記少なくとも1つの処理ユニットによって、前記マスタシード、前記タイムスタンプ、及び前記地理的場所に基づいて前記OTPを生成することと、
を含む、請求項1に記載の方法。
【請求項3】
前記送信機は、第1の電子制御ユニット(ECU)であって、前記受信機は、第2のECUである、請求項1又は2に記載の方法。
【請求項4】
前記タイムスタンプは、前記車両がイグニッションオフ(IG-OFF)状態からイグニッションオン(IG-ON)状態に変わるタイミング情報に関連付けられ、前記導出された共有キーは、前記車両が前記IG-OFF状態から前記IG-ON状態に入る度に変わる固有の乱数を備える、請求項2に記載の方法。
【請求項5】
前記OTPの前記生成は、
前記送信機の前記少なくとも1つの処理ユニットによって、許容レベルに従って前記タイムスタンプを切り詰めることと、
前記送信機の前記少なくとも1つの処理ユニットによって、前記マスタシード、前記切り詰められたタイムスタンプ、及び前記地理的場所に基づいて前記OTPを生成することと、
を更に含む、請求項2又は4に記載の方法。
【請求項6】
前記メッセージは、プロトコルデータユニット(PDU)を備える、請求項1又は2に記載の方法。
【請求項7】
前記MACの前記生成は、
前記送信機の前記少なくとも1つの処理ユニットによって、カウンタ値を取得することと、
前記送信機の前記少なくとも1つの処理ユニットによって、前記導出された共有キー及び前記カウンタ値に基づいて前記MACを生成することと、
を含み、
前記メッセージに対する前記MACの前記付加は、
前記送信機の前記少なくとも1つの処理ユニットによって、前記カウンタ値及び前記MACを切り詰めることと、
前記送信機の前記少なくとも1つの処理ユニットによって、前記切り詰められたMAC及び前記切り詰められたカウンタ値を前記メッセージに付加することと、
を含む、請求項1又は2に記載の方法。
【請求項8】
前記受信機の前記少なくとも1つの処理ユニットによって、前記CANバスを介して、前記付加されたメッセージを前記送信機から受信することと、
前記受信機の前記少なくとも1つの処理ユニットによって、別のOTPを生成することと、
前記受信機の前記少なくとも1つの処理ユニットによって、前記送信機及び前記受信機に事前に提供された前記マスタキーを取得することと、
前記受信機の前記少なくとも1つの処理ユニットによって、前記別のOTP及び前記マスタキーに基づいて別の共有キーを導出することと、
前記受信機の前記少なくとも1つの処理ユニットによって、前記別の導出された共有キーに基づいて別のMACを生成することと、
前記受信機の前記少なくとも1つの処理ユニットによって、前記別のMACに基づいて、前記付加されたメッセージを確証することと、
前記受信機の前記少なくとも1つの処理ユニットによって、前記付加されたメッセージの前記確証に基づいて、前記付加されたメッセージを管理するように1つ以上の動作を実施することと、
を更に含む、請求項1又は2に記載の方法。
【請求項9】
前記付加されたメッセージの前記確証は、
前記受信機の前記少なくとも1つの処理ユニットによって、前記別のMACが、前記付加されたメッセージに含まれる前記MACと同じであるかどうかを判定することと、
前記別のMACが、前記付加されたメッセージにおける前記MACと同じであるという判定に基づいて、前記受信機の前記少なくとも1つの処理ユニットによって、前記付加されたメッセージが確証されると判定することと、
前記別のMACが、前記付加されたメッセージにおける前記MACとは異なるという判定に基づいて、前記受信機の前記少なくとも1つの処理ユニットによって、前記付加されたメッセージが確証されないと判定することと、
を含む、請求項8に記載の方法。
【請求項10】
前記1つ以上の動作の前記実施は、
前記付加されたメッセージが確証されるという判定に基づいて、前記受信機の前記少なくとも1つの処理ユニットによって、更なる利用のために、前記付加されたメッセージから前記メッセージを抽出することと、
前記付加されたメッセージが確証されないという判定に基づいて、前記受信機の前記少なくとも1つの処理ユニットによって、前記付加されたメッセージを放棄することと、
を含む、請求項9に記載の方法。
(【請求項11】以降は省略されています)
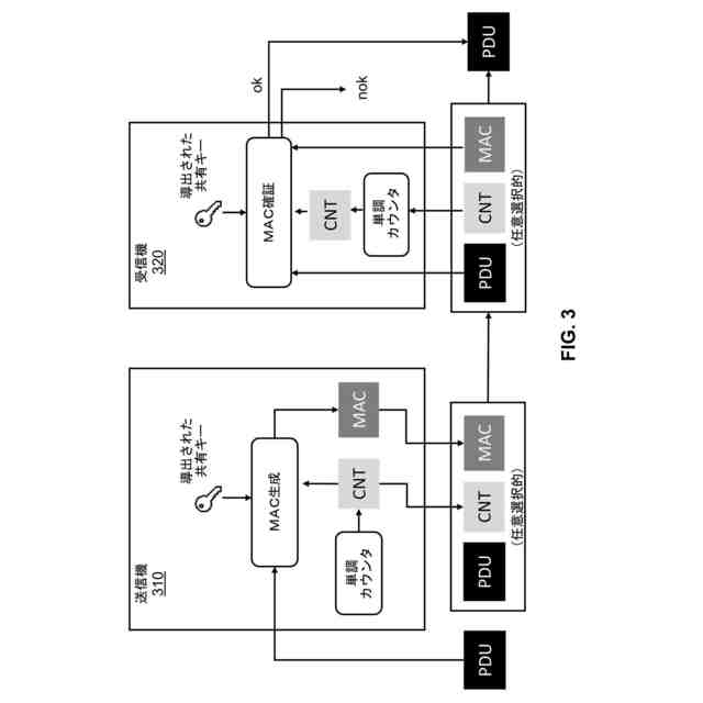
発明の詳細な説明
【技術分野】
【0001】
本開示の例示的な実施形態は、車両システムに関し、より具体的には、1つ以上の車両システムの構成要素間におけるセキュアなコントローラエリアネットワーク(CAN)通信の提供に関する。
続きを表示(約 2,500 文字)
【背景技術】
【0002】
自動車の分野では、電子制御ユニット(ECU)は、車両及びそれに関連付けられるシステム内の様々な機能を制御するための組み込みシステムとして広く使用されている。当該機能は、例えば、エンジン管理、トランスミッション制御、安定性制御、パワートレイン制御、エアバッグ制御、及び同種のものを含み得る。概して、ECUの動作は、ECU及び他の車両構成要素(例えば、他のECU、センサ、アクチュエータなど)間でデータ交換及び通信を伴う。当該データ交換及び通信は、1つ以上のバス、例えば、CANバス、イーサネットバス、及び同種のものを介して実施される。特に、CANバスは、複数のECU及びデバイスが互いにリアルタイムで通信するように高レベルの信頼性を提供するため、CANバスは、広く採用されている。
【0003】
正しく、安全で、且つ信頼できる車両機能を提供するために、ECU及び他の車両構成要素間における通信及びデータ交換のセキュリティを保証することが重要である。CANバスは、ECU及び車両構成要素間で、単純であるが効率的な通信を提供し得るが、関連付けられるプロトコルの設計及び実装において認証、機密性、及び完全性が考慮されないため、設計によってセキュアにされない。関連技術では、CANバス通信のセキュリティを向上させるために、認証及び完全性保護に対していくつかの安全機構が導入されている。例えば、自動車オープンシステムアーキテクチャ(AUTOSAR)は、CANバスネットワークにおいてECU間で通信をセキュアにするためにセキュアオンボード通信(SecOC)モジュールを提供しており、それによって、ECUによって受信されるデータが、正しいECUから生じ、正しい値を有することを保証している。
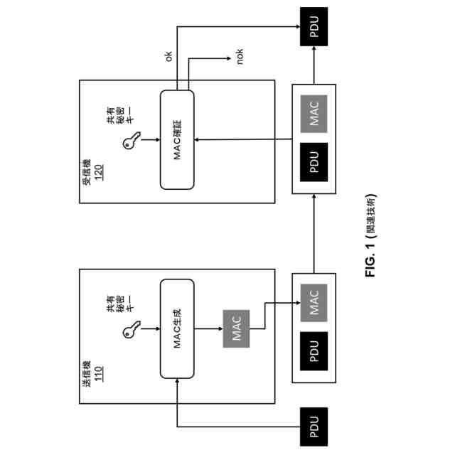
【0004】
図1を参照し、図1は、関連技術におけるSecOCモジュールの例示的な実装態様の図を示す。図1の例では、送信機110は、プロトコルデータユニット(PDU)を受信機120に送信することにより受信機120と通信するように構成されている。送信機110及び受信機120は、各々、ECUであり得、各々、静的な共有秘密キーが事前に提供され得る。
【0005】
PDUを受信機120に送信する前に、送信機110は、共有秘密キーを使用してメッセージ認証コード(MAC)を計算し、次いで、MACの情報をPDUに追加又は付加してセキュアなPDUを作成する。したがって、セキュアなPDUは、例えば、CANバスを介して受信機120に送信される。受信機120は、セキュアなPDUを受信し、同じ共有秘密キーを使用して別のMACを計算する。したがって、受信機120は、当該別のMACを利用してセキュアなPDUを確証し得る。例えば、受信機120によって計算されるMACが、セキュアなPDUに含まれた又は付加されたMACと一致する場合、それによって、受信機120は、セキュアなPDUが、信頼できる送信機によって送信されており、改竄されていないことを判定し得、その後、PDUは更に利用され得る。そうでない場合、受信機120は、MAC確証が失敗であることを判定し得、次いで、受信したPDUを拒否又は放棄し得る。
【0006】
上述のようなSecOCモジュールの実装態様は、ECU間における静的な秘密キーの事前提供及び共有を必要としていた。静的な共有秘密キーをセキュアにするために、関連技術においてハードウェアセキュリティモジュール(HSM)の利用が導入されていても、依然、特定の状況下でHSMを全く有しないECUにキーが事前に提供される必要があるため、キーが容易に危険にさらされ得るリスクが依然存在する。
【0007】
これに関して、共有秘密キーが、ECU間で静的であるため、一度でも共有秘密キーを危険にさらすことにより、攻撃者は、全ての関連付けられるECUを攻撃することが可能になり得る。例えば、危険にさらされた秘密キーに基づいて、攻撃者は、CANインジェクション攻撃を実施し、スプーフィング/フェイク信号を注入又は送信して、ターゲットECUによって処理される情報を操作し得る。これにより、攻撃者は、ターゲット車両の重要な安全機能、例えば、車両のブレーキをオフにすること、エアバッグ展開をトリガすること、車両構成要素に誤った測定値を与えさせること、及び同種のものを制御することが可能になる。
【0008】
少なくとも上記理由を考慮して、車両構成要素間、特に、ECU及び他の車両構成要素間における向上したセキュアなCAN通信を提供する必要がある。
【発明の概要】
【0009】
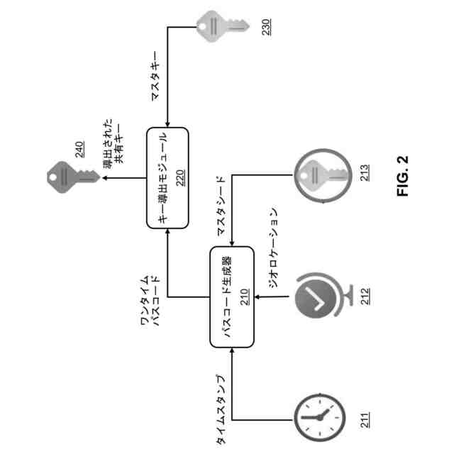
本開示と整合する例示的な実施形態は、車両がイグニッションオフ(IG-OFF)状態にあるときに存在せず、且つ車両がイグニッションオン(IG-O)状態に入る度に変わる共有秘密キーを動的に導出するための方法、システム、及び装置を提供し、それによって、車両構成要素間における向上したCAN通信を提供する。
【0010】
実施形態によれば、送信機及び受信機間でセキュアなCAN通信を提供するための方法が提供される。方法は、送信機の少なくとも1つの処理ユニットによって、ワンタイムパスコード(OTP)を生成することと、送信機の少なくとも1つの処理ユニットによって、送信機及び受信機に事前に提供されたマスタキーを取得することと、送信機の少なくとも1つの処理ユニットによって、OTP及びマスタキーに基づいて共有キーを導出することと、送信機の少なくとも1つの処理ユニットによって、導出された共有キーに基づいてメッセージ認証コード(MAC)を生成することと、送信機の少なくとも1つの処理ユニットによって、MACをメッセージに付加することと、送信機の少なくとも1つの処理ユニットによって、CANバスを介して、付加されたメッセージを受信機に送信することと、を含み得る。
(【0011】以降は省略されています)
この特許をJ-PlatPat(特許庁公式サイト)で参照する
関連特許
トヨタ自動車株式会社
車両
5日前
トヨタ自動車株式会社
車両
1日前
トヨタ自動車株式会社
車両
1日前
トヨタ自動車株式会社
電池
5日前
トヨタ自動車株式会社
電動車
1日前
トヨタ自動車株式会社
電解液
1日前
トヨタ自動車株式会社
電動車
1日前
トヨタ自動車株式会社
電動車
1日前
トヨタ自動車株式会社
サーバ
9日前
トヨタ自動車株式会社
回転子
1日前
トヨタ自動車株式会社
電動車
3日前
トヨタ自動車株式会社
ロータ
3日前
トヨタ自動車株式会社
蓄電装置
5日前
トヨタ自動車株式会社
蓄電装置
2日前
トヨタ自動車株式会社
蓄電装置
5日前
トヨタ自動車株式会社
塗布装置
3日前
トヨタ自動車株式会社
制御装置
5日前
トヨタ自動車株式会社
電源装置
1日前
トヨタ自動車株式会社
二次電池
5日前
トヨタ自動車株式会社
蓄電装置
3日前
トヨタ自動車株式会社
蓄電装置
5日前
トヨタ自動車株式会社
蓄電セル
3日前
トヨタ自動車株式会社
蓄電セル
3日前
トヨタ自動車株式会社
蓄電装置
2日前
トヨタ自動車株式会社
制御装置
5日前
トヨタ自動車株式会社
蓄電装置
5日前
トヨタ自動車株式会社
蓄電装置
1日前
トヨタ自動車株式会社
切断装置
1日前
トヨタ自動車株式会社
検査装置
5日前
トヨタ自動車株式会社
蓄電装置
9日前
トヨタ自動車株式会社
蓄電装置
5日前
トヨタ自動車株式会社
制御装置
1日前
トヨタ自動車株式会社
制御装置
5日前
トヨタ自動車株式会社
電動車両
1日前
トヨタ自動車株式会社
駆動装置
1日前
トヨタ自動車株式会社
蓄電セル
1日前
続きを見る
他の特許を見る