TOP
|
特許
|
意匠
|
商標
特許ウォッチ
Twitter
他の特許を見る
10個以上の画像は省略されています。
公開番号
2025147032
公報種別
公開特許公報(A)
公開日
2025-10-03
出願番号
2025130001,2022158108
出願日
2025-08-04,2022-09-30
発明の名称
車両制御装置、それを備えた車両および車両の制御方法
出願人
トヨタ自動車株式会社
代理人
弁理士法人深見特許事務所
主分類
B60L
53/14 20190101AFI20250926BHJP(車両一般)
要約
【課題】多くの充電設備での車両の充電を可能にする。
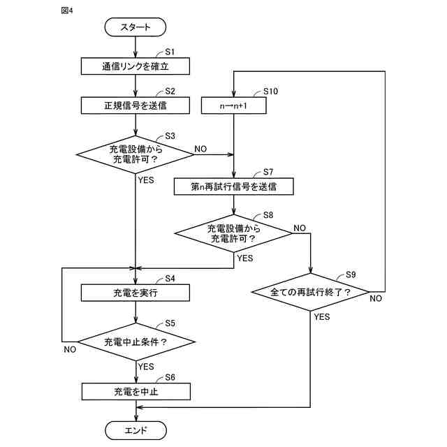
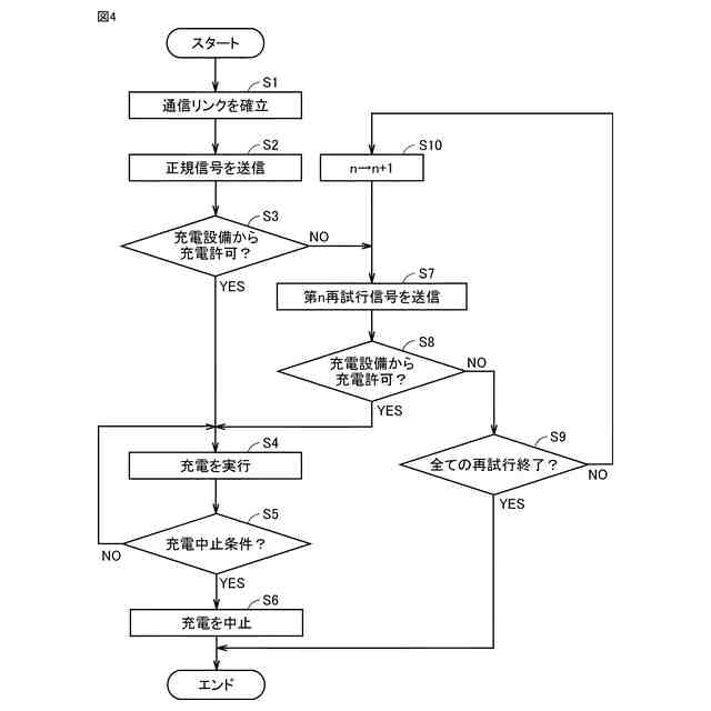
【解決手段】ECU10は、充電規格に定められた通信シーケンスに従って車両1と充電設備2との間での信号の送受信を制御するプロセッサ101を備える。プロセッサ101は、充電設備2から車両1への電力供給の開始に先立ち、充電設備2から充電許可を取得するための正規信号を充電設備2に送信する。プロセッサ101は、充電許可を取得した場合、充電設備2からの電力供給によるバッテリ14の充電制御を開始する一方で、充電許可2を取得しなかった場合、充電許可の取得を再び試行するために正規信号のうちの一部が修正された再試行信号を充電設備2に送信する。
【選択図】図4
特許請求の範囲
【請求項1】
車両の外部に設けられた充電設備から供給される電力により前記車両に搭載された蓄電装置を充電するための制御を実行する車両制御装置であって、
充電規格に定められた通信シーケンスに従って前記充電設備との間での信号の送受信を制御するプロセッサを備え、
前記プロセッサは、前記充電設備から前記車両への電力供給の開始に先立ち、前記充電設備から充電許可を取得するための第1信号を前記充電設備に送信し、
前記第1信号は、前記充電設備から前記車両への充電条件を示す充電フレームを含み、
前記プロセッサは、
前記充電許可を取得した場合、前記充電設備からの電力供給による前記蓄電装置の充電制御を開始する一方で、
前記充電許可を取得しなかった場合、前記充電許可の取得を再び試行するために前記第1信号のうちの一部が修正された第2信号を前記充電設備に送信する、車両制御装置。
続きを表示(約 950 文字)
【請求項2】
前記第1信号は、前記車両から前記充電設備への放電条件を示す放電フレームを更に含み、
前記第1信号と前記第2信号との差異は、前記放電フレームである、請求項1に記載の車両制御装置。
【請求項3】
前記第2信号は、前記充電フレームと、前記放電フレームとを含み、
前記第2信号における前記放電条件には無効値が設定されている、請求項2に記載の車両制御装置。
【請求項4】
前記第2信号は、前記充電フレームを含む一方で、前記放電フレームを含まない、請求項2に記載の車両制御装置。
【請求項5】
前記放電条件は、各々前記充電規格に定められた、放電電圧の下限値と、放電電流の上限値と、放電下限電池残容量と、放電シーケンス管理番号とのうちの少なくとも1つを含む、請求項2~4のいずれか1項に記載の車両制御装置。
【請求項6】
前記第1信号は、前記充電規格において必須ではないと定められた任意条件を示す任意フレームを更に含み、
前記第1信号と前記第2信号との差異は、前記任意フレームである、請求項1に記載の車両制御装置。
【請求項7】
前記第2信号は、前記充電フレームと、前記任意フレームとを含み、
前記第2信号における前記任意条件には無効値が設定されている、請求項6に記載の車両制御装置。
【請求項8】
前記第2信号は、前記充電フレームを含む一方で、前記任意フレームを含まない、請求項6に記載の車両制御装置。
【請求項9】
前記任意条件は、前記車両の識別番号およびサービスコードのうちの少なくとも一方を含む、請求項6~8のいずれか1項に記載の車両制御装置。
【請求項10】
前記第1信号は、前記車両から前記充電設備への放電条件を示す放電フレームを更に含み、
前記第1信号における前記充電条件および前記放電条件のうちの少なくとも一方は、前記充電規格において必須ではないと定められた任意項目を含み、
前記第1信号と前記第2信号との差異は、前記任意項目である、請求項1に記載の車両制御装置。
(【請求項11】以降は省略されています)
発明の詳細な説明
【技術分野】
【0001】
本開示は、車両制御装置、それを備えた車両および車両の制御方法に関し、より特定的には、車両外部に設けられた充電設備から供給される電力により車載の蓄電装置を充電する技術に関する。
続きを表示(約 2,000 文字)
【背景技術】
【0002】
特開2020-127296号公報(特許文献1)に開示された車両制御装置は、車両と充電器との間で送受信される信号の入出力を行うように構成された入出力部と、蓄電装置を充電するための規定の通信シーケンスに従って入出力部を介した信号の送受信を制御する制御部とを備える。通信シーケンスでは、車両が充電器から受信した信号が表す内容に基づいて車両が通信シーケンスを進めることが規定されている。制御部は、充電器から受信した信号が予め定められた特定信号である場合には、特定信号が表す内容に拘わらず通信シーケンスを進める。
【先行技術文献】
【特許文献】
【0003】
特開2020-127296号公報
特開2020-108244号公報
【発明の概要】
【発明が解決しようとする課題】
【0004】
一般に、電気自動車、プラグインハイブリッド車等の車両の充電は、充電規格に定められた一連の処理を車両と充電設備とが協働して実行することにより進められる。その際、充電規格に定められた通信シーケンスに従って車両と充電設備との間で各種信号が送受信される。車両と充電設備とは、当該通信シーケンスを実行することで、通信リンクを確立したり充電条件を決定したり充電準備の成否を相互に確認したりすることができる。
【0005】
市場には様々な充電設備が存在する。一部の充電設備では、車両と充電設備との相互接続性に起因して車両を充電できない場合がある。より特定的には、たとえ車両が充電規格に定められた通信シーケンスに従って信号を送受信していたとしても、充電設備側の要因で充電が許可されない場合がある。この場合の相互接続性低下の主要因は、一部の充電設備の製造業者が充電規格に独自の基準を導入したり充電規格を独自に解釈したりしているためと推測される。車両のユーザにとっての利便性の観点からは、できるだけ多くの充電設備で車両を充電可能にすることが望ましい。
【0006】
本開示は上記課題を解決するためになされたものであり、本開示の目的の1つは、多くの充電設備での車両の充電を可能にすることである。
【課題を解決するための手段】
【0007】
(1)本開示の一態様に係る車両制御装置は、車両の外部に設けられた充電設備から供給される電力により車両に搭載された蓄電装置を充電するための制御を実行する。車両制御装置は、充電規格に定められた通信シーケンスに従って充電設備との間での信号の送受信を制御するプロセッサを備える。プロセッサは、充電設備から車両への電力供給の開始に先立ち、充電設備から充電許可を取得するための第1信号を充電設備に送信する。第1信号は、充電設備から車両への充電条件を示す充電フレームを含む。プロセッサは、充電許可を取得した場合、充電設備からの電力供給による蓄電装置の充電制御を開始する一方で、充電許可を取得しなかった場合、充電許可の取得を再び試行するために第1信号のうちの一部が修正された第2信号を充電設備に送信する。
【0008】
(2)第1信号は、車両から充電設備への放電条件を示す放電フレームを更に含む。第1信号と第2信号との差異は、放電フレームである。(3)第2信号は、充電フレームと、放電フレームとを含む。第2信号における放電条件には無効値が設定されている。(4)第2信号は、充電フレームを含む一方で、放電フレームを含まない。(5)放電条件は、各々充電規格に定められた、放電電圧の下限値と、放電電流の上限値と、放電下限電池残容量と、放電シーケンス管理番号とのうちの少なくとも1つを含む。
【0009】
(6)第1信号は、充電規格において必須ではないと定められた任意条件を示す任意フレームを更に含む。第1信号と第2信号との差異は、任意フレームである。(7)第2信号は、充電フレームと、任意フレームとを含む。第2信号における任意条件には無効値が設定されている。(8)第2信号は、充電フレームを含む一方で、任意フレームを含まない。(9)任意条件は、車両の識別番号およびサービスコードのうちの少なくとも一方を含む。
【0010】
(10)第1信号は、車両から充電設備への放電条件を示す放電フレームを更に含む。第1信号における充電条件および放電条件のうちの少なくとも一方は、充電規格において必須ではないと定められた任意項目を含む。第1信号と第2信号との差異は、任意項目である。(11)第2信号は、充電フレームと、放電フレームとを含む。第2信号における任意項目には無効値が設定されている。(12)任意項目は、充電上限電池残容量、放電終了目安時間および車両供給可能電力量のうちの少なくとも1つを含む。
(【0011】以降は省略されています)
この特許をJ-PlatPat(特許庁公式サイト)で参照する
関連特許
個人
カーテント
4か月前
個人
タイヤレバー
2か月前
個人
前輪キャスター
1か月前
個人
車窓用防虫網戸
4か月前
個人
上部一体型自動車
1日前
個人
タイヤ脱落防止構造
1か月前
個人
車輪清掃装置
4か月前
個人
ホイルのボルト締結
3か月前
個人
ルーフ付きトライク
1か月前
日本精機株式会社
表示装置
1か月前
日本精機株式会社
表示装置
2か月前
日本精機株式会社
表示装置
2か月前
日本精機株式会社
表示装置
2か月前
井関農機株式会社
作業車両
3か月前
個人
車両通過構造物
2か月前
個人
マスタシリンダ
8日前
井関農機株式会社
作業車両
3か月前
個人
キャンピングトライク
3か月前
個人
キャンピングトレーラー
3か月前
個人
車両用スリップ防止装置
3か月前
個人
アクセルのソフトウェア
3か月前
個人
乗合路線バスの客室装置
2か月前
個人
ワイパーゴム性能保持具
4か月前
株式会社ニフコ
保持装置
3か月前
個人
音声ガイド、音声サービス
2か月前
井関農機株式会社
収穫作業車両
4か月前
個人
円湾曲ホイール及び球体輪
2か月前
日本精機株式会社
車室演出装置
1か月前
株式会社ニフコ
照明装置
1か月前
個人
車載小物入れ兼雨傘収納具
3か月前
日本精機株式会社
車載表示装置
3か月前
株式会社クラベ
ヒータユニット
4か月前
株式会社ニフコ
収納装置
25日前
日本精機株式会社
車載表示装置
16日前
株式会社豊田自動織機
産業車両
2か月前
トヨタ自動車株式会社
車両
3か月前
続きを見る
他の特許を見る