TOP
|
特許
|
意匠
|
商標
特許ウォッチ
Twitter
他の特許を見る
公開番号
2025146674
公報種別
公開特許公報(A)
公開日
2025-10-03
出願番号
2025010729
出願日
2025-01-24
発明の名称
サーバ上のデータベースにおけるデータの匿名化
出願人
トヨタ自動車株式会社
代理人
個人
,
個人
,
個人
,
個人
,
個人
,
個人
,
個人
主分類
G08G
1/00 20060101AFI20250926BHJP(信号)
要約
【課題】サーバ上のデータベース内のデータを匿名化する、方法、デバイス、及びコンピュータプログラムを提供する。
【解決手段】車両から取得されるデータは、サーバのデータベースに記憶される。車両識別番号は、データベース内のデータから除去される。データベース内のデータに含まれる少なくとも1つの特定パラメータは、匿名化データを作成するために変更される。匿名化データに対するアクセスは、ユーザに提供される。シミュレーション用の1つ以上のファイルは、匿名化データを使用して作成される。
【選択図】図4
特許請求の範囲
【請求項1】
プロセッサによってサーバ上のデータベース内のデータを匿名化する方法であって、
車両から取得されるデータをサーバ上のデータベースに記憶することと、
前記データベース内の前記データから車両識別番号を除去することと、
匿名化データを作成するために、前記データベース内の前記データに含まれる少なくとも1つの特定パラメータを変更することと、
を含む、
方法。
続きを表示(約 1,200 文字)
【請求項2】
前記匿名化データを使用してシミュレーション用の1つ以上のファイルを作成することを更に含む、
請求項1に記載の方法。
【請求項3】
データ取得に関する要求を受信することと、
前記匿名化データに対するアクセスを提供することと、
を更に含む、
請求項1又は請求項2に記載の方法。
【請求項4】
前記データ取得に関する前記要求の前記受信は、前記サーバ上の前記データベースに対するアクセス権を有しているアプリケーションプログラミングインターフェース(API)から前記要求を受信することを含む、
請求項3に記載の方法。
【請求項5】
前記少なくとも1つの特定パラメータの前記変更は、タイムスタンプ値を変更することを含む、
請求項1又は請求項2に記載の方法。
【請求項6】
前記タイムスタンプ値の前記変更は、データのサブセットにおいて、前記データのサブセットにおけるフレームから最初のフレームのタイムスタンプ値を変更して、前記データのサブセットにおける次のフレームが前記最初のフレームからの相対的なオフセットを有する状態で、前記最初のフレームの前記タイムスタンプ値を時間0にすることを含む、
請求項5に記載の方法。
【請求項7】
前記匿名化データの前記作成は、前記車両の運動及び位置のデータを用いて前記匿名化データを作成することを含み、前記運動及び位置のデータは、速度データ、加速度データ、緯度データ、経度データ、向きデータ、又は相対的な時間オフセットのうちの少なくとも1つを含む、
請求項1又は請求項2に記載の方法。
【請求項8】
サーバ上のデータベース内のデータを匿名化するデバイスであって、
コンピュータ可読命令を記憶するメモリと、
前記メモリに接続されたプロセッサと、
を備え、前記プロセッサは、前記コンピュータ可読命令を実行して動作を行って、
前記サーバ上に記憶されたデータベース内のデータから車両識別番号を除去し、
匿名化データを作成するために、前記データベース内の前記データに含まれる少なくとも1つの特定パラメータを変更するように構成されている、デバイス。
【請求項9】
前記プロセッサは更に、前記匿名化データを使用してシミュレーション用の1つ以上のファイルを作成するように構成されている、
請求項8に記載のデバイス。
【請求項10】
前記プロセッサは更に、
データ取得に関する要求を受信し、
前記匿名化データに対するアクセスを提供するように構成されている、
請求項8又は請求項9に記載のデバイス。
(【請求項11】以降は省略されています)
発明の詳細な説明
【背景技術】
【0001】
インテリジェントドライビング機能に対する市場の需要が高まっており、安全性は、インテリジェントドライビングに対する顧客の信用を勝ち取るための重要な影響因子である。安全性テストは、現地テストと、一般道路性能検証と、開発の初期段階での仮想検証と、を含む。仮想シーンのシミュレーションの度合は、先進運転支援システム(ADAS)、及び自律運転システムの安全性能検証に関する網羅性を決定する。ADASシステム及び自動運転システムの現在の開発プロセスは、MIL(モデルインループ)、SIL(ソフトウェアインループ)、HIL(ハードウェアインループ)、DIL(ドライバインループ)、及びVIL(ホールビークルインループ)を通過することを必要とする。運転シーンライブラリは、開発プロセスにおける重要な部分であって、開発プロセスを通じて実行される。したがって、現実の交通環境に近い網羅的なシーンの確立が重要である。
続きを表示(約 2,700 文字)
【0002】
自律車両(AV)システムは、複雑であって、エンジニアをサポートするための堅牢なテスト及び検証のフレームワークを必要とする。明確に定義されたプロセス及びインフラストラクチャは、コード内のバグを回避して経時的な品質を維持するために、ソフトウェア開発に、特に、大規模な開発者基盤に利用可能である。継続的インテグレーションを通じて捕らえる自動回帰は、ソフトウェアの関連機能を定期的にテストすることによって全体的な信頼性を保証する構成要素である。仮想テスト運転シミュレーションにおいて使用されるシナリオの動的コンテンツは、OpenScenarioファイルを使用して記述可能である。OpenScenarioは、運転シミュレーションにおける動的コンテンツの記述に関するデータモデル、仕様、及び例を提供する。OpenScenarioは、運転シミュレーション、交通シミュレーション、仮想開発、運転支援機能のテスト及び検証、自動運転及び自律運転において使用される。OpenScenarioファイルは、道路上で動いているか又は道路と相互に作用するエンティティを記述する。シナリオの動的コンテンツは、交通エンティティ、例えば、車両、歩行者、インフラストラクチャ、エッジデバイス、及び自転車の機動などの情報を含む。
【0003】
OpenScenarioフォーマットでのシナリオファイルは、ローカル/クラウド環境における継続的インテグレーション(CI)テスト及びシミュレーションでの使用などの様々な使用法を有する。継続的インテグレーションにより、イテレーションは、システムのビルド、及びアーティファクトリポジトリへの展開アーティファクトの公開をサポートすることができる。例えば、市場データ収集(MDC)サーバは、運転中に車両のセンサによって取得されるデータを記憶する。シミュレーション用のOpenScenarioファイルを作成するために、データにアクセスする必要がある。しかしながら、MDCサーバ上のデータベース内のデータは、タイムスタンプ情報などの機密のL4(高機密)データ、すなわち、PII(個人識別用情報)を含む。PIIは、個人の識別情報を識別又は追跡するために使用され得る任意の情報を含む個人に関する任意の情報、及び個人にリンクされるか又はリンク可能である任意の他の情報である。したがって、MDCデータベース内のL4データは、特別な権限を有するユーザのみによってアクセス可能であって、OpenScenarioファイルは、PIIを含むデータに基づいて作成可能ではない。
【発明の概要】
【0004】
少なくとも実施形態では、サーバ上のデータベース内のデータを匿名化する方法は、車両から取得されるデータをデータベースに記憶することと、データベース内のデータから車両識別番号を除去することと、匿名化データを作成するために、データベース内のデータに含まれる少なくとも1つの特定パラメータを変更することと、を含む。
【0005】
少なくとも1つの実施形態では、データを匿名化するデバイスは、コンピュータ可読命令を記憶するメモリと、メモリに接続されたプロセッサと、を含み、プロセッサは、コンピュータ可読命令を実行して、サーバに記憶されたデータベース内のデータから車両識別番号を除去し、匿名化データを作成するために、データベース内のデータに含まれる少なくとも1つの特定パラメータを変更するように構成されている。
【0006】
少なくとも1つの実施形態では、コンピュータプログラムであって、プロセッサによって実行されると、車両から取得されるデータをデータベースに記憶し、データベース内のデータから車両識別番号を除去し、匿名化データを作成するために、データベース内のデータに含まれる少なくとも1つの特定パラメータを変更するように、プロセッサに動作を行わせる、コンピュータプログラム。
【図面の簡単な説明】
【0007】
本開示の態様は、以下の詳細な説明を添付の図を用いて読むことで最もよく理解される。業界における慣行に従って、様々な特徴は縮尺通りに描かれているわけではないことに留意されたい。実際、説明を明確にするために、様々な特徴の寸法は増減可能である。
【0008】
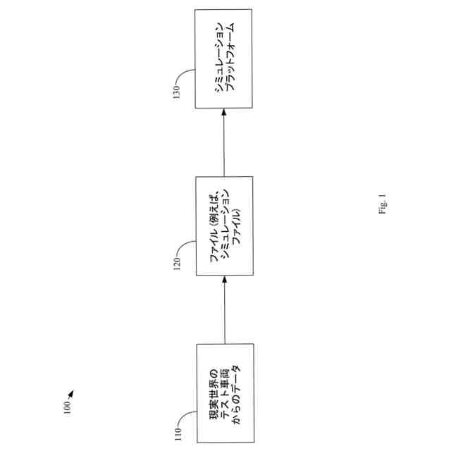
図1は、少なくとも1つの実施形態に係るシミュレーションファイルの生成及び使用に関するプロセスのフロー図である。
図2は、少なくとも1つの実施形態に係るデータ匿名化の概略図である。
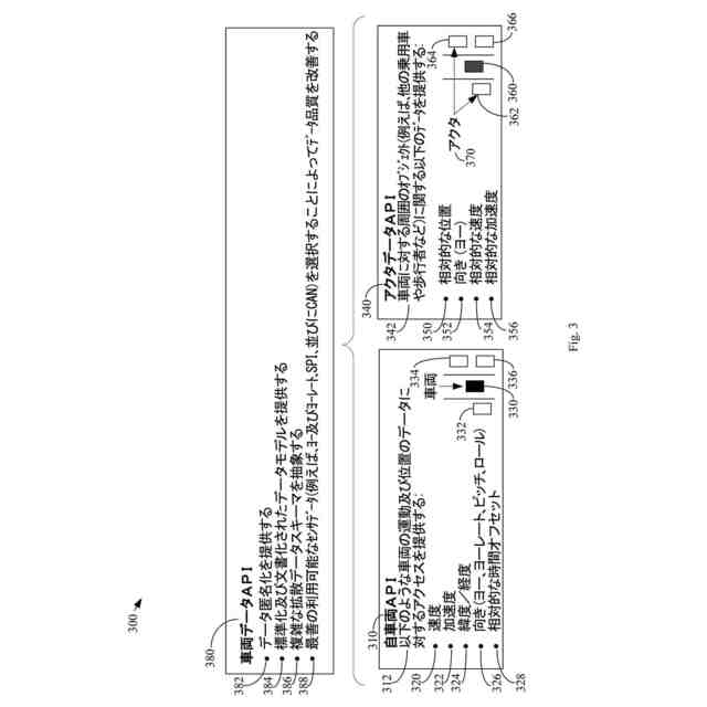
図3は、少なくとも1つの実施形態に係る車両データAPIの動作の図である。
図4は、少なくとも1つの実施形態に係るシミュレーションファイルを作成するためにデータを匿名化する方法のフローチャートである。
図5は、少なくとも1つの実施形態に係るプロセッサベースのシステムのハイレベル機能ブロック図である。
【発明を実施するための形態】
【0009】
本明細書に記載される実施形態は、提供される主題の様々な特徴を実装する例を記載する。本開示を簡略化するために、構成要素、値、動作、材料、配置、又は同種のものに関する例が以下に記載される。もちろん、これらは、例であって限定することを意図したものではない。他の構成要素、値、動作、材料、配置、又は同種のものが想定される。例えば、以下の説明での第2の特徴の上方又は上における第1の特徴の形成は、第1及び第2の特徴が直接的に接触して形成されている実施形態を含み、第1及び第2の特徴が直接的な接触を行えないように、更なる特徴が第1及び第2の特徴間に形成されている実施形態を含む。加えて、本開示は、様々な例で参照番号及び/又は参照文字を繰り返す。この繰り返しは、簡略化及び明確化を目的としたものであって、説明される様々な実施形態及び/又は構成間の関係を規定するものではない。
【0010】
更に、「下方」、「下」、「~よりも下」、「上方」、「~よりも上」、及び同種のものなどの空間的に相対的な用語は、図に示されるような別の要素又は特徴に対する或る要素又は特徴の関係を記載するように、説明を容易にするために本明細書で使用される。空間的に相対的な用語は、図で描写される向きに加えて、使用又は動作時におけるデバイスの様々な向きを包含することを意図したものである。装置は、違う向き(90度回転又は他の向き)であり、本明細書で使用される空間的に相対的な記述は、それに従って同様に解釈される。
(【0011】以降は省略されています)
この特許をJ-PlatPat(特許庁公式サイト)で参照する
関連特許
トヨタ自動車株式会社
車両
1日前
トヨタ自動車株式会社
車両
1日前
トヨタ自動車株式会社
電動車
1日前
トヨタ自動車株式会社
電解液
1日前
トヨタ自動車株式会社
回転子
1日前
トヨタ自動車株式会社
電動車
1日前
トヨタ自動車株式会社
電動車
1日前
トヨタ自動車株式会社
切断装置
1日前
トヨタ自動車株式会社
蓄電装置
2日前
トヨタ自動車株式会社
蓄電セル
1日前
トヨタ自動車株式会社
蓄電装置
2日前
トヨタ自動車株式会社
蓄電装置
1日前
トヨタ自動車株式会社
駆動装置
1日前
トヨタ自動車株式会社
電源装置
1日前
トヨタ自動車株式会社
制御装置
1日前
トヨタ自動車株式会社
電動車両
1日前
トヨタ自動車株式会社
育苗装置
2日前
トヨタ自動車株式会社
積層構造体
1日前
トヨタ自動車株式会社
シフト機構
1日前
トヨタ自動車株式会社
電気自動車
1日前
トヨタ自動車株式会社
電極積層体
2日前
トヨタ自動車株式会社
電池パック
1日前
トヨタ自動車株式会社
駐車支援方法
1日前
トヨタ自動車株式会社
コネクタ構造
1日前
トヨタ自動車株式会社
水素貯蔵装置
2日前
トヨタ自動車株式会社
車両診断装置
1日前
トヨタ自動車株式会社
空間評価装置
1日前
トヨタ自動車株式会社
充電システム
1日前
トヨタ自動車株式会社
車両制御装置
2日前
トヨタ自動車株式会社
車両制御装置
1日前
トヨタ自動車株式会社
情報処理装置
1日前
トヨタ自動車株式会社
熱管理システム
1日前
トヨタ自動車株式会社
熱管理システム
1日前
トヨタ自動車株式会社
熱管理システム
1日前
トヨタ自動車株式会社
車載用制御装置
2日前
トヨタ自動車株式会社
車両の制御装置
2日前
続きを見る
他の特許を見る