TOP
|
特許
|
意匠
|
商標
特許ウォッチ
Twitter
他の特許を見る
公開番号
2025143839
公報種別
公開特許公報(A)
公開日
2025-10-02
出願番号
2024043294
出願日
2024-03-19
発明の名称
水素貯蔵装置
出願人
トヨタ自動車株式会社
代理人
弁理士法人 快友国際特許事務所
主分類
F17C
5/06 20060101AFI20250925BHJP(ガスまたは液体の貯蔵または分配)
要約
【課題】複数の水素タンクに貯蔵されている水素ガスを有効的に利用することができる技術を提供する。
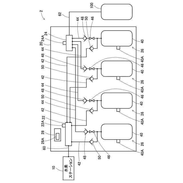
【解決手段】水素貯蔵装置は、複数の水素タンクと、複数の水素タンクのそれぞれに対応する複数の供給配管であって、それぞれが、水素タンクと水素タンク内の水素が供給される供給先とを接続する複数の供給配管と、複数の供給配管のそれぞれに設けられている複数の電磁弁と、複数の電磁弁の動作を制御して、供給先に水素を供給する水素供給運転を実行可能である制御装置と、を備えてもよい。制御装置は、水素供給運転において、複数の電磁弁のうちの第1の電磁弁のみを開状態に設定すると共に、第1の電磁弁以外の電磁弁を閉状態に設定して、所定条件が成立する場合に、第1の電磁弁として設定される電磁弁を変更する。
【選択図】図2
特許請求の範囲
【請求項1】
水素貯蔵装置であって、
複数の水素タンクと、
前記複数の水素タンクのそれぞれに対応する複数の供給配管であって、それぞれが、前記水素タンクと前記水素タンク内の水素ガスが供給される供給先とを接続する前記複数の供給配管と、
前記複数の供給配管のそれぞれに設けられている複数の電磁弁と、
前記複数の電磁弁の動作を制御して、供給先に水素ガスを供給する水素供給運転を実行可能である制御装置と、を備え、
前記制御装置は、前記水素供給運転において、
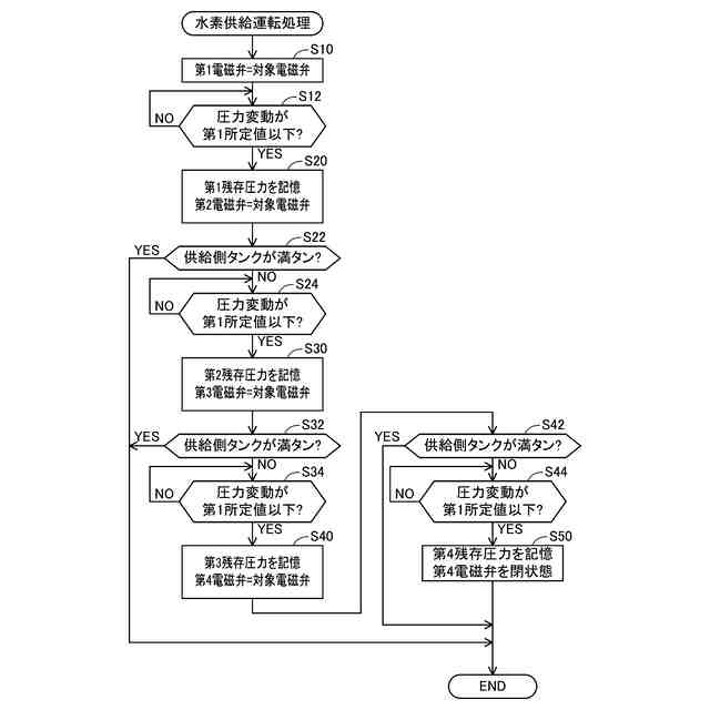
前記複数の電磁弁のうちの一部を対象電磁弁に設定して開状態にすると共に、前記対象電磁弁以外の電磁弁を閉状態にし、
所定条件が成立する場合に、前記対象電磁弁として設定される前記電磁弁を変更する、
水素貯蔵装置。
続きを表示(約 790 文字)
【請求項2】
前記対象電磁弁に対応する前記水素タンクのタンク圧力の変動量が所定値以下になる場合に、前記所定条件は成立する、請求項1に記載の水素貯蔵装置。
【請求項3】
前記制御装置は、前記水素供給運転の開始時におけるタンク圧力が小さい前記水素タンクに対応する前記電磁弁から順に、前記対象電磁弁として設定する、請求項1に記載の水素貯蔵装置。
【請求項4】
水素貯蔵装置であって、
複数の水素タンクと、
前記複数の水素タンクのそれぞれに対応する複数の供給配管と、
前記複数の供給配管のそれぞれに設けられている複数の電磁弁と、
前記複数の電磁弁の動作を制御して、供給先に水素ガスを供給する水素供給運転を実行可能である制御装置と、を備え、
前記制御装置は、前記水素供給運転において、
前記複数の電磁弁のうちの第1の対象電磁弁を開状態にすると共に、前記第1の対象電磁弁以外の電磁弁を閉状態にし、
前記第1の対象電磁弁が開状態にされており、かつ、前記第1の対象電磁弁以外の電磁弁が閉状態にされている状態において、前記第1の対象電磁弁に対応する第1の水素タンクからの水素ガス供給量が第1所定量以下となる場合に、前記複数の電磁弁のうちの第2の対象電磁弁を開状態にし、
前記第2の対象電磁弁が開状態にされた後において、前記第1の水素タンクからの前記水素ガス供給量が、前記第1所定量よりも少ない第2所定量以下となる場合に、前記第1の対象電磁弁を閉状態にする、水素貯蔵装置。
【請求項5】
前記水素供給運転開始時において、前記第2の対象電磁弁に対応する前記水素タンクのタンク圧力は、前記第1の対象電磁弁に対応する前記水素タンクのタンク圧力よりも大きい、請求項4に記載の水素貯蔵装置。
発明の詳細な説明
【技術分野】
【0001】
本明細書に開示の技術は、水素貯蔵装置に関する。
続きを表示(約 1,500 文字)
【背景技術】
【0002】
特許文献1に、水素貯蔵装置が記載されている。この水素貯蔵装置は、複数の水素タンクと、複数の水素タンクのそれぞれに対応する複数の供給配管であって、それぞれが、水素タンクと水素タンク内の水素が供給される供給先とを接続する複数の供給配管と、複数の供給配管のそれぞれに設けられている複数の電磁弁と、複数の電磁弁の動作を制御して、供給先に水素を供給する水素供給運転を実行可能である制御装置と、を備えている。
【先行技術文献】
【特許文献】
【0003】
特開2015-132350号公報
【発明の概要】
【発明が解決しようとする課題】
【0004】
特許文献1の水素貯蔵装置では、水素供給運転において、複数の電磁弁が同時に開状態とされる。即ち、複数の水素タンクから供給先へ同時に水素ガスが供給される。このような構成では、複数の水素タンクのタンク圧力が同じように低下していく。そして、複数の水素タンクのタンク圧力が、供給先の圧力と同じレベルまで低下すると、供給先に水素ガスを供給することができなくなる。このとき、各々の水素タンクには同じように水素が残存し、複数の水素タンクの全体として、比較的に多くの水素ガスが残存することになる。
【0005】
本明細書では、複数の水素タンクに貯蔵されている水素ガスを有効的に利用することができる技術を提供する。
【課題を解決するための手段】
【0006】
本明細書が開示する第1の態様では、水素貯蔵装置は、複数の水素タンクと、前記複数の水素タンクのそれぞれに対応する複数の供給配管であって、それぞれが、前記水素タンクと前記水素タンク内の水素ガスが供給される供給先とを接続する前記複数の供給配管と、前記複数の供給配管のそれぞれに設けられている複数の電磁弁と、前記複数の電磁弁の動作を制御して、供給先に水素ガスを供給する水素供給運転を実行可能である制御装置と、を備えてもよい。前記制御装置は、前記水素供給運転において、前記複数の電磁弁のうちの一部を対象電磁弁に設定して開状態にすると共に、前記対象電磁弁以外の電磁弁を閉状態とし、所定条件が成立する場合に、前記対象電磁弁として設定される前記電磁弁を変更する。
【0007】
上記の構成では、水素供給運転において、対象電磁弁のみが開状態になる。この場合、各水素タンクのタンク圧力が異なり得る。このため、水素供給運転において、複数の水素タンクのうちのいずれかの水素タンクのタンク圧力が供給先の圧力よりも高ければ、供給先に水素ガスを供給することができる。従って、複数の水素タンクに貯蔵されている水素ガスを有効的に利用することができる。
【0008】
第2の態様では、上記第1の態様において、前記対象電磁弁に対応する前記水素タンクのタンク圧力の変動量が所定値以下になる場合に、前記所定条件は成立してもよい。
【0009】
上記の構成によると、対象電磁弁に対応する水素タンクから供給先への水素ガスの供給が少なくなるタイミングにおいて、対象電磁弁として設定される電磁弁を変更することができる。
【0010】
第3の態様では、上記第1又は第2の態様において、前記制御装置は、前記水素供給運転の開始時におけるタンク圧力が小さい前記水素タンクに対応する前記電磁弁から順に、前記対象電磁弁として設定してもよい。
(【0011】以降は省略されています)
この特許をJ-PlatPat(特許庁公式サイト)で参照する
関連特許
トヨタ自動車株式会社
電池
今日
トヨタ自動車株式会社
電池
1日前
トヨタ自動車株式会社
車両
9日前
トヨタ自動車株式会社
電池
9日前
トヨタ自動車株式会社
車両
5日前
トヨタ自動車株式会社
車両
5日前
トヨタ自動車株式会社
サーバ
13日前
トヨタ自動車株式会社
ケース
今日
トヨタ自動車株式会社
電動車
7日前
トヨタ自動車株式会社
電動車
5日前
トヨタ自動車株式会社
電動車
1日前
トヨタ自動車株式会社
ロータ
7日前
トヨタ自動車株式会社
回転子
5日前
トヨタ自動車株式会社
電動車
5日前
トヨタ自動車株式会社
電動車
5日前
トヨタ自動車株式会社
電解液
5日前
トヨタ自動車株式会社
塗布装置
7日前
トヨタ自動車株式会社
二次電池
9日前
トヨタ自動車株式会社
育苗装置
6日前
トヨタ自動車株式会社
蓄電装置
9日前
トヨタ自動車株式会社
制御装置
9日前
トヨタ自動車株式会社
電源装置
5日前
トヨタ自動車株式会社
蓄電装置
13日前
トヨタ自動車株式会社
制御装置
9日前
トヨタ自動車株式会社
蓄電装置
5日前
トヨタ自動車株式会社
蓄電装置
6日前
トヨタ自動車株式会社
制御装置
5日前
トヨタ自動車株式会社
蓄電装置
9日前
トヨタ自動車株式会社
冷却構造
12日前
トヨタ自動車株式会社
制御装置
9日前
トヨタ自動車株式会社
蓄電装置
6日前
トヨタ自動車株式会社
切断装置
5日前
トヨタ自動車株式会社
駆動装置
5日前
トヨタ自動車株式会社
蓄電セル
7日前
トヨタ自動車株式会社
蓄電装置
19日前
トヨタ自動車株式会社
電動車両
5日前
続きを見る
他の特許を見る