TOP
|
特許
|
意匠
|
商標
特許ウォッチ
Twitter
他の特許を見る
公開番号
2025146293
公報種別
公開特許公報(A)
公開日
2025-10-03
出願番号
2024046984
出願日
2024-03-22
発明の名称
情報処理装置
出願人
トヨタ自動車株式会社
代理人
弁理士法人秀和特許事務所
主分類
G01C
21/34 20060101AFI20250926BHJP(測定;試験)
要約
【課題】走行中の車両のユーザに認識されやすい効果的な案内を通知する。
【解決手段】車両10のユーザに情報を提供する情報処理装置100であって、車両10から所定の領域までの距離が第1の距離を下回った場合、外部のサーバ装置から、所定の領域に対応する案内情報を取得することと、所定の領域に関連付けられた態様で、所定の期間、案内情報を出力することと、を実行する制御部110を有する。
【選択図】図2
特許請求の範囲
【請求項1】
車両のユーザに情報を提供する情報処理装置であって、
前記車両から所定の領域までの距離が第1の距離を下回った場合に、
外部のサーバ装置から、前記所定の領域に対応する案内情報を取得することと、
前記所定の領域に関連付けられた態様で、所定の期間、前記案内情報を出力することと、
を実行する制御部を有する、
情報処理装置。
続きを表示(約 510 文字)
【請求項2】
前記制御部は、
さらに、前記外部のサーバ装置から、前記所定の領域に関連付けられた、前記案内情報の出力態様に関する情報である第1情報を取得する、
請求項1に記載の情報処理装置。
【請求項3】
前記所定の期間は、前記制御部が前記案内情報を出力してから、前記車両が前記所定の領域から第2の距離以上離れるまでの期間である、
請求項1または2に記載の情報処理装置。
【請求項4】
前記第1情報は、前記案内情報の出力に用いられる配色、線種、または、キャラクターを指定する情報を含み、
前記制御部は、
前記第1情報に基づいて、前記配色、前記線種、または、前記キャラクターが用いられて、前記案内情報が表現された画像を出力する、
請求項2に記載の情報処理装置。
【請求項5】
前記第1情報は、前記案内情報の出力に用いられる音声を指定する情報を含み、
さらに、前記制御部は、
前記第1情報に基づいて、所定の期間、前記音声によって、前記ユーザの目的地までの経路案内を行う、
請求項2に記載の情報処理装置。
発明の詳細な説明
【技術分野】
【0001】
本開示は、走行中のユーザに付近の施設等の情報を通知する技術に関する。
続きを表示(約 1,500 文字)
【背景技術】
【0002】
車両が走行中に所定のエリアに進入した際に、その旨を車両に通知する技術が知られている。
これに関して、例えば、特許文献1には、端末が所定の地理的範囲にチェックインしたと判定すると、当該地理的範囲に関連付けられた地理的範囲を、以降の判定において判定対象外とするチェックイン判定装置が開示されている。
【先行技術文献】
【特許文献】
【0003】
特許第7328985号公報
【発明の概要】
【発明が解決しようとする課題】
【0004】
本開示は、走行中の車両のユーザに認識されやすい効果的な案内を通知することを目的とする。
【課題を解決するための手段】
【0005】
本開示の実施形態の一態様は、
車両のユーザに情報を提供する情報処理装置であって、前記車両から所定の領域までの距離が第1の距離を下回った場合、外部のサーバ装置から、前記所定の領域に対応する案内情報を取得することと、前記所定の領域に関連付けられた態様で、所定の期間、前記案内情報を出力することと、を実行する制御部を有する、情報処理装置である。
【0006】
また、他の態様として、上記の情報処理装置が実行する方法、当該方法をコンピュータに実行させるためのプログラム、または、該プログラムを非一時的に記憶したコンピュータ可読記憶媒体が挙げられる。
【発明の効果】
【0007】
本開示によれば、走行中の車両のユーザに認識されやすい効果的な案内を通知することができる。
【図面の簡単な説明】
【0008】
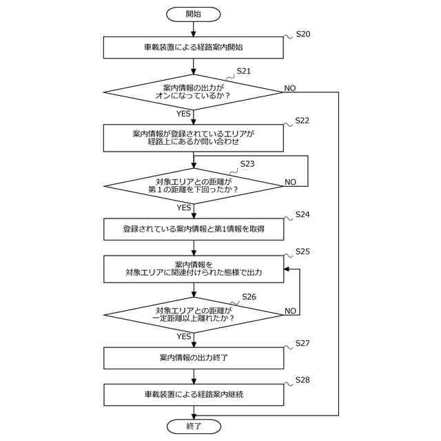
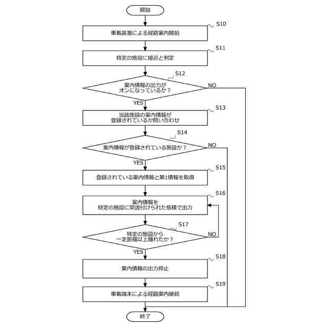
第1の実施形態に係る車載装置が実行する処理の概要を示す図。
第1の実施形態に係る車載装置を含むシステムが有する構成要素を説明する図。
第1の実施形態に係る車載装置の制御部が実行する処理のフローチャート。
第1の実施形態に係る車載装置が出力する案内情報の出力を切り替える画面例を示す図。
第1の実施形態に係る車載装置が出力する案内情報の画面例を示す図。
第2の実施形態に係る車載装置の制御部が実行する処理のフローチャート。
【発明を実施するための形態】
【0009】
(概要)
車両が特定の地理的エリアに接近した際に、その旨を車両のユーザに通知する技術が知
られている。例えば、車両が特定のエリアに進入した際、または、車両が特定の施設に接近した際に、その旨を車載装置から案内情報として通知することがある。しかしながら、この場合、走行中の車両のユーザは、当該案内情報に気づかない恐れがある。このように、従来の案内情報の通知の仕方では、ユーザに対して効果的に案内情報を周知できていない。このような通知を行う装置においては、ユーザに認識されやすい態様で、案内情報を通知できることが望ましい。また、ユーザに対してより効果的に案内情報を通知するためには、案内情報を通知する装置においては、車両のユーザに対して、車両が接近したエリアまたは施設の特色を活かした案内もできることが望ましい。
【0010】
本開示の一態様に係る情報処理装置は、
車両のユーザに情報を提供する情報処理装置であって、前記車両から所定の領域までの距離が第1の距離を下回った場合、外部のサーバ装置から、前記所定の領域に対応する案内情報を取得することと、前記所定の領域に関連付けられた態様で、所定の期間、前記案内情報を出力することと、を実行する制御部を有する。
(【0011】以降は省略されています)
この特許をJ-PlatPat(特許庁公式サイト)で参照する
関連特許
トヨタ自動車株式会社
車両
16日前
トヨタ自動車株式会社
車両
2日前
トヨタ自動車株式会社
車両
6日前
トヨタ自動車株式会社
電池
6日前
トヨタ自動車株式会社
車両
2日前
トヨタ自動車株式会社
電動車
2日前
トヨタ自動車株式会社
モータ
17日前
トヨタ自動車株式会社
回転子
17日前
トヨタ自動車株式会社
電動車
2日前
トヨタ自動車株式会社
電動車
2日前
トヨタ自動車株式会社
電解液
2日前
トヨタ自動車株式会社
ロータ
4日前
トヨタ自動車株式会社
電動車
4日前
トヨタ自動車株式会社
サーバ
10日前
トヨタ自動車株式会社
電動車
16日前
トヨタ自動車株式会社
回転子
2日前
トヨタ自動車株式会社
蓄電セル
4日前
トヨタ自動車株式会社
蓄電セル
4日前
トヨタ自動車株式会社
制御装置
16日前
トヨタ自動車株式会社
蓄電装置
16日前
トヨタ自動車株式会社
蓄電装置
3日前
トヨタ自動車株式会社
蓄電装置
4日前
トヨタ自動車株式会社
塗布装置
4日前
トヨタ自動車株式会社
育苗装置
3日前
トヨタ自動車株式会社
制御装置
6日前
トヨタ自動車株式会社
蓄電装置
3日前
トヨタ自動車株式会社
加熱装置
16日前
トヨタ自動車株式会社
電動車両
2日前
トヨタ自動車株式会社
制御装置
2日前
トヨタ自動車株式会社
制御装置
17日前
トヨタ自動車株式会社
電動車両
16日前
トヨタ自動車株式会社
蓄電装置
2日前
トヨタ自動車株式会社
蓄電装置
16日前
トヨタ自動車株式会社
内燃機関
16日前
トヨタ自動車株式会社
電源装置
2日前
トヨタ自動車株式会社
制御装置
6日前
続きを見る
他の特許を見る