TOP
|
特許
|
意匠
|
商標
特許ウォッチ
Twitter
他の特許を見る
公開番号
2025145536
公報種別
公開特許公報(A)
公開日
2025-10-03
出願番号
2024045755
出願日
2024-03-21
発明の名称
車両制御装置
出願人
トヨタ自動車株式会社
,
株式会社デンソー
代理人
個人
,
個人
,
個人
,
個人
,
個人
,
個人
,
個人
主分類
G08G
1/16 20060101AFI20250926BHJP(信号)
要約
【課題】道路の状態の変化の大きい位置の道路情報の信頼度を判定して、信頼度に応じて、車両を制御する車両制御装置を提供する。
【解決手段】車両制御装置は、車両に搭載されたセンサの検出範囲外の位置の道路情報を取得する取得部と、道路の状態の変化の大きい位置を表す判定情報に基づいて、道路情報の信頼度が高いか又は低いかを判定する判定部と、判定部によって道路情報の信頼度が低いと判定された場合、道路情報の分解能を低く解釈することを決定する決定部と、決定部によって、道路情報の分解能を低く解釈すると決定された場合、分解能が低く解釈された道路情報に基づいて、車両を制御する計画を生成する計画部と、を有する。
【選択図】図2
特許請求の範囲
【請求項1】
車両に搭載されたセンサの検出範囲外の位置の道路情報を取得する取得部と、
道路の状態の変化の大きい位置を表す判定情報に基づいて、前記道路情報の信頼度が高いか又は低いかを判定する判定部と、
前記判定部によって前記道路情報の信頼度が低いと判定された場合、前記道路情報の分解能を低く解釈することを決定する決定部と、
前記決定部によって、前記道路情報の分解能を低く解釈すると決定された場合、分解能が低く解釈された前記道路情報に基づいて、車両を制御する計画を生成する計画部と、
を有する、
ことを特徴とする車両制御装置。
続きを表示(約 680 文字)
【請求項2】
前記判定情報は道路の状態の時間的変化の大きい位置を表しており、前記判定部は、前記道路情報が表す位置が、前記判定情報に表される道路の状態の時間的変化の大きい位置と一致する場合、前記道路情報の信頼度は低いと判定する、請求項1に記載の車両制御装置。
【請求項3】
前記判定情報は道路の状態の時間的変化の大きい位置及び時間帯を表しており、前記判定部は、前記道路情報が表す位置が前記判定情報に表される道路の状態の時間的変化の大きい位置と一致し、且つ、前記道路情報が取得された時刻が前記判定情報に表される道路の状態の時間的変化の大きい時間帯に含まれる場合、前記道路情報の信頼度は低いと判定する、請求項1に記載の車両制御装置。
【請求項4】
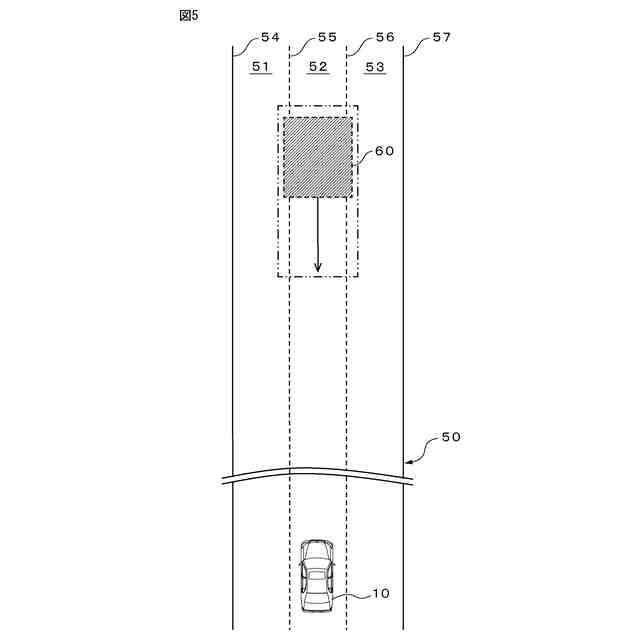
前記道路情報が表す位置と、前記道路情報が表す位置の近傍との間で、道路の状態の変化の大きい位置を表す前記判定情報を生成する生成部を、更に有し、
前記判定部は、前記生成部によって生成された前記判定情報で表される位置と、前記道路情報が表す位置が一致する場合、前記道路情報の信頼度は低いと判定する、請求項1に記載の車両制御装置。
【請求項5】
前記判定情報は道路の曲率半径の変化の大きい位置を表しており、前記判定部は、前記道路情報が表す位置が、前記判定情報に表される曲率半径の変化の大きい位置と一致し、且つ、前記道路情報に含まれる他車両の速度が、基準曲率半径に基づいて推定される基準速度を超える場合、前記道路情報の信頼度は低いと判定する、請求項1に記載の車両制御装置。
発明の詳細な説明
【技術分野】
【0001】
本発明は、車両制御装置に関する。
続きを表示(約 1,000 文字)
【背景技術】
【0002】
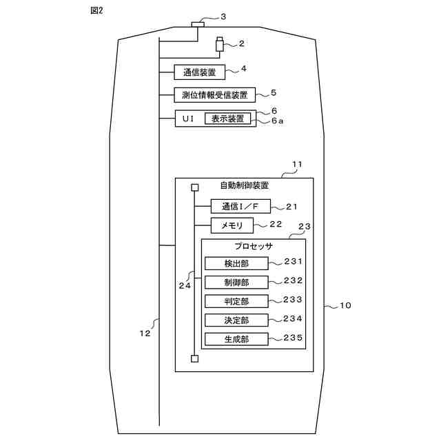
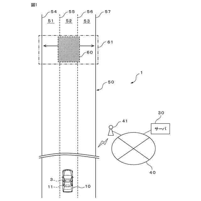
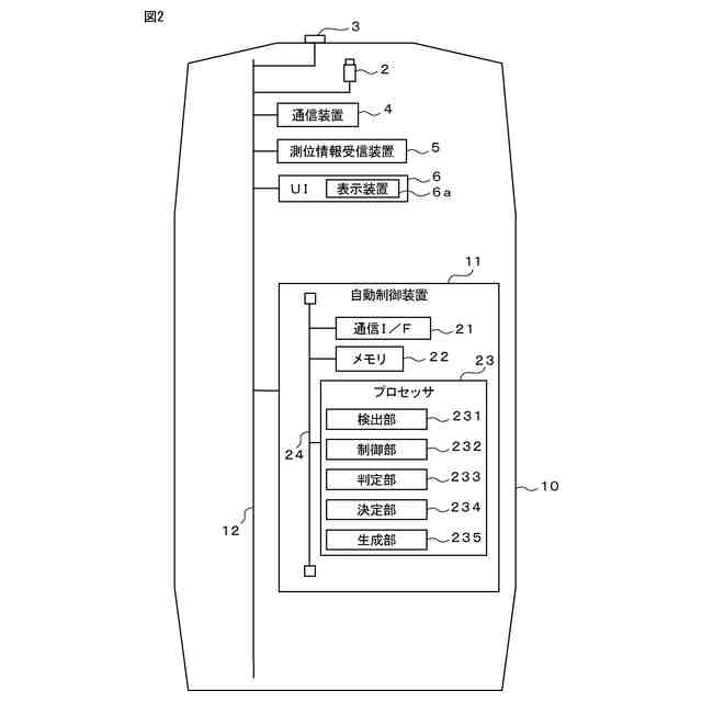
車両に搭載された自動制御装置は、車両の進行方向の前方のセンサの検出範囲外の道路の状態を表す道路情報を、サーバから取得する。
【0003】
サーバは、道路を走行する多数のプローブ車両が検出した車線ごとの道路の状態を取得し、取得した情報を道路情報として車両に送信する。道路情報は、車線ごとの車両の速度、障害物の位置、路面の状態等を含む。例えば自動制御装置は、道路情報に基づいて、走行車線計画を生成する。
【0004】
道路情報は、必ずしも正しいとは限らない。例えば、プローブ車両が検出した道路上の物体の位置が正しくない場合がある。
【0005】
例えば、特許文献1は、所定の視野内の障害物を検出する複数のセンサを含む路側機から障害物情報を受信し、障害物情報の信頼度を判断する装置を提案している。
【先行技術文献】
【特許文献】
【0006】
特開2023-64792号公報
【発明の概要】
【発明が解決しようとする課題】
【0007】
また、道路の状態は時間の経過と共に変化し得るので、車両が道路情報の表す位置に到達した時には、道路の状態は異なっているおそれがある。
【0008】
従って、道路の状態の変化という観点からも、道路情報の信頼度を判定することが好ましい。
【0009】
本開示は、道路の状態の変化の大きい位置の道路情報の信頼度を判定して、信頼度に応じて、車両を制御する車両制御装置を提供することを目的とする。
【課題を解決するための手段】
【0010】
(1)一の実施形態によれば、車両制御装置が提供される。この車両制御装置は、車両に搭載されたセンサの検出範囲外の位置の道路情報を取得する取得部と、道路の状態の変化の大きい位置を表す判定情報に基づいて、道路情報の信頼度が高いか又は低いかを判定する判定部と、記判定部によって道路情報の信頼度が低いと判定された場合、道路情報の分解能を低く解釈することを決定する決定部と、決定部によって、道路情報の分解能を低く解釈すると決定された場合、分解能が低く解釈された道路情報に基づいて、車両を制御する計画を生成する計画部と、を有する、ことを特徴とする。
(【0011】以降は省略されています)
この特許をJ-PlatPat(特許庁公式サイト)で参照する
関連特許
トヨタ自動車株式会社
車両
1日前
トヨタ自動車株式会社
加熱器
1日前
トヨタ自動車株式会社
車両構造
1日前
トヨタ自動車株式会社
制御装置
1日前
トヨタ自動車株式会社
車載装置
1日前
トヨタ自動車株式会社
蓄電装置
1日前
トヨタ自動車株式会社
通話装置
1日前
トヨタ自動車株式会社
三角表示板
1日前
トヨタ自動車株式会社
ガスタンク
1日前
トヨタ自動車株式会社
車載システム
1日前
トヨタ自動車株式会社
情報処理装置
1日前
トヨタ自動車株式会社
情報処理装置
1日前
トヨタ自動車株式会社
電池システム
1日前
トヨタ自動車株式会社
情報処理装置
2日前
トヨタ自動車株式会社
制御システム
1日前
トヨタ自動車株式会社
熱管理システム
1日前
トヨタ自動車株式会社
車両の制御装置
1日前
トヨタ自動車株式会社
車両の制御装置
1日前
トヨタ自動車株式会社
燃料電池システム
1日前
トヨタ自動車株式会社
システムの動作方法
1日前
トヨタ自動車株式会社
車両用ホイール構造
1日前
トヨタ自動車株式会社
車車間充電用ケーブル
1日前
トヨタ自動車株式会社
設定値セットの生成装置
1日前
トヨタ自動車株式会社
車両および検証システム
1日前
トヨタ自動車株式会社
燃料電池車両の制御装置
1日前
トヨタ自動車株式会社
サスペンションロアアーム
1日前
トヨタ自動車株式会社
カイトの離着陸用ガイド装置
1日前
トヨタ自動車株式会社
ハイブリッド車両の制御装置
1日前
トヨタ自動車株式会社
電気自動車とアダプタのセット
1日前
住友理工株式会社
仕切り部材
1日前
トヨタ自動車株式会社
燃料製造方法及び燃料製造装置
1日前
株式会社デンソー
レーダ装置
1日前
トヨタ自動車株式会社
セルスタック及びその製造方法
1日前
トヨタ自動車株式会社
インジケータ及びアウターミラー
1日前
トヨタ自動車株式会社
情報処理装置および情報処理方法
1日前
株式会社アイシン
車両用ドア装置
1日前
続きを見る
他の特許を見る