TOP
|
特許
|
意匠
|
商標
特許ウォッチ
Twitter
他の特許を見る
公開番号
2025153601
公報種別
公開特許公報(A)
公開日
2025-10-10
出願番号
2024056153
出願日
2024-03-29
発明の名称
ガスタンク
出願人
トヨタ自動車株式会社
代理人
弁理士法人 快友国際特許事務所
主分類
F17C
13/08 20060101AFI20251002BHJP(ガスまたは液体の貯蔵または分配)
要約
【課題】本明細書は、ネックマウントをタンク本体から容易に取り外すことができるガスタンクを提供する。
【解決手段】本明細書が開示するガスタンクは、タンク本体、第1ネック、ネックマウント、マウントプレート、プレートボルトを備える。第1ネックは、タンク本体の一端からその軸線に沿って延びており、外周に雄ネジが設けられている。ネックマウントは、タンク本体を装置に固定するための部品であり、第1ネックの雄ネジに螺合する第1雌ネジ孔を有している。マウントプレートは、雄ネジに螺合する第2雌ネジ孔を有しているとともにネックマウントに対向している。プレートボルトは、マウントプレートを軸線に沿ってネックマウントに押し付ける。
【選択図】図3
特許請求の範囲
【請求項1】
タンク本体と、
前記タンク本体の一端から当該タンク本体の軸線に沿って延びており、外周に雄ネジが設けられている第1ネックと、
前記タンク本体を装置に固定するためのネックマウントであって、前記雄ネジに螺合する第1雌ネジ孔を有しているネックマウントと、
前記雄ネジに螺合する第2雌ネジ孔を有しているとともに前記ネックマウントに対向しているマウントプレートと、
前記マウントプレートを前記軸線に平行に前記ネックマウントに押し付けるプレートボルトと、
を備えている、ガスタンク。
続きを表示(約 360 文字)
【請求項2】
前記タンク本体の他端に設けられており、前記軸線に沿って延びている第2ネックと、
前記タンク本体を前記装置に支持させるためのネックブロックであって、窪みを有しており、前記窪みの底に前記第2ネックが通る孔が設けられているネックブロックと、
前記第2ネックの外周に嵌合するとともに、前記窪みに配置されるスライドカラーと、
前記窪みを覆うカバープレートと、
前記カバープレートを前記ネックブロックに固定するカバーボルトであって、前記軸線に沿って前記ネックブロックに締め込まれるカバーボルトと、
を備えている、請求項1に記載のガスタンク。
【請求項3】
前記カバープレートは、前記軸線を通る平面で二分割されている、請求項2に記載のガスタンク。
発明の詳細な説明
【技術分野】
【0001】
本明細書が開示する技術は、ガスタンクに関する。特に、タンク本体を装置に固定するためのネックマウントの取り外しが容易なガスタンクを提供する。
続きを表示(約 2,200 文字)
【背景技術】
【0002】
ガスタンクは、自動車などの装置に固定される。特許文献1に、ガスタンクを装置に固定したときにガスタンクのバルブに加わる力を低減する構造が開示されている。特許文献1に開示されている構造は、タンク本体の口金に取り付けられるアタッチメントと、アタッチメントに取り付けられるネックマウントを備える。ネックマウントが装置に固定される。アタッチメントの外周には、周方向に延びる溝が設けられている。ネックマウントはアタッチメントの溝に嵌合する突条を備えている。この構造によれば、ガスタンクが固定されている装置からネックマウントとアタッチメントを通じて口金に加わる入力モーメントを小さくすることができる。その結果、ガスタンクの口金に局所的に生じる応力を抑制することができる。
【0003】
特許文献1のアタッチメントは、口金の軸線方向で隣り合う第1アタッチメントと第2アタッチメントを含む。第1/第2アタッチメントはいずれもリング状であり、リング内面に雌ネジが設けられている。口金の外周には雄ネジが設けられており、第1/第2アタッチメントの雌ネジが口金の雄ネジに螺合する。第1/第2アタッチメントを相互に密着するように締め込むことで、第1/第2アタッチメントの間にネックマウントが固定されるとともに、第1/第2アタッチメントが口金に対して固定される。すなわちネックマウントが口金に固定される。
【先行技術文献】
【特許文献】
【0004】
特開2017-206042号公報
【発明の概要】
【発明が解決しようとする課題】
【0005】
特許文献1の技術によると、第1/第2アタッチメントを相互に密着するように締め込むと、それらを外す際に大きなトルクが必要になる。すなわち、ネックマウントをタンク本体から取り外す際に大きなトルクが必要になる。本明細書は、ネックマウントをタンク本体から容易に取り外すことができるガスタンクを提供する。なお、タンク本体の軸線方向の端に設けられている円筒(または円柱)の部分を本明細書ではネックと称する。
【課題を解決するための手段】
【0006】
本明細書が開示するガスタンクは、タンク本体、第1ネック、ネックマウント、マウントプレート、プレートボルトを備える。第1ネックは、タンク本体の一端からその軸線に沿って延びており、外周に雄ネジが設けられている。ネックマウントは、タンク本体を装置に固定するための部品であり、第1ネックの雄ネジに螺合する第1雌ネジ孔を有している。マウントプレートは、雄ネジに螺合する第2雌ネジ孔を有しているとともにネックマウントに対向している。プレートボルトは、マウントプレートを軸線に沿ってネックマウントに押し付ける。
【0007】
本明細書が開示するガスタンクのネックマウントとマウントプレートは、特許文献1の第1/第2アタッチメントに類似はするが、相互に締め付ける必要はない。プレートボルトによってマウントプレートをネックマウントに近づけると、ネックマウントの第1雌ネジ孔のネジ溝とマウントプレートの第2雌ネジ孔のネジ溝の間の距離が、雄ネジのピッチの整数倍からずれる。2つのネジ溝の間の距離が雄ネジのピッチの整数倍からずれることで、第1/第2雌ネジ孔のネジ溝がピッチ方向で第1ネックの雄ネジにしっかりと密着し、ネックマウントとマウントプレートが第1ネックに固定される。プレートボルトを緩めると、ネックマウントとマウントプレートのそれぞれを容易に回転させることができ、ネックマウントをガスタンク本体から容易に外すことができる。
【0008】
タンク本体の一端を装置に固定する場合、タンク本体の他端は装置に支持されることが望ましい。タンク本体の他端では、タンク本体の膨張/収縮を許容できることが望ましい。そこで、本明細書が開示するガスタンクは、さらに次の構造を備えることが望ましい。ガスタンクは、さらに、タンク本体の他端に設けられている第2ネック、ネックブロック、スライドカラー、カバープレート、カバーボルトを備える。ネックブロックは、タンク本体を装置に支持させるための部品であり、窪みを有しているとともに、窪みの底に第2ネックが通る孔が設けられている。スライドカラーは、第2ネックの外周に嵌合するとともに、窪みに配置される。カバープレートは窪みを覆う。カバーボルトは、カバープレートをネックブロックに固定する。カバーボルトは、軸線に沿ってネックブロックに締め込まれる。ガスタンクの他端の上記構造によれば、タンク本体の膨張/収縮を許容しつつ、タンク本体の他端が装置に支持される。
【0009】
本明細書が開示する技術の詳細とさらなる改良は以下の「発明を実施するための形態」にて説明する。
【図面の簡単な説明】
【0010】
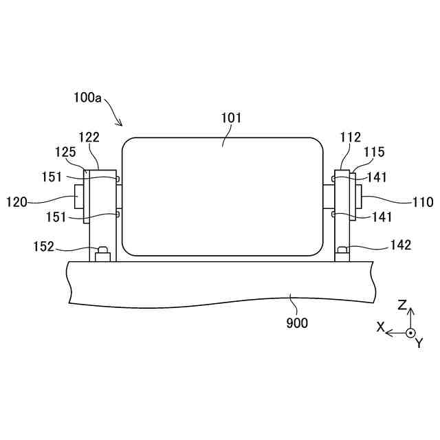
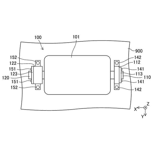
実施例のガスタンク100の全体の平面図である。
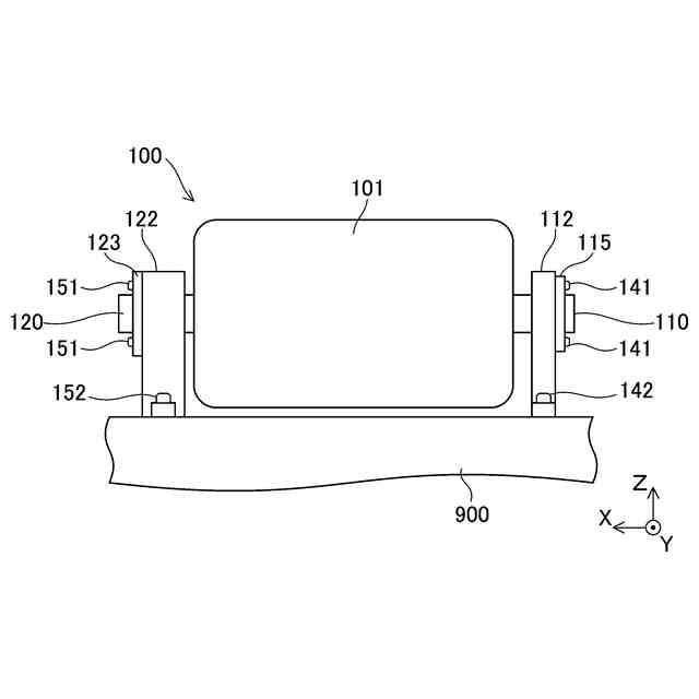
実施例のガスタンク100の全体の側面図である。
第1ネック110の周辺の分解斜視図である。
第2ネック120の周辺の分解斜視図である。
変形例のガスタンク100aの側面図である。
【発明を実施するための形態】
(【0011】以降は省略されています)
この特許をJ-PlatPat(特許庁公式サイト)で参照する
関連特許
トヨタ自動車株式会社
電池
12日前
トヨタ自動車株式会社
電池
6日前
トヨタ自動車株式会社
車両
6日前
トヨタ自動車株式会社
車両
7日前
トヨタ自動車株式会社
配管
7日前
トヨタ自動車株式会社
電動車
7日前
トヨタ自動車株式会社
電動車
6日前
トヨタ自動車株式会社
ロータ
7日前
トヨタ自動車株式会社
制御装置
6日前
トヨタ自動車株式会社
蓄電装置
6日前
トヨタ自動車株式会社
製造設備
12日前
トヨタ自動車株式会社
蓄電装置
6日前
トヨタ自動車株式会社
コネクタ
6日前
トヨタ自動車株式会社
エンジン
6日前
トヨタ自動車株式会社
蓄電セル
14日前
トヨタ自動車株式会社
反応容器
6日前
トヨタ自動車株式会社
学習装置
6日前
トヨタ自動車株式会社
制御装置
7日前
トヨタ自動車株式会社
蓄電装置
6日前
トヨタ自動車株式会社
監視装置
12日前
トヨタ自動車株式会社
制御装置
6日前
トヨタ自動車株式会社
エンジン
7日前
トヨタ自動車株式会社
制御装置
7日前
トヨタ自動車株式会社
判定装置
6日前
トヨタ自動車株式会社
制御装置
7日前
トヨタ自動車株式会社
熱利用回路
今日
トヨタ自動車株式会社
正極活物質
今日
トヨタ自動車株式会社
電気自動車
6日前
トヨタ自動車株式会社
正極活物質
今日
トヨタ自動車株式会社
排気浄化装置
7日前
トヨタ自動車株式会社
作業計画装置
7日前
トヨタ自動車株式会社
車両前部構造
6日前
トヨタ自動車株式会社
情報処理装置
6日前
トヨタ自動車株式会社
スイッチ装置
7日前
トヨタ自動車株式会社
車両前部構造
7日前
トヨタ自動車株式会社
車輪制御構造
6日前
続きを見る
他の特許を見る